[拼音]:jingdian jiasuqi
[外文]:electrostatic accelerator
以静电型高压发生器作为高压电源的加速器。按照加速粒子的不同,它可分为正离子静电加速器(简称质子静电加速器)和电子静电加速器两类。在这些静电型高压发生器中,用得最多的是1931年R.J.范德格喇夫首次研制成的那种类型。采用这种高压发生器的静电加速器称为范德格喇夫加速器,有时也称为范德格喇夫起电机。
早期的范德格喇夫静电高压发生器是动带式的,它的基本工作原理如图1所示。金属薄壁的高压电极由绝缘支柱支撑着。绝缘材料制成的输电带在两个转轴间不停地运动。喷电针排连接在喷电电源(电压为数十千伏的直流高压电源)上,通过针尖在气体中的电晕放电,使周围与针尖极性相同的离子在电场作用下从针尖喷向输电带,使输电带充电。随着输电带的运动,带上的电荷进入高压电极。极内刮电针排同高压电极相连和输电带之间所形成的电场,同样使气体电晕放电,从而使电荷转移到高压电极上去。随着不停传送电荷,高压电极的电压很快地升高。假设高压电极对地的电容是C,当它上面积累的电荷是Q时,它对地的电压可由
来决定。这关系式对时间微分后得
式中Ia是有效充电电流,它等于输电带送到高压电极的电流(输电电流)减去通过各种途径从高压电极漏去的电流(泄漏电流)。当电压上升到某值时,泄漏电流恰好等于输电电流,即Ia=0,此值即为此高压发生器的平衡电压。这种高压发生器,要改变电压极性是很方便的,只要改变喷电电源极性即可实现。如电子静电加速器高压所需的极性同图1所示正好相反。
60年代中,范德格喇夫静电高压发生器的重要改进是用输电链(或梯)代替输电带。输电链(梯)是利用在链(梯)上产生感应电荷的办法充电并输送电荷的,它的主要优点是:输电不靠电晕放电,电流波动小,发生器的高压自然稳定度高;工作寿命长;内部清洁等。目前已有不少静电加速器采用这种输电方法。
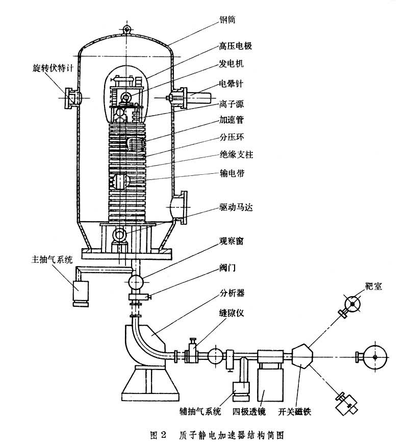
有了高压发生器再配上离子源、加速管、分析器、电压稳定和控制系统以及真空系统等必要的部件就构成了一台完整的质子静电加速器。图2为质子静电加速器典型的结构简图。为了提高静电加速器的工作电压(即离子束能量)和束流强度,近代静电加速器都是安放在钢筒内。钢筒内充有绝缘性能良好的高压气体,以提高静电高压发生器的耐压强度;绝缘支柱上均装有分压环及分压电阻(或电晕针组件)等部件,以使电场沿绝缘支柱、加速管和输电带(链)尽可能地均匀分布。高压电极内装有发电机、离子源和电子线路。当高压电极处在正的高电势时,在同高压电极和分压电阻相连的加速管内就形成加速电场。正离子从离子源被引出,进入加速管后,就受到加速电场的作用,向加速管的另一端运动加速。钢筒外的分析器(磁或静电分析器)是为了对经过加速的带电粒子进行质量和能量选择而设置的。带电粒子流通过分析器后再经过一段束流输运管道,最后打到靶上,提供物理实验使用。靶束流大小,根据实验要求,一般可在纳(10-9)安到几十微安范围内调节。质子静电加速器加速粒子能量可以平滑调节,能散度可以做得很小,它一直是低能核物理的主要设备。
同质子静电加速器相比,电子静电加速器的结构比较简单,所占空间也较小。这是由于负极性高压电极的击穿电压比正极性高;电子枪及其所需电源比离子源要简单得多,因此对于相同能量的电子静电加速器来讲,它的高压电极尺寸就比较小,这样钢筒的尺寸也就可相应减小。其次,由于电子静电加速器是作为β辐射源(高速电子流经扫描器后通过薄窗引出)和γ辐射源(高速电子轰击重元素──金、钨等来产生很强的γ射线)使用的,对电子束的能量分散度没有很高的要求,因此它不必配备分析器和稳压装置,用于实验的辐照室就直接安置在离加速管出口不远的地方。图3为上海生产的2兆电子伏电子静电加速器。静电加速器技术已有50多年的发展历史,中国是在50年代末开始发展的,1959年建成了中国第一台2.5兆电子伏质子静电加速器,1962年又建成了中国第一台2兆电子伏电子静电加速器。现今世界上约有数百台静电加速器。质子静电加速器除用于基础研究、核技术应用外,还应用于离子注入、放射性剂量仪表校刻等方面,同时它也为分子生物学、表面物理、束-箔光谱学等边缘学科的发展提供了重要的技术设备。电子静电加速器主要用于辐射化学、放射生物学、材料和元件的辐射改性(辐射处理)以及辐射育种、金属探伤和空间辐射模拟等。特别是辐射处理在工业上有广泛用途。
