电影印片机

浏览

电影片洗印过程中的重要设备。用以把影片上的图像或声迹曝光到另一条感光胶片上。可以产生与原像尺寸或幅格数相同或者不同的影像。印片机随着电影的发明和实用而产生,已由初期较为简陋的型式发展成为精密、高效、自动化的光学电子机械,它们可以处置所有类型的片种和各种规格的影片。

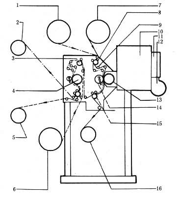
组成印片机的基本功能部分有:使影片和被曝光胶片同时通过印片曝光窗的输片系统,提供稳定光源的灯箱,控制曝光强度及色调的光量控制系统及相应的光学系统等。图1是典型的连续接触式印片机示意图。

图1 连续接触式印片机示意图

输片齿轮8将画底片7和正片1同时从供片盘拉出,经张力轮 9到达印片齿轮13,然后由压片滑轮14压住,在印片窗口曝光。带有散热风扇12的灯箱11中输出的光,经过加色光控制机构10到达印片窗口。印画完毕,两条片子从输片齿轮15处分开,片盘16将画底片卷回,正片在输片齿轮3处与从供片盘6来的声底片接触。然后两条胶片经过张力滑轮和印声齿轮,在声迹曝光后,声底片及正片分别由各自的收片盘2、5卷回。

类型

按照曝光时两条胶片(一般是负片和正片)相互间的成像和运动关系,印片机通常分为 4种类型:

连续接触式:曝光时两条胶片啮合在同一印片齿轮上,胶片乳剂面相互紧密接触,以连续均匀的速度通过印片窗口进行曝光。这种方式光路中光能量损失较小,且曝光窗内全部时间的光能都用于曝光、照明效率高,因此所需曝光时间短,印片速度可高达每分钟 300米以上。

连续光学式:两条胶片分别置于同一传动轴两端的单独齿轮上,底片上的影像通过一个称为“ U”形光路的特殊光学系统而在被曝光胶片上成像(图2)。虽然曝光时胶片仍在连续运动,但只要满足两条影片的片速比和画幅尺寸比相同的条件,则两边影像将保持严格同步而不会产生相对移动,因此也能得到清晰的影像。这种独特的方式既保持了连续式印片的高速度,又可以通过光学系统印制和底片画格尺寸不一致的影片,主要适用于从16毫米底片快速缩制8毫米影片。

图2 “U”形光路成像

间歇接触式:间歇印片是针对连续印片而言。此类印片机具有间歇传动机构。在曝光时,胶片停止运动并被定位针定位,遮光板打开,一格曝光完毕,遮光板挡住光而将胶片拉动一格。由于曝光时刻负片和正片都是静止的,所以产生的影像清晰度很高。间歇接触式印片,正片和负片在曝光位置紧密接触,由一共同间歇机构中的抓片和定位部件带动。这种方式多用于印制某些质量高的中间片或者重合度要求严格的分色片等。

间歇光学式:底片和正片各有独自的间歇输片机构,影像则通过光学镜组在被曝光的胶片上成像,在胶片静止时曝光。由于通过镜头成像,除了能得到更高的清晰度外,主要可以放大和缩小印片,还可以利用分光棱镜或者特殊镜组由一个画面产生多个画面,例如将35毫米影片缩制为2×16毫米影片或者4×8.75毫米影片。这种设备主要由放映机头和摄影机头构成,一般可以在亮室工作。它们的间歇机构通常作同步运转。有的也可以各自单独运转。放映机头和摄影机头能以不同次数的动作删节或重复被印制的画格以适应某些影片的特殊需要。间歇光学印片机的光效率比较低,机构较复杂,因此印片速度较低,一般在每秒20格以下。但是它印制的画面质量高,功能强,所以是电影制作中不可缺少的重要设备。在这类印片机的基础上进一步发展,就成为能够作特技印片的技巧印片机。

光源

印片光源能够按照配光要求在各个场景精确控制曝光的强度和色彩,补偿负片拍摄时曝光的不一致。有两种印片光源系统:

减色法光源:在白炽灯产生的白光中,用各种补色及中性滤光片阻挡该场景中不需要的色光,以调节曝光,将各个场景所需要的滤光片组按顺序组装在光号带上。印片时在每个场景的起始处发出信号,自动操纵光号带,将相应的滤光片组插入印片光路以调节光量。

加色法光源:这是使用最为广泛的印片光源,彩色纯,光效高。现代印片机大多采用图3示的加色光系统。图3中白炽灯(通常为卤素灯泡)1发出的白光(红+绿+蓝)经二向色滤色镜组中的 2透过青光(绿+蓝)反射红光,红光经镜3反射后通过光阀4、镜5和镜6到达印片窗7;青光经镜8透过蓝光,反射的绿光经过光阀9后由镜5反射,最终到达7;蓝光经光阀10后由镜11及镜6反射也到达7;经过分别控制的红、绿和蓝光在印片曝光窗再次重合。

图3 加色光系统

光阀

是一种精密的电子机械装置,装有能够高速动作的阀翼,其开度控制光束的通过量,按指数曲线逐级变化,3个光阀组合可获得10万种以上的彩色值。60年代自动光阀研制成功,使得印片机普遍采用加色光控制成为可能,因而提高了影片质量和生产效率。光阀原来一般都是用特殊机电装置提前预选开度位置,然后在变换场景时再将阀翼实际开度迅速改变过来。80年代研制成功了高速伺服电子光阀,它不需要预选,而是在场景改变时瞬间动作。其最大动作时间仅在 3毫秒以下,因此特别适于短场景以及高速度印片。

程序控制

每段场景红、绿、蓝 3个光阀各自需要的开度称为光号,它由印片机程序控制装置控制。配光时根据底片密度和彩色需要得到的补偿确定光号值,然后用专门的纸带穿孔设备把光号数据以特定的编码形式记录在标准穿孔纸带上。纸带上还可记录以画格计数为基本度量的各段场景影片长度数据。穿孔按场景排列并含有光号和长度数据信息的纸带也称程序控制带。印片前印片机用读数器将程序控制带信息输入并存贮在微处理机中,印片机根据微处理机的指令运行并且在每段场景的起始处,精确迅速地把各个光阀控制到各自应有的开度。

技巧装置

某些印片机的光路中装有开闭过程和印片格数成一定比例关系的阻光装置。在印片时用来制作“渐出”、“渐入”或者“叠化”等技巧镜头,它的动作一般也由程控带的数据控制。

印声

拷贝印片机配有印制光学声带的印声装置,使得画面和声带一次印制完成。印声装置一般采用连续接触印片方式,和画面连续接触印片非常相似。

湿法印

为了消除底片上划痕和污点的影响,印片机可以采用湿法印片,即在底片上浸涂折射率和影片相同的溶剂,使得底片表面上这类缺陷的影响大为减轻(图4)。有两种湿印方式:

图4 湿印原理

(1)涂液印片。过去主要用于间歇式光学印片机。底片在经过曝光窗以前经液槽浸泡,带上一层液体,使影片两面变得光滑。这样原有划痕处即不再阻碍光线正常通过,不会在正片曝光时造成斑痕。

(2)全浸印片。现在多采用这种方式,即曝光时底片全部浸泡在液槽中,光束通过透明槽壁和镜头射向被曝光胶片。接触式印片的正片和底片同时浸在液体中曝光。用这种方法,底片上的划伤和斑点影响基本消除,片清洁程度也大为提高。

为了做到单机多规格或多功能印片,印片机结构正向积木式、组合式方向发展。普遍采用胶片恒张力控制,不用输片齿轮,变换影片规格和功能部件十分方便。另一趋势是循环印片系统,用一系列贮片缓冲架将底片首尾相接成为片环,不停地运转,而正片则一本接一本地连续馈入,这种方式印片速度已超过每分钟600米。