[拼音]:duojing X shexian yanshe
[外文]:X-ray diffraction by polycrystals
用 X射线衍射法研究多晶样品的成分和结构的一种实验方法,也称粉末法。多晶是指由无数微细晶粒组成的细粉状样品或块状样品。
多晶衍射有照相法和衍射仪法两类。常用的粉末照相法为德拜-谢乐法(图 1)。
相机为一金属圆筒,内径通常为57.3毫米或114.6毫米,样品装在圆筒的中心轴线上,通过马达带动使它不停地转动;紧贴内壁放置长条形X光底片;入射的单波长X射线经准直管作用在样品上,穿透样品后的 X射线进入射线收集器而被吸收。
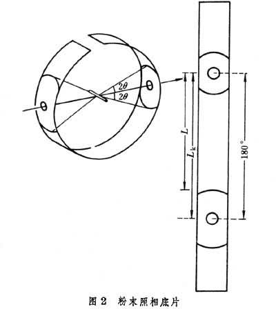
当单波长X射线照到一个细晶上时,若某一晶面与入射线的交角满足布喇格方程(见晶体X射线衍射)的要求,则在衍射角2θ处产生衍射线,在底片上形成一衍射点(图2)。
由于粉末样品中晶粒的取向是随机的,每一组晶面(hkl)都能给出相应张角为4θ的圆锥形衍射线,作用在长条底片上就形成了一对对弧线。测量任意一条衍射线与出射孔中心的距离L和入射孔与出射孔间的距离Lk,可算出该衍射线对应的衍射角θ,结合所用的波长λ,代入布喇格方程,可算出晶面间距d值。θ=(L/Lk)×90°;d=2λ/sinθ。用目测法或测微光度法测量各衍射线的强度I,就可获得一组d-I数据。将所得d-I数据与标准数据对照,即可鉴定样品的物相。
多晶衍射仪法的原理与照相法类似,只是用射线记数器记录衍射线的位置和强度,加上与电子计算机联用,可使测量的准确度高、分辨能力强且迅速方便,并能自动将样品的数据与计算机贮存的标准数据对照而鉴定样品的物相。
- 参考书目
- H.P.Klug and L.E.Alexander, X-ray DiffractionProcedures for Polycrystalline and Amorphous Materials, 2nd ed., John Wiley & Sons, New York,1974.