断层

沿破裂面两侧岩块发生显著相对位移的断裂构造。断层的规模大小不等,大者沿走向延伸可达上千公里,向下可切穿地壳,常由许多断层组成,称为断裂带;小者可见于手标本。

几何要素

断层由断层面和断盘组成。断层面是岩石沿之发生相对位移的破裂面,简称断面,可以是一个单一的面,也可以是一个有一定宽度的带。断层面与地面的交线称为断层线。断盘指断层面两侧的岩块。位于断层面之上的一盘称为上盘,断层面之下的一盘称为下盘。如断层面直立,则按其相对于断层走向的方位来描述。

断层的位移即断层面两侧岩块相对错开距离的统称。按测量位移的参照物的不同,分为滑距和断距(图1)。

图

滑距即断层两盘真正的相对错开的距离。断层面上错动前的一点,错动后分成两个对应点之间的直线距离,称为总滑距。总滑距在断层面走向线上的分量称走向滑距。总滑距在断层面倾斜线上的分量称倾斜滑距。断距即被错断的岩层在两盘对应层之间的相对距离。在不同方向的剖面上,断距的值可不同。在垂直于被错断岩层走向的剖面上,断层两盘对应层之间的垂直距离称为地层断距;对应层之间的铅直距离称为铅直地层断距,相当于直立的钻孔中测得的距离;对应层之间的水平距离称水平地层断距,相当于沿水平坑道测得的距离。

分类

按断层走向与被断地层走向的几何关系分为:

(1)两者近于平行的走向断层;

(2)两者近于垂直的倾向断层;

(3)两者斜交的斜向断层;

(4)与被断地层层面大致平行的顺层断层。

按断层走向与区域褶皱轴向的几何关系分为:

(1)两者近于平行的纵断层;

(2)两者近于垂直的横断层;

(3)两者斜交的斜断层。

按断层两盘相对运动的方向分为:

(1)上盘相对下降的正断层;

(2)上盘相对上升的逆断层,低角度(小于30°)的逆断层又称冲断层。正断层和逆断层的两盘相对运动方向大致平行于断层面的倾斜方向,故又统称为倾向滑动断层;

(3)两盘沿断层走向作相对水平运动的平移断层,又称走向滑动断层(简称走滑断层)。两盘作逆时针剪切的平移断层称左旋或左行平移断层,反之,作顺时针剪切的称右旋或右行平移断层。另外,对于断层位移方向与断层面走向斜交的斜向滑动断层,可根据其走向滑距和倾斜滑距分量的相对大小而复合命名,如正-平移断层或平移-逆断层,复合命名中的后者表示主要的运动分量。

断层是地壳上部构造层次脆性剪切变形的典型产物。有的大断层向深处其倾角逐渐变缓,使断层面成凹面向上的弯曲,其剖面似铲形或犁形,称铲状断层或犁式断层。在地壳深处的韧性变形域,相当于断层的两盘作相对剪切位移的变形带称为韧性剪切带

形成机制

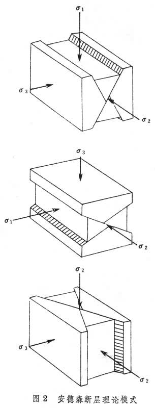
断层运动的基本特点是两盘岩石沿断层面的剪切滑动,所以断层作为剪切面与其形成时的应力状态密切有关。断层形成的安德森模式简明地说明了两者的关系(图2)。

图

因为地面与空气间无剪应力作用,所以地面为一主平面,即必然有一个主应力轴与地面垂直,其余两个主应力轴呈水平状态。假定岩石为各向同性,其内摩擦角统计平均值为30°。按库伦-莫尔脆性破裂准则,在应力作用下形成的两组共轭剪切面的交线与中间应力轴 σ2平行,其锐角分角线与最大主应力轴 σ1平行,断层面与σ1的夹角约30°。这样,三种应力作用方式就可造成3种断层:

(1)当 σ1直立时,形成高角度正断层;

(2)当σ2直立时,形成近直立的平移断层;

(3)当 σ3直立时,形成低角度的逆断层。这一模式较好地说明了大量浅层次的脆性破坏所形成的断层,如大量的正断层的倾角在60°左右,而平移断层常是近直立的。但由于地壳的不均一性,各地实际的应力状态还要复杂得多,如在上升岩浆岩的边部或隆起区边缘的差异性升降运动都可造成高角度的逆断层,而在地壳较深处又可有近水平的低角度正断层。

从断层造成的区域应变效果来看,正断层造成地壳在水平方向的伸长,称之为伸展构造;逆断层造成地壳在水平方向的缩短,称之为挤压构造;平移断层则直接与水平剪切作用有关。

研究方法

主要是在野外如何识别断层,确定断层面的产状,判断断层的运动性质,测定其两盘相对位移的距离,分析断层形成的时代及活动历史。常见的识别断层及其两盘相对运动方向的标志有:

(1)地质体的不连续。地层、岩脉和矿脉等在平面或剖面上突然中断或错开,表明断层的存在,并可求其断距。

(2)地层的重复或缺失。走向断层常见的一种效应。结合地层与断层两者产状的关系,可以判断是正断层还是逆断层。一般正断层造成垂向上的地层缺失,逆断层造成垂向上的地层重复。

(3)擦痕。断层面上两盘岩石相互摩擦留下的痕迹。断层面有时被磨光,并附有铁质或硅质的薄膜,光滑如镜,称为摩擦镜面。其上的平行细纹指示了两盘相对运动的方向。断层面上生长的石英或方解石纤维状晶体,貌似擦痕,称为擦抹晶体。它们是在断层运动过程中平行运动方向生长的晶体,纤维方向代表了断盘相对位移的方向。

(4)牵引构造。断层运动时断层近旁岩块受到拖曳造成的岩层局部弯曲,或岩层由塑性变形进一步发展而破裂成断层时留下的弧形弯曲。弧形凸出的方向大体指示所在盘的相对运动方向。

(5)断层岩。断层带中因断层动力作用被搓碎、研磨而改造的岩石。有断层角砾岩、碎裂岩及断层泥等,是脆性变形的产物,常见于一般断层中。糜棱岩是另一种常见于大断层带中的岩石,它是深处韧性剪切变形的产物(见韧性剪切带)。此外,地貌现象(断层崖、错断山脊、水系突然改向等)也有助于识别断层,尤其是活动断层。

断层是常见的断裂构造,因其规模比节理大,故在控制固体矿床、油、气和地下水的运移和储藏,对大型工程的地基稳定性的影响以及地震的监测和预报等方面更有重要的实际意义。

参考书目
  1. 朱志澄、宋鸿林主编:《构造地质学》,中国地质大学出版社,武汉,1990。

参考文章