[拼音]:junyun fanyingdui huaxue
[外文]:homogeneous reactor chemistry
反应堆化学的一个分支。在均匀反应堆中核燃料与冷却剂或与冷却剂和慢化剂处于均匀混合流体状态。由于传热性能好,没有固体燃料元件的辐射损伤问题,以及中子损失少(元件无包壳、裂变产物可及时除去)等原因,与非均匀反应堆相比,均匀反应堆可达到较高的功率密度、较低的燃料装载量、较深的燃耗和较高的转换比;在钍232-铀233循环的情况下,可能做到热中子增殖。但是,均匀反应堆存在很多要解决的技术难题,例如找到稳定的含核燃料和转换材料的流体体系及适当的化学处理方法、研究出能耐这些流体腐蚀的材料、研究出控制这类反应堆及热交换回路系统造成放射性沾染的措施等,其中有大量的化学问题。
已经研究过的均匀反应堆有水均匀反应堆、液态金属均匀反应堆和熔盐反应堆等。
水均匀反应堆化学
水均匀反应堆用重水或轻水作冷却剂和慢化剂,核燃料和转换材料以盐的形式溶解在水中,或以不溶化合物微细颗粒的形式悬浮在水中,相应的化学问题有:
燃料和转换材料的选择在可溶性铀盐中,硫酸铀酰具有较高的辐照稳定性,它的水溶液是最合适的燃料流体。转换材料流体要求含有高浓度的钍,只有二氧化钍在水中的悬浮液能满足要求。还研究过二氧化铀悬浮液和二氧化铀-二氧化钍混合悬浮液等。
水的辐射分解及辐解产物的复合在水均匀反应堆中,由于裂变碎片反冲的直接作用,水的辐射分解很严重。研究过往水溶液中加催化剂(如二价铜离子)使氢氧复合成水的方法,也研究过在堆外催化反应器中(用铂等催化剂)氢氧复合的条件。
裂变产物去除方法裂变产物氙、氪、碘等可从液体中逸出进入气相。水溶液中的不溶性裂变产物可以用水力旋流器不断除去,其他裂变产物可以用常规的核燃料水法后处理除去。对于悬浮液燃料流体,可以利用裂变时的核反冲使裂变产物进入水中或到达氧化物颗粒表面。前者可以用往悬浮液中加活性炭、氧化铝等除去,后者可以用酸洗氧化物颗粒除去。
液态金属均匀反应堆化学
液态金属均匀反应堆用液态金属作冷却剂,铋是仅有的一个本身中子吸收截面低,在熔融状态下能溶解足够多铀的金属。铋的慢化能力差,还需用石墨作慢化剂。主要化学问题有:
燃料和转换材料的选择采用钍 232-铀 233循环的液态铋铀合金反应堆的燃料铋合金铀233含量为700~1000ppm,该体系可在500℃左右的温度下操作,温度再高,结构材料腐蚀严重。转换材料流体要求含钍量高,而钍在液态铋中溶解度太低,不能满足要求,使二氧化钍在液态铋中呈悬浮状态,可以提高钍的浓度。
结构材料的选择镍在液态铋中溶解度很大,而且铋中溶解镍后铀的溶解度降低。因此,含镍高的不锈钢都不能用作结构材料。含铬的碳钢在腐蚀抑制剂(镁和锆)的存在下能较好地耐液态铋的腐蚀。
裂变产物的去除方法氙趋向于集中在石墨表面,碘也大部分被石墨吸附。当采用高密度不透气石墨做慢化剂时,这些裂变产物可以用氦气鼓泡法从液态金属中驱出。除去其他裂变产物的方法是用氯化镁-氯化钠-氯化钾三元低共熔盐(熔点约400℃)萃取,其反应式如下(以镧为例):
氯化物不稳定的裂变产物,如钌,铑、钯、锝和碲在氯盐萃取时仍留在铋中,可以用加锌造渣等方法除去。
熔盐反应堆化学
熔盐反应堆用熔盐作冷却剂,石墨作慢化剂,燃料和转换材料都是熔融的无机盐。主要化学问题有:
熔盐体系的选择熔盐必须由低中子吸收截面的元素组成,能溶入大于临界量的易裂变物质(燃料盐)及高浓度的转换材料。熔盐体系必须具有合适的熔点,热稳定性好,在运行温度下蒸气压低,具有良好的传热和流动性,对结构材料和慢化剂腐蚀性弱,对强辐射稳定,还要求价格不贵并有可行的化学处理方法。混合氟盐是最佳的选择。美国橡树岭国家实验室建成的试验性熔盐堆的熔盐组成(摩尔百分含量)是:7LiF65、BeF229.1、ZrF5、UF40.9,液化温度为434℃。第二回路冷却剂可采用NaF-BeF2、NaF-7LiF-BeF2或NaF-NaBF4等熔盐体系。
熔盐与材料的相容性已经确定,石墨慢化剂和哈斯特合金(Hastelloy-N,含钼17%、铬7%、铁5%的镍基合金)在熔融氟盐中是热力学稳定的。保持熔盐有一定的还原性(含有少量三价铀),可进一步抑制熔盐对结构材料的腐蚀。
分离方法从熔盐中提取易裂变物质和除去裂变产物的方法有:
(1)氟化挥发法回收熔盐中的铀,氟气通过熔盐时,发生UF4+F2─→UF6反应,挥发出来的UF6可用氟化钠吸附净化。
(2)氦气鼓泡法除去氪、氙等裂变产物。
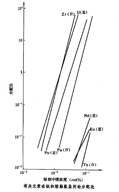
(3)铋锂合金还原萃取镤233,在熔盐中,钍232吸收中子生成钍233,然后衰变成镤233,镤233以27.0天的半衰期衰变成铀233;为了提高转换比(增殖比),把镤233不断提取出来,让它在堆外衰变成铀 233是很重要的;镤233的分离周期应小于其半衰期,分离过程必须简单。如用液态铋锂合金进行还原萃取,铋锂合金与氟盐接触时发生MFn(盐相)+nLi(铋相)─→M(铋相)+ nLiF(盐相)反应,式中M表示某种金属,n为它在氟盐中的价态。600℃时各有关元素在铋和熔融氟盐(摩尔百分含量为LiF72、BeF216、ThF412) 间的分配比(D为铋相中M的含量与盐相中 M的含量的比值)见图。
由图可见,铀和锆最容易被铋锂合金还原萃取;镤和钍的分配比也有较大差别,可以用还原萃取法进行分离;稀土和钍的分离要用其他方法(如金属转移法)。
- 参考书目
- J. A. Lane,et al.,ed.,Fluid Fuel Reactors,Addison-Wesley, Reading, Mass., 1958.
- J. K.Dawson and R. G. Sowden,Chemical Aspectsof Nuclear Reactors,Vol.2~3,Butterworths,London,1963.