[Æ´Òô]£ºjueyuan taoguan
[ÍâÎÄ]£ºinsulating bushing
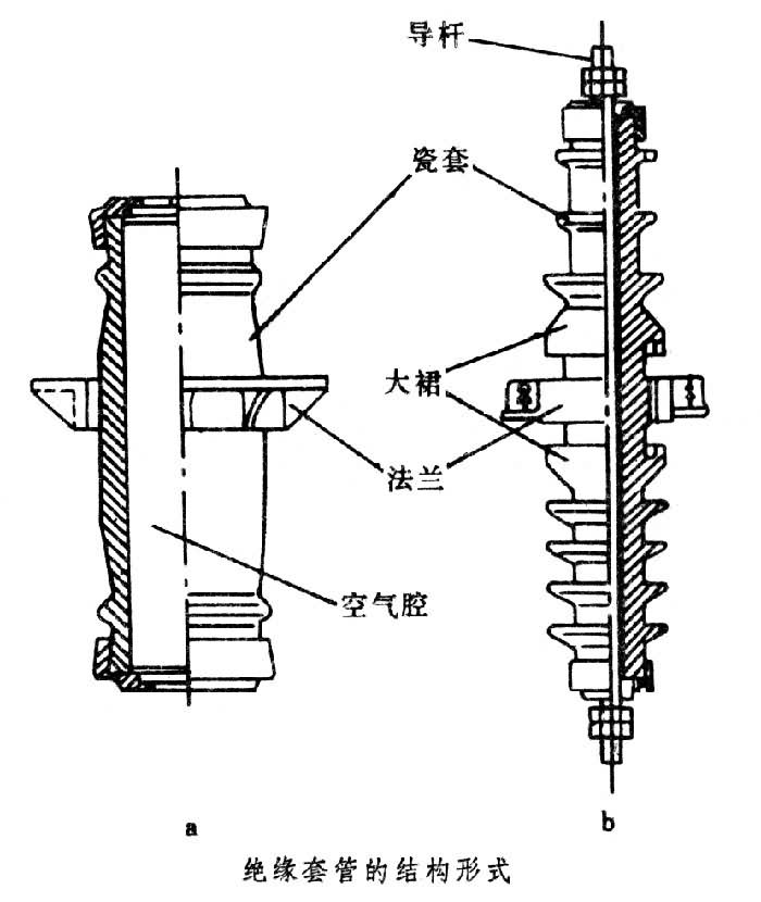
ÓÃÓÚ´©¹ý´øµçµ¼ÌåµÄÒ»ÖÖ¾øÔµ×Ó¡£¼ò³ÆÌ׹ܡ£Æä»ù±¾½á¹¹ÐÎʽ¼ûͼ¡£
¾øÔµÌ׹ܰ´ÓÃ;·ÖΪµçÕ¾ÀàºÍµçÆ÷ÀࡣǰÕßÖ÷ÒªÊÇ´©Ç½Ì׹ܣ»ºóÕßÓбäѹÆ÷Ì׹ܡ¢µçÈÝÆ÷Ì׹ܺͶÏ·Æ÷Ì׹ܡ£°´¾øÔµ½á¹¹ÓÖ·ÖΪµ¥Ò»¾øÔµÌ׹ܡ¢¸´ºÏ¾øÔµÌ׹ܺ͵çÈÝʽÌ׹ܡ£
µ¥Ò»¾øÔµÌ×¹ÜÓô¿´É»òÊ÷Ö¬¾øÔµ£¬³£ÖƳɴ©Ç½Ì׹ܣ¬ÓÃÓÚ35ǧ·ü¼°ÒÔϵçѹµÈ¼¶¡£Æä¾øÔµ¼þΪ¹Ü×´£¬Öв¿¿¨×°»ò½º×°·¨À¼ÒÔ±ã¹Ì¶¨ÔÚ´©¿×ǽÉÏ¡£·¨À¼Ò»°ãΪ»ÒÖýÌú£¬µ±¹¤×÷µçÁ÷´óÓÚ1500°²Ê±³£Ó÷ǴÅÐÔ²ÄÁÏÒÔ¼õÉÙ·¢ÈÈ¡£µ¥Ò»¾øÔµÌ׹ܵľøÔµ½á¹¹·ÖΪÓÐ¿ÕÆøÇ»ºÍ¿ÕÆøÇ»¶Ì·Á½Àà¡£¿ÕÆøÇ»Ì×¹ÜÓÃÓÚ10ǧ·ü¼°ÒÔϵçѹµÈ¼¶£¬µ¼ÌåÓë´ÉÌ×Ö®¼äÓÐ¿ÕÆøÇ»×÷Ϊ¸¨Öú¾øÔµ£¬¿ÉÒÔ¼õÉÙÌ׹ܵçÈÝ£¬Ìá¸ßÌ׹ܵĵçÔεçѹºÍ»¬ÉÁµçѹ¡£µ±µçѹµÈ¼¶½Ï¸ßʱ£¨20¡«30ǧ·ü£©£¬¿ÕÆøÇ»ÄÚ²¿½«·¢ÉúµçÔζøÊ¹ÉÏÊö×÷ÓÃʧЧ£¬Õâʱ²ÉÓÃ¿ÕÆøÇ»¶Ì·½á¹¹¡£ÕâÖÖ´ÉÌ׹ܵĴÉÌ×ÄÚ±ÚÍ¿°ëµ¼ÌåÓÔ£¬²¢Óõ¯»ÉƬÓëµ¼Ìå½Óͨʹ¿ÕÆøÇ»¶Ì·£¬ÓÃÒÔÏû³ýÄÚ²¿µçÔΡ£µ«·¨À¼¸½½üÈÔ¿ÉÄÜ·¢ÉúµçÔκͻ¬ÉÁ¡£Í¨³£ÔÚ·¨À¼¸½½üÁ½²à´ÉÌ×±íÃæ¸÷ÉèÒ»ºÜ´óµÄɡȹ£¬²¢ÔÚ·¨À¼¸½½üÍ¿ÒÔ°ëµ¼µç²ãʹµç³¡¾ùÔÈ·Ö²¼£¬Ìá¸ßÌ׹ܵķŵçÌØÐÔ¡£
¸´ºÏ¾øÔµÌ×¹ÜÒÔÓÍ»òÆøÌå×÷¾øÔµ½éÖÊ£¬Ò»°ãÖÆ³É±äѹÆ÷Ì׹ܻò¶Ï·Æ÷Ì׹ܣ¬³£ÓÃÓÚ35ǧ·üÒÔϵĵçѹµÈ¼¶¡£¸´ºÏ¾øÔµÌ׹ܵĵ¼ÌåÓë´ÉÌ×¼äµÄÄÚÇ»³äÂú±äѹÆ÷ÓÍ£¬Æð¾¶Ïò¾øÔµ×÷Óᣵ±µçѹ³¬¹ý35ǧ·üʱ£¬ÔÚµ¼ÌåÉÏÌ×ÒÔ¾øÔµ¹Ü»ò°üµçÀÂÏߣ¬ÒÔ¼ÓÇ¿¾øÔµ¡£¸´ºÏ¾øÔµÌ׹ܵĵ¼Ìå½á¹¹Óд©ÀÂʽºÍµ¼¸ËʽÁ½ÖÖ¡£´©ÀÂʽÀûÓñäѹÆ÷µÄÒý³öµçÀÂÖ±½Ó´©¹ýÌ׹ܣ¬°²×°·½±ã¡£µ±¹¤×÷µçÁ÷´óÓÚ600°²Ê±£¬´©ÀÂʽ½á¹¹°²×°±È½ÏÀ§ÄÑ£¬Ò»°ã²ÉÓõ¼¸Ëʽ½á¹¹¡£
µçÈÝʽÌ×¹ÜÓɵçÈÝÐÄ×Ó¡¢´ÉÌס¢½ðÊô¸½¼þºÍµ¼Ìå¹¹³É¡£Ö÷ÒªÓÃÓÚ³¬¸ßѹ±äѹÆ÷ºÍ¶Ï·Æ÷¡£ÆäÉϲ¿ÔÚ´óÆøÖС¢Ï²¿ÔÚÓÍÏäÖй¤×÷¡£µçÈÝʽÌ׹ܵĵçÈÝÐÄ×Ó×÷ΪÄÚ¾øÔµ£¬´ÉÌ××÷ΪÍâ¾øÔµ£¬Ò²Æðµ½±£»¤µçÈÝÐÄ×ÓµÄ×÷ÓᣴÉÌ×±íÃæµÄµç³¡ÊÜÄÚ²¿µçÈÝÐÄ×ӵľùѹ×÷Óöø·Ö²¼¾ùÔÈ£¬´Ó¶øÌá¸ßÁËÌ×¹ÜµÄµçÆø¾øÔµÐÔÄÜ¡£½ðÊô¸½¼þÓÐÖмäÁ¬½ÓÌ×Ͳ£¨·¨À¼£©¡¢¶Ë¸Ç¡¢¾ùѹÇòµÈ¡£µ¼ÌåΪµçÀ»òÓ²Öʸֹܡ£
µçÈÝʽÌ׹ܵĵçÈÝÐÄ×ÓÓýºÖ½ÖÆÔìʱ£¬»úеǿ¶È¸ß£¬¿ÉÒÔÈκνǶȰ²×°£¬¿¹³±ÆøÐÔÄܺ㬽ṹºÍάÐÞ¼òµ¥£¬¿É²»ÓÃÏÂÌ׹ܣ¬»¹¿É½«ÐÄ×Ó϶˳µÏ÷³É¶Ìβʽ£¬ËõСÆä³ß´ç¡£È±µãÊÇÔڸߵçѹµÈ¼¶Ê±£¬¾ø¼¶²ÄÁϺ͹¤ÒÕÒªÇó½Ï¸ß£¬ÐÄ×ÓÖв»Ò×Ïû³ýÆøÏ¶£¬ÒÔÖÂÔì³É¾Ö²¿·ÅµçµçѹµÍ¡£½ºÖ½µçÈÝʽÌ×¹ÜÓÉÓÚ½éÖÊËðºÄÆ«¸ßºÍ¾Ö²¿·ÅµçµçѹµÍµÈÎÊÌ⣬ÒÑÖð½¥ÎªÓÍÖ½µçÈÝʽÌ×¹ÜËùÈ¡´ú¡£²ÉÓÃÓÍÖ½×÷µçÈÝÐÄ×Ó£¬Ò»°ãÒªÓÐÏ´ÉÌ×£¬Ï²¿³ß´ç½Ï´ó£¬¶Ô³±Æø±È½ÏÃô¸Ð£¬ÃÜ·âÒªÇó¸ß;ÓŵãÊǾøÔµ²ÄÁϺ͹¤ÒÕÒ×ÓÚ½â¾ö£¬½éÖÊËðºÄС£¬¾Ö²¿·ÅµçÐÔÄܺá£70Äê´ú¿ªÊ¼£¬ÖйúÒѹ㷺ʹÓÃ110¡«500ǧ·ü³¬¸ßѹÓÍÖ½µçÈÝʽÌ׹ܡ£
80Äê´úÖйú»¹·¢Õ¹ÁËÒ»ÖÖ½º½þÖ½Ì׹ܣ¬ÆäµçÈÝÐÄ×ÓÊÇÒÔ¾øÔµÖ½¾íÖÆ³ÉÐÄ×ÓºóÓúϳÉÊ÷Ö¬Õæ¿Õ½þ×Õ£¬ÔÙ¾Èȹ̻¯´¦Àí¡£ÆäÐÔÄܼæÓнºÖ½ºÍÓÍÖ½µçÈÝʽÌ׹ܵÄÓŵ㡣