[拼音]:jiche cheliang tanhuang xuanguazhuangzhi
[外文]:locomotive and car suspension
机车、车辆的车体借以弹性地支承在轴箱、侧架或均衡梁上的装置,简称弹簧装置、悬挂装置。
弹簧悬挂装置的作用主要有:
(1)当机车车辆行经线路不平顺处或因轮对缺陷而发生振动和冲击时,可以缓和冲击,衰减振动;
(2)使同一转向架的各轮对之间重量分配适当,使各轮对的轮载荷在各种线路条件下,不致相差过大。弹簧悬挂装置因所在位置不同而有不同的名称。安装在转向架轴箱或均衡梁和构架之间的称为轴箱悬挂装置,又称第一系悬挂装置;安装在转向架构架(或侧架)和摇枕(或构架和车体)之间的称为摇枕弹簧装置或中央弹簧装置,又称第二系悬挂装置。
仅有第一系或第二系悬挂装置的转向架,称为一系悬挂装置转向架;具有第一系和第二系悬挂装置的转向架称为两系悬挂装置转向架。货车转向架通常采用一系弹簧悬挂装置,客车转向架和柴油机车、电力机车转向架通常采用两系弹簧悬挂装置。
弹簧悬挂装置主要包括弹簧和减振器两部分。
弹簧
转向架常用的弹簧主要有板弹簧、螺旋弹簧、橡胶弹簧和空气弹簧四种。
板弹簧又称叠板弹簧。用一片片预先弯成一定弧度的簧片垒叠而成,中间用簧箍束紧。各簧片之间的摩擦力可以衰减振动,所以不需要外加减振器。板弹簧由于制造工艺复杂和维修不便,成本高,重量大,而且摩擦力不稳定,在现代机车车辆上已很少使用。
螺旋弹簧机车车辆弹簧悬挂装置中使用最广泛的一种弹簧。通常由圆形截面的弹簧钢棒卷绕而成,多呈圆柱形。它的制造简单、重量轻、成本低,但不具备内摩擦,因此需要外加减振器。一些新型的机车和客车转向架在螺旋弹簧两端加橡胶垫,可以增大弹簧轴向和横向的柔性,从而提高机车和客车的走行质量。
橡胶弹簧利用橡胶的变形来实现弹簧作用(图1)。橡胶弹簧通常由橡胶片和金属板经硫化粘结而成,多片层叠使用。它的内阻随变形速度的提高而增大,因而有良好的隔声效果,并有吸收冲击和高频振动的能力。橡胶弹簧可以同时承受几个方向的载荷,各个方向的刚度可根据需要设计。它的主要缺点是易老化。
空气弹簧
利用空气的可压缩性实现弹簧作用。空气弹簧通常由弹簧本体、附加空气室和高度控制阀三部分组成(图2)。弹簧本体用橡胶制造。空气弹簧的主要优点是:由于高度控制阀的作用,当车体重量缓慢变化时可以保持车体高度和空气弹簧的容积不变;弹簧刚度可以借助于附加空气室的容积进行选择;在弹簧本体和附加空气室之间设一节流孔,能起一定的减振作用。主要缺点是结构比较复杂,制造成本高,目前只限于在少数客车上使用。
减振器
为了吸收振动过程中的能量,通常在弹簧悬挂装置中装有减振器。最常用的减振器有摩擦减振器和液压减振器两类。
摩擦减振器主要用于货车转向架(图3),有时也用于某些机车转向架。摩擦减振器的主要优点是结构简单,成本低,制造维修方便。但是它的阻力随接触表面的状态,磨耗以及外界气候条件等因素的变化而改变。摩擦力过大会传递冲击,摩擦力过小则减振效果差,所以这种减振器一般不适用于对振动性能要求较高的客车和机车的转向架。
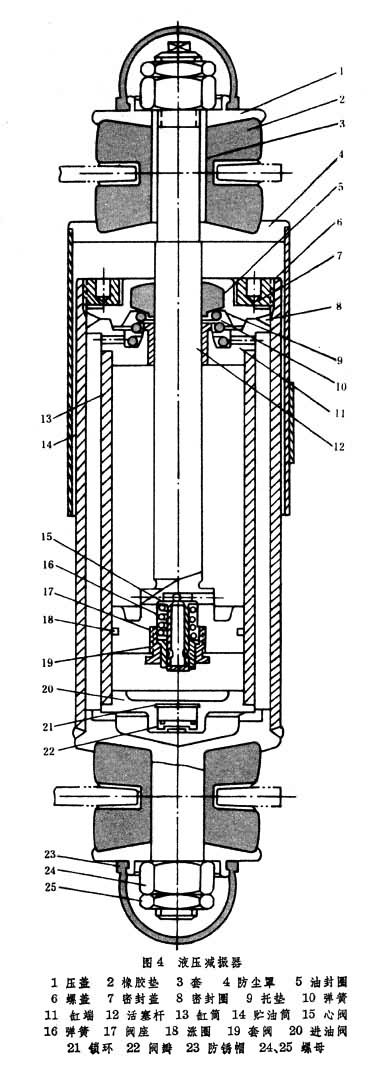
液压减振器
通过活塞的往复作用,迫使液体通过节流孔,产生阻力,从而起减振作用。它的结构如图4(右图)所示。由于它的阻力是随振动速度而改变的,所以减振性能较好。但是液压减振器的制造和检修工艺质量要求高,一旦减振器失效,在弹簧系统中就没有阻力,所以只用于对振动性能要求较高的机车和客车上。