煤低温干馏

煤干馏方法之一,指采用较低的加热终温 (500~600℃),使煤在隔绝空气条件下,受热分解生成半焦、低温煤焦油(见煤焦油)、煤气和热解水过程。低温干馏的设备称为低温干馏炉。与高温干馏(即焦化)相比,低温干馏的焦油产率较高而煤气产率较低。一般半焦为50%~70%,低温煤焦油8%~25%,煤气80~100m3/t(原料煤)。

沿革

煤低温干馏技术的应用始于19世纪,当时主要用于制取灯油(或称煤油)和蜡。19世纪末,因电灯的发明而趋于衰落第二次世界大战前夕及大战期间,纳粹德国基于战争的目的,建立了大型低温干馏工厂,生产低温干馏煤焦油,再经高压加氢制取汽油、柴油。战后,大量廉价石油的开采,使煤低温干馏工业再次陷于停滞状态,各种新型低温干馏的方法多处于试验阶段。

历史上曾出现过很多低温干馏方法,但工业上成功的只有几种。这些方法按炉的加热方式可分为外热式、内热式及内热外热混合式。外热式炉的加热介质与原料不直接接触,热量由炉壁传入;内热式炉的加热介质与原料直接接触,因加热介质的不同而有固体热载体法和气体热载体法两种。

内热式气体热载体法

鲁奇-斯皮尔盖斯低温干馏法是工业上已采用的典型方法。此法采用气体热载体内热式垂直连续炉,在中国俗称三段炉,即从上而下包括干燥段、干馏段和冷却段三部分(图1)。

图1

褐煤或由褐煤压制成的型块(约25~60mm)由上而下移动,与燃烧气逆流直接接触受热。炉顶原料的含水量约15%时,在干燥段脱除水分至 1.0%以下,逆流而上的约250℃热气体冷至80~100℃。干燥后原料在干馏段被600~700℃不含氧的燃烧气加热至约500℃,发生热分解;热气体冷至约250℃,生成的半焦进入冷却段被冷气体冷却。半焦排出后进一步用水和空气冷却。从干馏段逸出的挥发物经过冷凝、冷却等步骤,得到焦油和热解水。德国、美国、苏联、捷克斯洛伐克新西兰和日本都曾建有此类炉型。中国东北也曾建此种炉。60年代初,在中国曾采用的气燃式炉也属此类型,后因大量廉价天然石油的开采而停产。

内热式固体热载体法

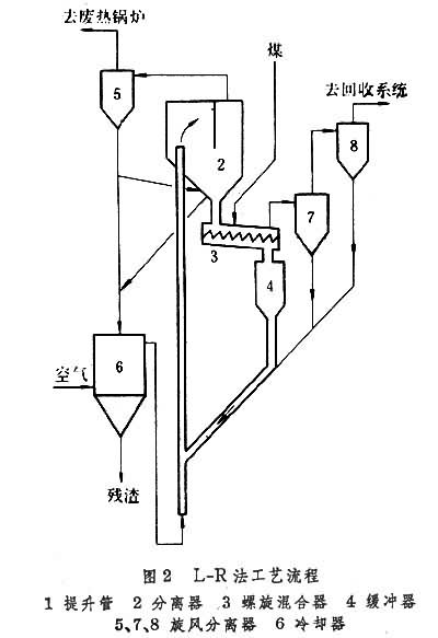
鲁奇-鲁尔盖斯低温干馏法(简称L-R法)是固体热载体内热式的典型方法。原料为褐煤、非粘结性煤、弱粘结性煤以及油页岩。20世纪50年代,在联邦德国多尔斯滕建有一套处理能力为10t/h煤的中间试验装置,使用的热载体是固体颗粒(小瓷球、砂子或半焦)。由于过程产品气体不含废气,因此后处理系统的设备尺寸较小,煤气热值较高,可达20.5~40.6MJ/m3。此法由于温差大,颗粒小,传热极快,因此具有很大的处理能力。所得液体产品较多、加工高挥发分煤时,产率可达30%。  L-R法工艺流程(图2)

图2

是首先将初步预热的小块原料煤,同来自分离器的热半焦在混合器内混合,发生热分解作用。然后落入缓冲器内,停留一定时间,完成热分解。从缓冲器出来的半焦进入提升管底部,由热空气提送,同时在提升管中烧去其中的残碳,使温度升高,然后进入分离器内进行气固分离。半焦再返回混合器,如此循环。从混合器逸出的挥发物,经除尘、冷凝和冷却、回收油类,得到热值较高的煤气。

参考书目
  1. 天津大学燃料化学工业教研室编:《低温干馏工程》,上册,石油工业出版社,北京,1959 。
  2. M.A.Elliott ed.,Chemistry of Coal Utilization,2nd Sup.vol., John Wiley & Sons, New York,1981.