[拼音]:weibo sanjiguan yu sijiguan
[外文]:microwave triode and tetrode
基于静电控制原理的微波电子管。微波三极管和微波四极管包括灯塔管、盘封管、铅笔管、超高频发射管、平板三极管和钛陶瓷三极管等,常用的工作频率范围为300~16000兆赫。
微波三、四极管的工作基于电子流的静电控制原理(见真空电子器件)。普通的静电控制管不能在微波波段工作,主要受电子渡越时间效应和极间电容、引线电感的限制。微波三、四极管在设计、工艺和材料上都有重要改进,以适应在微波波段工作的要求。这些改进措施主要有以下两个方面:
(1)采用圆柱状电极引出和盘封结构以尽量减小电极引线电感和极间电容的影响;采用腔体谐振回路,使管子的电极和引线构成谐振腔的一部分。
(2)静电控制管内电子渡越角θ正比于工作频率ω和极间距离d,反比于等效工作电压u的平方根,即
。因此,减小极间距离和增大等效工作电压,可以减小电子渡越时间效应。在这种情况下,就要采用细栅丝的栅极以避免阴极发射的不均匀性,同时加阴极负荷和提高电极的功率散耗密度。在微波三、四极管中采用了精密的控制栅极、近阴栅距离、大电流密度的阴极和增加各电极的散热能力等措施。
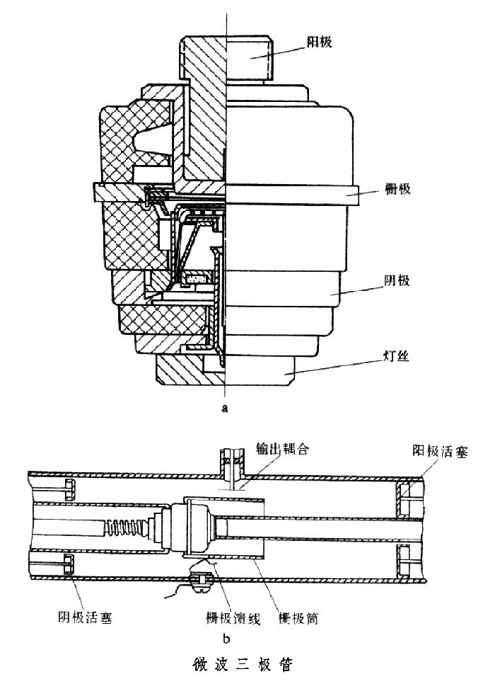
微波三、四极管按电极结构可分为平板电极和圆柱电极两种。大功率微波三、四极管通常采用同轴结构。中小功率管最常见的有属平板电极结构的金属陶瓷管、钛陶瓷管和属圆柱电极结构的铅笔管,它们一般可以工作到3000兆赫以上的频率,连续波功率在瓦级到几十瓦,脉冲功率从几百瓦到数千瓦量级。它们广泛地应用于通信、导航、信标、引信、遥测、测高计和微波信号源等无线电仪器设备中。大功率微波三、四极管具有增益高、功率容量大的特点,在分米波段连续波功率可达数十千瓦,脉冲功率可达兆瓦量级,广泛应用于电视、雷达和加速器等工程。为了展宽频带和提高频率而发展的同轴管、级联放大器和内腔式三极管也都属于微波三、四极管。图中为典型的微波三极管的结构及其与外电路的连接情况。
微波三、四极管的特点是对电源要求低,环境性能好,结构简单,频率和相位稳定性好,线性好,交调失真系数低,频谱特性好,脉冲动率大。因此,微波三、四极管已在各种整机中得到广泛的应用。由于受工作原理的局限,微波三、四极管在6000兆赫以上的频率上效率较低,功率较小,应用范围受到限制。在连续波低功率电平上的应用不及半导体器件。