¡¡¡¡Ñõ»¯»¹Ôµçλ(ORP)²âÁ¿ÔÚ»ðµç³§µÄÖÆË®ÏµÍ³ÖÐÓ¦Óý϶࣬Æä¿ÉÓÃÓÚ¼à²â·´ÉøÍ¸½øË®µÄÑõ»¯»¹ÔÐÔÄÜ£¬¾Ý´Ëµ÷Õûɱ¾ú¼ÁºÍ»¹Ô¼ÁµÄͶ¼ÓÁ¿¡£Îª¿ØÖÆÎ¢ÉúÎïÔö³¤£¬Í¨³£»áÔÚË®µÄÔ¤´¦Àí¹ý³ÌÖмÓÈëɱ¾ú¼Á£¬ÈçÂÈÆø¡¢´ÎÂÈËáÄÆ¡¢ä廯ÎïºÍ¹ýÑõ»¯ÎïµÈ¡£ÔÚ·´ÉøÍ¸½øË®´¦£¬ÈôË®ÌåÖвÐÓàµÄɱ¾ú¼Áº¬Á¿³¬±ê£¬Ñõ»¯ÐÔ¹ýÇ¿£¬ÈÝÒײúÉú»îÐÔ×ÔÓÉ»ù£¬Óë·´ÉøÍ¸Ä¤²ÄÁÏ·¢ÉúÁ´Òý·¢·´Ó¦ºÍÁ´×ªÒÆ·´Ó¦£¬µ¼ÖÂĤÑõ»¯ºÍË®½â£¬Ó°ÏìĤµÄÐÔÄܺÍÊÙÃü¡£´ËÍ⣬ÔÚ·´ÉøÍ¸½øË®ÖÐͨ³£¼ÓÈëÒ»¶¨Á¿µÄ»¹Ô¼Á£¬ÈçÑÇÁòËáÄÆºÍÑÇÁòËáÇâÄÆµÈ£¬µ«»¹Ô¼ÁµÄ¼ÓÈë²¢·ÇÔ½¶àÔ½ºÃ£¬»¹Ô¼Á¼ÓÈë¹ý¶à£¬»áÐγÉÁòËáÑγÁµí¡£ÎªÓÐЧ¿ØÖÆÉ±¾ú¼ÁºÍ»¹Ô¼ÁµÄ¼ÓÈëÁ¿£¬·ÀÖ¹·´ÉøÍ¸Ä¤µÄ²»¿ÉÄæË𺦣¬ÓбØÒª¼à²â·´ÉøÍ¸½øË®µÄORP¡²1¡³¡£¾Ýµ÷ÑУ¬½Ï¶àµç³§ORP±íµÄ²âÁ¿ÖµÓë¼ÓÒ©Á¿²»ÄÜ׼ȷ¶ÔÓ¦£¬µ¼ÖÂORP±íδÄÜ·¢»ÓÓ¦ÓеÄ×÷Ó᣶ø¹úÄÚÏÖÎÞÏà¹ØµÄÐÐÒµ±ê×¼£¬¶Ô·´ÉøÍ¸½øË®ÔÚÏßORP²âÁ¿µÄÑо¿Ò²½ÏÉÙ¡£ÎªÌ½¾¿ORP±í²âÁ¿ÖµÓë¼ÓÒ©Á¿²»ÄÜ׼ȷ¶ÔÓ¦µÄÔÒò£¬Ðè¶Ôʵ¼Ê¹¤¿öÏÂORP²âÁ¿µÄÓ°ÏìÒòËØ½øÐÐÑо¿£¬°üÀ¨µç¼«±íÃæ×´Ì¬£¬Ë®ÌåµÄpH¡¢Ñõ·Öѹ¡¢Á÷ËÙºÍζȵȡ£
¡¡¡¡»ðµç³§·´ÉøÍ¸½øË®²¢Î´½øÐгýÑõ£¬ORP±íÒ»°ãÒ²²»¾ßÓÐζȲ¹³¥¹¦ÄÜ¡£±¾Ñо¿²ÉÓÃNaClÈÜҺģÄâ»ðµç³§ÖÆË®ÏµÍ³ÖÐÎÞ²ÐÓàɱ¾ú¼ÁµÄ·´ÉøÍ¸½øË®£¬ÏȽøÐо²Ì¬ÊÔÑ飬·ÖÎöζȺÍÈܽâÑõ¶ÔNaClÈÜÒºÖÐORP²âÁ¿µÄÓ°Ï죬ÔÙ½øÐж¯Ì¬ÊÔÑ飬ģÄⶬÏÄÁ½¼¾µç³§ÔÚÏß¼à²â·´ÉøÍ¸½øË®ORPµÄÇé¿ö£¬²¢¶ÔORPµç¼«µÄÕýȷʹÓÃÌá³ö½¨Òé¡£
¡¡¡¡1 ÊÔÑé
¡¡¡¡1.1 ÊÔÑéÒDZí
¡¡¡¡UDA2182ÐÍORP±í£¬ÃÀ¹úHoneywell¹«Ë¾Éú²ú£¬ORPµç¼«Îª¸´ºÏʽ£¬Æä²âÁ¿µç¼«Îª²¬µç¼«£¬²Î±Èµç¼«Îª½þÔÚKCl±¥ºÍÒºÖеÄAg/AgClµç¼«¡£770MAXÐÍÈܽâÑõ±í£¬ÈðÊ¿Mettler?Û²Toledo¹«Ë¾Éú²ú¡£
¡¡¡¡1.2 ÊÔÑéÈÜÒº
¡¡¡¡¾Ýµ÷ÑУ¬ÏÖ½ñµç³§ÖÆË®ÏµÍ³ÖÐËùÓÃɱ¾ú¼Áͨ³£Îª´ÎÂÈËáÄÆ£¬»¹Ô¼ÁΪÑÇÁòËáÄÆ£¬Á½Õß·´Ó¦»áÉú³ÉNaClºÍNa2SO4.´Óij3¸öµç³§·´ÉøÍ¸½øË®Ë®ÖÊ·ÖÎö±¨¸æ(¼û±í 1)¿ÉÖª£¬·´ÉøÍ¸½øË®Öк¬ÓжàÖÖÀë×Ó£¬µç³§²»Í¬£¬¸÷Àë×ӵĺ¬Á¿Ò²Óнϴó²îÒ죬µ«ÆäÖÐNa+ºÍCl-º¬Á¿¶¼½Ï¸ß¡£Òò´Ë£¬±¾ÊÔÑé²ÉÓÃ0.001 mol/LµÄNaClÈÜҺģÄâÓàÂÈΪ0ʱµÄ·´ÉøÍ¸½øË®£¬µçµ¼ÂÊԼΪ130 ¦ÌS/cm,pHԼΪ7.
¡¡¡¡1.3 ÊÔÑé·½·¨
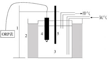
¡¡¡¡¾²Ì¬ÊÔÑé×°ÖÃÈçͼ 1Ëùʾ¡£
¾²Ì¬ÊÔÑé×°ÖÃÈçͼ 1Ëùʾ¡£
1-Ìú¼Ų̈£»2-ˮԡ¹ø£»3-ÊÔÑéÈÜÒº£»4-¸´ºÏʽORPµç¼«£»5-ζȼơ£
¡¡¡¡Í¨¹ýˮԡ¹øµ÷½ÚÊÔÑéÈÜÒºµÄζȣ¬´ÓÊÒÎÂ(Ô¼15 ¡æ)Éý¸ßÖÁ25¡¢30¡¢35 ¡æ£¬¹Û²ìORP±í²âÁ¿ÖµËæÎ¶ȵı仯¡£ÏòÆ¿¿ÚÃÜ·âÇÒºãÎÂÔÚ25 ¡æµÄÊÔÑéÈÜÒºÖÐÁ¬ÐøÍ¨Èë´¿¶È²»µÍÓÚ99.99%µÄµªÆø£¬ÒÔ³ýȥˮÖеÄÈܽâÑõ£¬¹Û²ìORP±í²âÁ¿ÖµÔڴ˹ý³ÌÖеı仯¡£¶¯Ì¬ÊÔÑéÁ÷·Èçͼ 2Ëùʾ¡£
ͼ 2 ¶¯Ì¬ÊÔÑéÁ÷·
¡¡¡¡½«ÊÔÑé»·¾³Î¶ȷֱð¿ØÖÆÔÚ14¡¢28 ¡æ£¬ÒÔÄ£Äâµç³§·´ÉøÍ¸½øË®ÔÚ¶¬ÏÄÁ½¼¾ÓÉÓÚζȲîÒì¶øÒýÆðµÄORPµÄ²»Í¬¡£ORP±íµÄÁ÷ËÙÓÃÁ÷Á¿¼Æ¿ØÖÆÔÚ6 L/h.
¡¡¡¡2 ½á¹ûÓëÌÖÂÛ
¡¡¡¡2.1 ÀíÂÛ·ÖÎö
¡¡¡¡¶ÔÓÚÄ³ÌØ¶¨µÄÑõ»¯»¹Ôµç¶Ô£¬ORPµÄ´óС×ñÑÄÜË¹ÌØ·½³Ì¡£»ðµç³§·´ÉøÍ¸½øË®ÖÐËùº¬Àë×ӽ϶࣬ˮÌå½Ï¸´ÔÓ£¬¿ÉÄÜ´æÔÚ¶àÖÖÑõ»¯»¹Ôµç¶Ô£¬ÆäORPΪËùÓÐÑõ»¯»¹Ôµç¶Ô´ïµ½Æ½ºâʱµÄ»ìºÏµç룬Óë¸÷µç¶ÔÔÚÈÜÒºÖеÄŨ¶ÈºÍ·´Ó¦ËٶȾùÓйØÏµ¡²2¡³£¬¹ÊºÜÄѶÔORPÖµ½øÐÐÀíÂÛ¼ÆËã¡£ÓÉÓÚ·´Ó¦½Ï¶à£¬ÎÞ·¨½øÐÐ×Ô¶¯Î¶Ȳ¹³¥£¬¹ÊζȶԷ´ÉøÍ¸½øË®ORPµÄ²âÁ¿»áÓÐÒ»¶¨µÄÓ°Ïì¡£
¡¡¡¡ÔÚÄ£Äâ·´ÉøÍ¸½øË®µÄNaClÈÜÒºÖУ¬Ö÷Òª´æÔÚµÄÑõ»¯»¹Ôµç¶ÔΪO2/OH-,Æäƽºâ·´Ó¦£º
¡¡¡¡
¡¡¡¡O2/OH-µÄƽºâµçλ£º
¡¡¡¡
¡¡¡¡Ê½ÖУºE¦È¡ª¡ª±ê×¼µç¼«µç룬V;
¡¡¡¡R¡ª¡ªÍ¨ÓÃÆøÌå³£Êý£¬8.315 J/(K¡¤mol);
¡¡¡¡T¡ª¡ªÊÔÑéÈÜÒºµÄ¾ø¶Ôζȣ¬K;
¡¡¡¡F¡ª¡ª·¨ÀµÚ³£Êý£¬96 484.6 C/mol;
¡¡¡¡P(O2)¡ª¡ªÑõµÄ¾ø¶ÔѹÁ¦£¬atm(1atm = 0.101 3 MPa);
¡¡¡¡c(OH-)¡ª¡ªOH-Ũ¶È£¬mol/L.
¡¡¡¡ORPÓëÑõ»¯»¹Ôµç¶ÔµÄ·´Ó¦ËÙ¶ÈÓйأ¬²¬µç¼«ÉÏO2/OH-µÄ·´Ó¦ÊÇÒ»¸öºÜÂýµÄ·´Ó¦£¬¼´Ê¹ÔÚÑõÖÊÁ¿Å¨¶È¸ß´ï10 mg/Lʱ£¬ORPÒ²²»»á´ïµ½O2/OH-µÄƽºâµç룬¹ÊNaClÈÜÒºµÄORPСÓÚ°´Ê½(2)¼ÆËãµÃ³öµÄEOER¡²2¡³¡£ÓÉʽ(2)¿ÉÖª£¬EOERËæ×ÅP(O2)µÄÔö´ó¶øÔö´ó£¬Ëæ×ÅTºÍpHµÄÔö´ó¶ø¼õС£¬ORPÒ²Ó¦¾ßÓÐÏàͬµÄ±ä»¯Ç÷ÊÆ¡£²ÎÕÕʽ(2),¿É¶ÔORPÓж¨ÐÔµÄÁ˽⣬µ«¶¨Á¿Êý¾ÝÐèͨ¹ýÊÔÑé²âµÃ¡£µç³§·´ÉøÍ¸½øË®µÄpHͨ³£¿ØÖÆÔÚ7¡«8,±ä»¯²»´ó£¬¶ø¸÷µØµç³§Í¨³£»áÓÉÓÚ¼¾½Ú±ä»»ÆäË®Ìåζȷ¢Éú²»Í¬³Ì¶ÈµÄ±ä»¯£¬Î¶ȵĸı仹»áÒýÆðÈܽâÑõŨ¶ÈµÄ¸Ä±ä£¬¹ÊÐèͨ¹ýÄ£ÄâÊÔÑéÑо¿Î¶ȺÍÈܽâÑõ¶ÔORPµÄÓ°Ïì¡£
¡¡¡¡2.2 ¾²Ì¬ÊÔÑé
¡¡¡¡¸ù¾Ýµç³§·´ÉøÍ¸½øË®´¦Êµ¼Ê²âÁ¿Î¶ȵĿÉÄܱ仯·¶Î§£¬ÀûÓÃˮԡ¹ø½«ÈÜҺζȴÓ15 ¡æÉýÖÁ35 ¡æ£¬¿¼²ìζȶÔORP¾²Ì¬²âÁ¿ÖµµÄÓ°Ï죬½á¹ûÈçͼ 3Ëùʾ¡£
ͼ 3 ORP¾²Ì¬²âÁ¿ÖµºÍζȵĹØÏµ
¡¡¡¡ÓÉͼ 3¿ÉÖª£¬ORPËæ×ÅζȵÄÉý¸ß¶ø½µµÍ£¬Óë2.1ÖеÄÀíÂÛ·ÖÎöÏà·û¡£±í 2Ϊ4ÖÖζÈÏ»ù±¾Ç÷ÓÚÎȶ¨µÄORP±í²âÁ¿Öµ£¬´Ó15 ¡æµ½35 ¡æ£¬ORP±í²âÁ¿Öµ½µµÍÁË30 mV,¼õСԼ12%.
¡¡¡¡Í¨¸ß´¿µª³ýÑõ£¬¿¼²ìÈܽâÑõ¶ÔORP¾²Ì¬²âÁ¿ÖµµÄÓ°Ï죬½á¹ûÈçͼ 4Ëùʾ¡£
ͼ 4 ͨµª³ýÑõ¹ý³ÌÖÐORP¾²Ì¬²âÁ¿ÖµµÄ±ä»¯£¨25 ¡æ£©
¡¡¡¡ÓÉͼ 4¿ÉÒÔ¿´³ö£¬Ëæ×Åͨµª³ýÑõ¹ý³ÌµÄ½øÐУ¬ORP±í²âÁ¿Öµ²»¶Ï¼õС£¬×îСֵΪ104 mV,Ϊ³ýÑõǰµÄ37%,´Ë±ä»¯Ç÷ÊÆÒ²Óë2.1ÖеÄÀíÂÛ·ÖÎöÏà·û¡£Õû¸ö³ýÑõ¹ý³ÌÖУ¬ORP±í²âÁ¿Öµ¼õСԼ170 mV,±íÃ÷Èô·´ÉøÍ¸½øË®µÄÈܽâÑõ²¨¶¯½Ï´ó£¬»á¶ÔORP²âÁ¿²úÉú½Ï´óÓ°Ïì¡£
¡¡¡¡2.3 ¶¯Ì¬ÊÔÑé
¡¡¡¡Í¼ 5Ϊ14 ¡æºÍ28 ¡æÏÂNaClÈÜÒºORPµÄ¶¯Ì¬²âÁ¿½á¹û£¬Í¬Ê±¼à²âÁËÈܽâÑõº¬Á¿µÄ±ä»¯¡£
ͼ 5 ¶¯Ì¬ÊÔÑé½á¹û
¡¡¡¡ÓÉͼ 5¿ÉÖª£¬2ÖÖζÈÏÂÈܽâÑõº¬Á¿µÄ²îÒì½Ï´ó£¬14 ¡æÏµÄÈܽâÑõΪ9.7¡«9.9 mg/L,28 ¡æÏµÄÈܽâÑõΪ7.1¡«7.3 mg/L,ζȺÍÈܽâÑõº¬Á¿µÄ²îÒ칲ͬµ¼ÖÂÁËORP±í²âÁ¿ÖµµÄ±ä»¯£¬28 ¡æÊ±µÄORP½Ï 14 ¡æÊ±½µµÍ34 mV,¼õСԼ17%.ORP±íÔÚ¶¯Ì¬Ä£Äâ·´ÉøÍ¸½øË®µÄORP²âÁ¿ÖµÊ±Îȶ¨ÐԽϺ㬲¨¶¯·¶Î§²»³¬¹ý15 mV.
¡¡¡¡2.4 µç¼«±íÃæ×´Ì¬
¡¡¡¡ÔÚ½øÐÐORP¾²Ì¬ÊÔÑéʱ£¬·¢ÏÖORP²âÁ¿ÖµµÄÖØÏÖÐÔ²¢²»ÀíÏ룬½á¹ûÈç±í 3Ëùʾ¡£
¡¡¡¡Óɱí 3¿ÉÖª£¬ORPµÄ×î´ó²âÁ¿ÖµÓë×îС²âÁ¿ÖµÖ®¼äµÄ²îÖµ´ï25 mV.O2/OH-Ϊ·´Ó¦»ºÂýµÄÈõƽºâÌåϵ£¬ORPµç¼«ÉÏÈôÎü¸½Ä³Ð©ÔÓÖÊ»òÆøÅÝ»áÓ°ÏìÆäµç×Ó½»»»ËÙÂÊ£¬Ôö´ó²â¶¨Îó²î¡£´ËÊÔÑé¹ý³ÌÖУ¬ORPµç¼«ÔÚ²âÁ¿Ç°½ö°´³£¹æ·½·¨ÓóýÑÎË®½øÐÐÁ˳åÏ´£¬¶øORPµç¼«µÄ²âÁ¿µç¼«Îª²¬µç¼«£¬²¬½ðÊô±íÃæ²¢·ÇÍêÈ«¶èÐÔ£¬»á»ºÂýÉú³ÉÑõ»¯Ä¤£¬²¢ºÜÄѱ£Ö¤±íÃæ¾ø¶Ô¹â½à£¬Í¨³£»á´æÔÚ°¼²Û»ò»®ºÛ£¬ÈÝÒ×Îü¸½²âÊÔÈÜÒºÖеÄÎïÖÊ£¬¼´Ê¹±»·´¸´³åÏ´Ò²¿ÉÄÜÎÞ·¨Ï´¾»£¬´Ëʱµç¼«»áÓС°¼ÇÒäЧӦ¡±,ÓÈÆäµ±²âÁ¿ÍêŨ¶ÈÏà¶Ô½Ï¸ßµÄÈÜÒººó¾ÍÁ¢¼´²âÁ¿Å¨¶ÈÏà¶Ô½ÏµÍµÄijÈÜÒº¡²3¡³¡£ÎªÊ¹²âÊÔ½á¹û׼ȷ£¬µ±´ý²âÈÜÒºµÄŨ¶È»òÑõ»¯»¹ÔÐԱ仯½Ï´óʱ£¬ÐèʹÓÃÑÀ¸àµÈκÍÄ¥Á϶Բ¬µç¼«±íÃæ½øÐÐÇåÏ´£¬²¢½«²¬µç¼«ÔÚ´ý²âÈÜÒºÖнøÐжà´Î½þÅݺͳåÏ´¡£¶Ôµç¼«±íÃæ½øÐгä·ÖÇå½à´¦Àíºó½øÐÐÁËÖØ¸´²âÁ¿£¬½á¹ûÈç±í 4Ëùʾ¡£¡£
¡¡¡¡Óɱí 4¿ÉÒÔ¿´³ö£¬ÖØÏÖÐԽϺã¬4´Î²âÁ¿ÖµÖ®¼äµÄ²îÖµ²»³¬¹ý7 mV.
¡¡¡¡3 ½áÂۺͽ¨Òé
¡¡¡¡(1)¾²Ì¬ÊÔÑé½á¹û±íÃ÷£¬Î¶ȺÍÈܽâÑõ¶Ôµç³§·´ÉøÍ¸½øË®ORPµÄ²âÁ¿¾ßÓÐÒ»¶¨µÄÓ°Ïì£¬Ëæ×ÅζȵÄÉý¸ßºÍÈܽâÑõµÄ½µµÍ£¬ORP²âÁ¿Öµ½µµÍ¡£µ±Î¶ȴÓ15 ¡æÉýÖÁ35 ¡æÊ±£¬ORP½µµÍÁË12%;ͨ¸ß´¿µª³ýÑõ£¬ORP¿É½µµÍÖÁ³ýÑõǰµÄ37%¡£
¡¡¡¡(2)¶¯Ì¬Ä£ÄⶬÏÄÁ½¼¾µç³§ÔÚÏß¼à²â·´ÉøÍ¸½øË®ORP,½á¹û±íÃ÷£¬Î¶ÈΪ28 ¡æÊ±µÄORP²âÁ¿Öµ±ÈζÈΪ14 ¡æÊ±½µµÍÁË17%,ORP±íµÄ¶¯Ì¬²âÁ¿Îȶ¨ÐԽϺá£
¡¡¡¡(3)ORPµç¼«±íÃæ×´Ì¬¶Ô²âÁ¿µÄÓ°Ïì½Ï´ó£¬Ðèͨ¹ý³ä·ÖÇåÏ´±£Ö¤½ðÊôµç¼«±íÃæµÄ½à¾»¡£
¡¡¡¡(4)ΪÌá¸ßµç³§·´ÉøÍ¸½øË®ORP²âÁ¿µÄ׼ȷÐÔ£¬ÒÔÕýÈ··´Ó³É±¾ú¼ÁºÍ»¹Ô¼Áº¬Á¿µÄ²¨¶¯£¬Ò˶¨ÆÚ¶Ôµç¼«½øÐÐÇåÏ´£¬²¢×îºÃʹORP±í²âÊÔË®ÑùµÄζȺÍÈܽâÑõ»ù±¾±£³Ö²»±ä;ÈôÎÞ·¨½øÐкãδ¦Àí£¬ÇҸõØÇø²»Í¬¼¾½ÚµÄβîÓֽϴó£¬ÔòÐèÖÆ¶¨¶ÔÓ¦²»Í¬¼¾½ÚµÄORP¿ØÖÆÖµ£¬·ÀÖ¹Ò©¼Á³¬±êʱ£¬ÒòζÈÉý¸ßµ¼ÖÂORP²âÁ¿ÖµÆ«µÍ¶øÎóÒÔΪºÏ¸ñ¡£














