Ë®ÄàҤͷÊìÁÏó÷Àä»úÓà·çζȣ¬Õý³£Çé¿öÏÂԼΪ200¡«250¡æ×óÓÒ£¬Ëæ×Åó÷Àä»úÄÚÊìÁÏÁ¿µÄÔö¼ÓÓà·çζÈÏàÓ¦Ôö¸ß£¬Ò»µ©Ò¤ÄÚ³öÏÖÉÏÊö¶ñÁÓ¹¤¿ö£¬Óà·ç˲¼äζȾͿÉÄÜ»á¸ß´ï400¡æÒÔÉÏ¡£Ä¿Ç°£¬Ë®ÄàҤͷ´ü³ý³¾Æ÷¹ã·º²ÉÓõĸßÎÂÂËÁÏÄÍμ«ÏÞԼΪ200¡æ£¬³¤ÆÚʹÓõŤ×÷ζÈСÓÚ180¡æ¡£Òò´Ë£¬ÑÌÆøÔÚÈë´ü³ý³¾Æ÷ǰ±ØÐë²ÉÈ¡Êʵ±µÄ½µÎ´ëÊ©¡£¶à¹ÜÀäÈ´Æ÷ÒòÆä¾ßÓнṹÉè¼Æ¼òµ¥¡¢ÔËÐÐÎȶ¨¿É¿¿µÈÌØµã¶øµÃµ½¹ã·ºÓ¦Óã¬ÓÈÆäÊÊÓÃÓÚҤͷÉÐδ°²×°ÓàÈÈ·¢µç×°ÖõÄÀϳ§ÀÏÏß»òµç¸Ä´üÏîÄ¿¡£
1³£¹æÉè¼Æ´æÔÚµÄÎÊÌâ
¸ù¾Ý³£¹æ¶à¹ÜÀäÈ´Æ÷Éè¼Æ(¼ûͼ1)¼°ÏÖ³¡Ê¹ÓþÑé·¢ÏÖÒÔÏÂÎÊÌâ¡£µ±¸ßꬳ¾ÑÌÆøÊ×ÏȸßËÙ½øÈë¶à¹ÜÀäÈ´Æ÷Éϲ¿¼¯ÆøÏäºóÖ±½Ó½øÈë¹ÜÊøÄÚ²¿£¬ÊƱØÔì³ÉÀäÈ´É豸ÄÚ²¿¾Ö²¿×èÁ¦ÖèÈ»Ôö¼Ó¡£º¬³¾ÑÌÆøÖиßŨ¶È¡¢¸ßĥʴÐÔ¿ÅÁ£Î¶Ô¼¯ÆøÏä¼°¹ÜÊøÄÚ±ÚÔì³ÉÑÏÖØ³åË¢£¬¼ÓËÙÉ豸ĥËð¡¢ÀÏ»¯£»¼´±ãÍâ½ç»·¾³Î¶ȽµµÍ(È綬¼¾)£¬³£¹æ¶à¹ÜÀäÈ´Æ÷¾¡¹Ü¿ÉÒÔͨ¹ý¼õÉÙÖáÁ÷·ç»úÔËÐÐ̨Êý£¬ÊµÏÖ½ÚÄÜÄ¿±ê£¬µ«º¬³¾ÑÌÆøÈÔÐëͨ¹ýÉϲ¿¼¯ÆøÏä¡¢¹ÜÊø£¬ÓÉϲ¿»Ò¶·³ö¿ÚÅųö£¬¹ÜÊøÄÚ±ÚÄ¥ËðÈÔ²»¿É±ÜÃâÈ»½Ï¸ß¡£

2ÓÅ»¯Éè¼Æ·½°¸
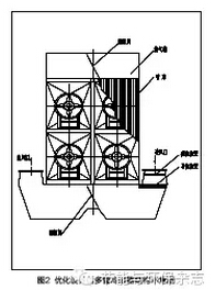
Õë¶ÔÏÖÓÐÎÊÌâÎÒÃǽøÐÐÁËÓÅ»¯Éè¼Æ£¬Æä½á¹¹Ê¾ÒâͼÈçͼ2Ëùʾ¡£

¸ßꬳ¾ÑÌÆøÓÉÀäÈ´Æ÷Ò»²àϲ¿½ø·ç¹ÜµÀ½øÈ룬½ø·ç¹ÜµÀÄÚ°²×°ÓÐÓÉ¶àÆ¬³áƬ¹¹³ÉµÄºá½ØÃæ³ÊÕ¤¸ñ×´µÄÑÌÆøÕûÁ÷×°Ö㬶ԽøÈëÀäÈ´Æ÷µÄ¸ßËÙ¸ßꬳ¾ÑÌÆøÔ¤ÏȽøÐÐÕûÁ÷£¬ÒÔ¸ÄÉÆ½ø·çÆøÁ÷Á÷̬£¬½µµÍ¾Ö²¿×èÁ¦¡£Í¬Ê±£¬ÔÚ½ø·ç¹ÜµÀÓë»Ò¶·µÄ½áºÏ²¿°²×°ÓÐÆø¶¯°ÙÒ¶´°Ê½µ¼Á÷×°Öã¬Ê¹º¬³¾ÑÌÆøÖнϴó¿ÅÁ£µÄ·Û³¾Ö±½ÓÂäÈë»Ò¶·£¬¿ÉÓÐЧ¼õÉÙÆä¶ÔÀäÈ´Æ÷¹ÜÊø¡¢¼¯ÆøÏäÒÔ¼°ºóÐø´ü³ý³¾Æ÷ÂË´üµÄ³å»÷¡¢Ä¥Ëð¡£
Éϲ¿µÄ¼¯ÆøÏäÄÚÓÉ·°å·§·Ö¸ôΪÁ½¸öÏà¶Ô¶ÀÁ¢µÄ¿Õ¼ä£¬·Ö±ðÓëÏàÁÚµÄÁ½¸ö¹ÜÊøµ¥ÔªÏà¶ÔÓ¦¡£ÀäÈ´Æ÷ϲ¿ÏàÁÚ»Ò¶·µÄ½áºÏ²¿Ò²°²×°Óз°å·§¡£µ±¶Ô¸ßÎÂÑÌÆø½øÐг£¹æÀäȴʱ£¬´ò¿ª¶à¹ÜÀäÈ´Æ÷Éϲ¿¼¯ÆøÏäÄڵķ°å·§£¬²¢¹Ø±Õϲ¿ÏàÁÚ»Ò¶·½áºÏ²¿µÄ·°å·§£¬¸ßꬳ¾ÑÌÆø¾¹ý½ø·ç¹ÜµÀÄÚµÄÕûÁ÷¡¢µ¼Á÷×°Öúó£¬ÏòÉϽøÈëÒ»²àµÄ¹ÜÊøµ¥Ôª£¬ÓÉÖáÁ÷·ç»ú¶ÔÆä½øÐÐÀäÈ´£»ÀäÈ´ºóµÄº¬³¾ÑÌÆøÍ¨¹ý¹ÜÊø½øÈë¸Ã²à¹ÜÊøµ¥Ôª¶¥¶ËµÄ¼¯ÆøÏ䣬ÔÙ´©¹ýÉèÖÃÔÚ¼¯ÆøÏäÄڵķ°å·§£¬½øÈëÁíÒ»²àÏàÁڵĹÜÊøµ¥Ôª½øÐÐÔÙÀäÈ´£¬×îÖÕÓÉÉèÖÃÔÚÏàÁÚ»Ò¶·Éϵijö·ç¹ÜµÀÅųö¡£
µ±¹¤ÒÕ¿ØÖÆÎ¶ȻòÍâ½ç»·¾³Î¶È(È綬¼¾)´ïµ½»ò½Ó½üÑÌÆø×ÔÈ»ÀäÈ´ËùÐèζÈʱ£¬Ôò¿ÉÍ£ÔËÈ«²¿»ò²¿·ÖÖáÁ÷·ç»ú£¬ÒÀ¿¿Éϲ¿¼¯ÆøÏäÄÚ·°å·§Óë»Ò¶·½áºÏ²¿·°å·§¼äµÄÏ໥ÅäºÏ£¬µ÷½Ú¿ØÖÆ¿ªÆô¶È£¬º¬³¾ÑÌÆøÍ¨¹ýÕûÁ÷ºÍµ¼Á÷×°Öúó£¬È«²¿»ò²¿·Öͨ¹ý»Ò¶·¿ÉÖ±½ÓÓɳö·ç¹ÜµÀÅųö£¬ÓÐЧ½µµÍÔËÐÐ×èÁ¦¡£
3ʵ¼ÊÓ¦ÓÃЧ¹û
¾ÓÅ»¯Éè¼ÆºóµÄҤͷÀäÈ´Æ÷³É¹¦Ó¦ÓÃÓÚij2500t/dË®ÄàÊìÁÏÉú²úÏߣ¬É豸ͶÔËÖÁ½ñÒѽü2Ä꣬ƽ¾ùÔËÐÐ×èÁ¦½ÏÖ®³£¹æÉ豸½µµÍÔ¼300Pa£¬Ð¡Ê±½Úµç40kWh£¬Äê½Úµç24ÍòkWh£¬Äê½ÚÔ¼ÔËÐеç·ÑÔ¼20ÍòÔª¡£´ËÍ⣬ÓÉÓÚ½ø·ç¹ÜµÀÄÚÕûÁ÷¼°µ¼Á÷×°ÖõÄÉèÖ㬶à¹ÜÀäÈ´Æ÷ÀäÈ´¹ÜÊøµÄʹÓÃÊÙÃüÓÉ2ÄêÌá¸ßµ½5ÄêÒÔÉÏ£¬Í¬Ê±Ò²ÑÓ³¤Á˺óÐø´ü³ý³¾Æ÷ÂË´üµÄʹÓÃÊÙÃü(´óÓÚ2Äê)£¬´ó´ó½ÚÔ¼ÁËÔËÐÐά»¤·ÑÓá£














