[拼音]:Jingdezhenyao
[外文]:Jingdezhen kiln
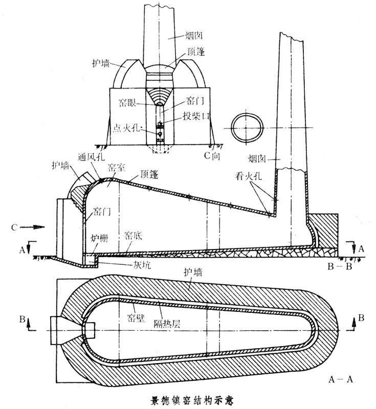
中国清代初期在景德镇地区用于瓷器烧成的一种窑。又称蛋形窑。由阶级窑演化而来。烧窑用松柴,火焰近似于半横焰半倒焰式流动。这种窑多用于烧制各种精细瓷器。
结构景德镇窑形似鸡蛋,前高后低,前宽后窄(见图)。窑拱顶在窑头处呈弧形,高约5.5m,往后逐渐下降。窑底则由窑头往后逐渐向上倾斜,与地面构成约3°角。窑身全长约18m,容积约160~200m3。窑尾设烟囱,断面亦似蛋形,囱壁前方垂直,后方向上收缩倾斜,囱顶呈钢笔尖形。燃烧室设在窑头,松柴燃烧时产生的长火焰顺着窑内用匣钵码成的通路向窑尾倾斜流动。
特点
(1)炉膛小,燃烧在整个窑室中进行,保证了较高的燃烧温度。
(2)窑室结构合理。窑体断面由前至后逐渐缩小,加大了后部气体流速,使传热过程得以强化。
(3)窑的装载密度高,可充分利用空间和热能。
(4)砌窑所用灰浆较细,窑墙严密,又有护墙,控制了冷风进入,易保证窑内的还原气氛。
(5)窑容积大,窑墙较薄,蓄热损失小。用木柴为燃料,燃烧充分,不完全燃烧热损失小,实现了烧木柴窑中的最大热利用率。
(6)砌窑不用异形砖,建筑速度快,基建费用低。
(7)操作管理复杂,技术难度高,劳动强度大。