结晶器

用于结晶操作的设备。结晶器的类型很多,按溶液获得过饱和状态的方法可分蒸发结晶器和冷却结晶器;按流动方式可分母液循环结晶器和晶浆(即母液和晶体的混合物)循环结晶器;按操作方式可分连续结晶器和间歇结晶器。常用的结晶器有:

结晶槽

一种槽形容器,器壁设有夹套或器内装有蛇管,用以加热或冷却槽内溶液。结晶槽可用作蒸发结晶器或冷却结晶器。为提高晶体生产强度,可在槽内增设搅拌器。结晶槽可用于连续操作或间歇操作。间歇操作得到的晶体较大,但晶体易连成晶簇,夹带母液,影响产品纯度。这种结晶器结构简单,生产强度较低,适用于小批量产品(如化学试剂生化试剂等)的生产。

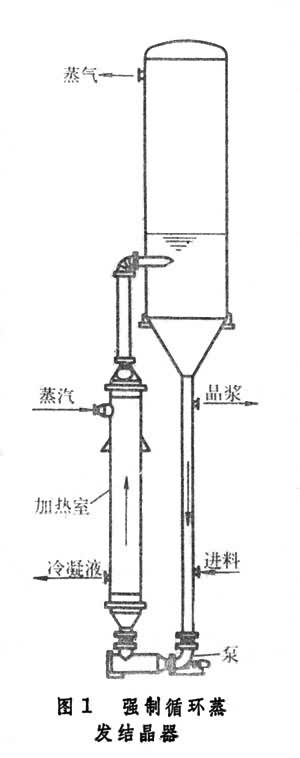
强制循环蒸发结晶器

一种晶浆循环式连续结晶器(图1)。操作时,料液自循环管下部加入,与离开结晶室底部的晶浆混合后,由泵送往加热室。晶浆在加热室内升温(通常为2~6℃),但不发生蒸发。热晶浆进入结晶室后沸腾,使溶液达到过饱和状态,于是部分溶质沉积在悬浮晶粒表面上,使晶体长大。作为产品的晶浆从循环管上部排出。强制循环蒸发结晶器生产能力大,但产品的粒度分布较宽。

图1 DTB型蒸发结晶器

即导流筒-挡板蒸发结晶器,也是一种晶浆循环式结晶器(见彩图)。器下部接有淘析柱,器内设有导流筒和筒形挡板,操作时热饱和料液连续加到循环管下部,与循环管内夹带有小晶体的母液混合后泵送至加热器。加热后的溶液在导流筒底部附近流入结晶器,并由缓慢转动的螺旋桨沿导流筒送至液面。溶液在液面蒸发冷却,达过饱和状态,其中部分溶质在悬浮的颗粒表面沉积,使晶体长大。在环形挡板外围还有一个沉降区。在沉降区内大颗粒沉降,而小颗粒则随母液入循环管并受热溶解。晶体于结晶器底部入淘析柱。为使结晶产品的粒度尽量均匀,将沉降区来的部分母液加到淘析柱底部,利用水力分级的作用,使小颗粒随液流返回结晶器,而结晶产品从淘析柱下部卸出(图2)。

导流筒-挡板蒸发结晶器 图2 奥斯陆型蒸发结晶器

又称为克里斯塔尔结晶器, 一种母液循环式连续结晶器(图3)。

图3

操作的料液加到循环管中,与管内循环母液混合,由泵送至加热室。加热后的溶液在蒸发室中蒸发并达到过饱和,经中心管进入蒸发室下方的晶体流化床(见流态化)。在晶体流化床内,溶液中过饱和的溶质沉积在悬浮颗粒表面,使晶体长大。晶体流化床对颗粒进行水力分级,大颗粒在下,而小颗粒在上,从流化床底部卸出粒度较为均匀的结晶产品。流化床中的细小颗粒随母液流入循环管,重新加热时溶去其中的微小晶体。若以冷却室代替奥斯陆蒸发结晶器的加热室并除去蒸发室等,则构成奥斯陆冷却结晶器。这种设备的主要缺点是溶质易沉积在传热表面上,操作较麻烦,因而应用不广泛。