[拼音]:shiying dianzi zhongbiao jiegou
[外文]:structure of quartz electronic watch and clock
石英电子钟表中,以电池为能源,以石英振荡器为时间基准,以集成电路为核心通过指针或数字来显示时间的结构。
石英电子钟表可简称为石英钟表,它包括石英手表和石英钟。石英钟表均有指针式、数字式和双显式 3种。从构成上看,指针式石英手表与指针式石英钟,数字式石英手表与数字式石英钟是相同的,但指针式石英钟表与数字式石英钟表却不尽相同。
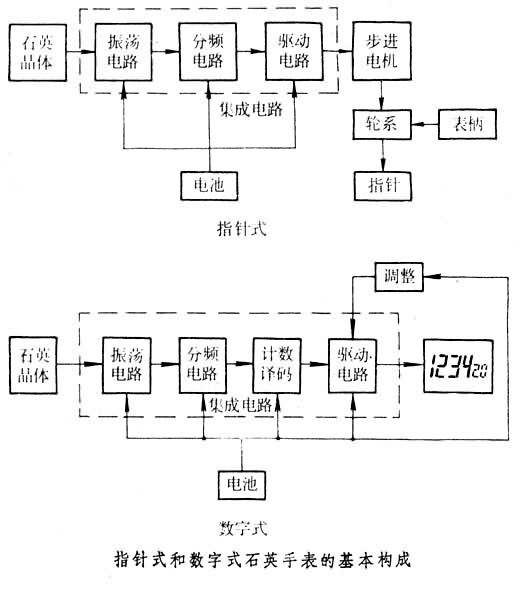
(1)指针式和数字式石英手表的基本构成(见图)。指针式石英手表又称模拟式石英手表。具有传统机械手表的指针式表盘面。根据需要,可以制成三针或两针,可以附加单历或双历。是一种受欢迎的石英手表。数字式石英手表不用指针而是用数字显示时间。显示方式有两种。一种是发光二极管显示(简称LED),因耗电大,现已不再使用;另一种是液晶显示(简称LCD),为现在的大多数数字式石英手表采用。它耗电小,结构简单,成本低。但液晶显示属于被动发光,在黑暗中要有表内照明才能看见数字,同时液晶视角较小。双显石英手表综合了以上两种石英手表的优点。它既有指针式石英手表的指针,又有数字显示,功能齐全。指针式和数字式石英手表的共同特点是:能源都是采用电池,常用氧化银电池或汞电池;时间基准都是采用石英振荡器,频率一般为 32768Hz。为了从这个频率获得时间的基本单位──秒、分和小时,采用中大规模互补型金属氧化物半导体集成电路,即CMOS集成电路。这两种手表的最大差异在于:指针式石英手表中,为了把电信号转变为指针的转动来指示时间,采用了作为换能器的微型步进电机以及齿轮传动系统;数字式石英手表中则采用数字液晶显示器件,并在电路中设有相应的控制电路和升压电路等。
(2)指针式和数字式石英钟的基本构成。石英钟的结构特点与石英手表相似,但由于石英钟可以采用较大容量的电池或以交流供电,所以可以使用发光二极管来显示时间,显示颜色鲜艳。数字式石英钟也可以制成大型钟,用在室外。液晶显示只适用于小型省电的石英钟。此外,石英钟的石英振荡器多数采用具有较好温度频率特性的4.19MHz的石英谐振器,也有采用32768Hz石英谐振器的;钟内经常附加音乐报时等功能;步进电机具有较大的输出力矩等。这些都是为了适应石英钟钟面较大、使用环境复杂等情况而设计的。
石英钟表主要由石英谐振器、集成电路、步进电机(用于指针式)、液晶显示屏(用于数字式)、手表电池或交流电源组成,此外还包括导电橡胶、微调电容、照明灯泡、蜂鸣器等元件。
石英谐振器又称石英振子。由化学成分为SiO2的人造石英晶体,按照一定的切割形式并经特殊加工制成的。利用它的正负压电效应并与电子线路连接,即可形成作为时间基准的石英振荡器。一般石英手表使用的是X+5°切型、弯曲振动模式、频率为32768Hz的音叉形石英谐振器。它的体积小,温度拐点(在拐点附近频率随温度的变化最小)选在常温,适宜戴在手腕上。石英钟常用的是AT切型、厚度切变振动模式、频率为4.194304MHz的双凸透镜形石英谐振器。它的温度特性好,能适应室内外温度变化较大的环境。
石英谐振器具有很高的品质因数,因而由它组成的石英振荡器有很高的稳定度,能大大提高钟表的走时精度。一般石英钟表的日差(见钟表日差)小于0.5秒/日,这个精度是一般机械钟表无法达到的。为了进一步提高走时稳定性,还可以采用双振子温度补偿电路或双振荡器温度补偿电路,它们可分别使走时误差缩小到5秒/月和5秒/年。
CMOS集成电路石英钟表内最关键的部件之一。石英手表要求微功耗(1µA)、小体积和低电压(1.5V),为此须采用特制的中大规模CMOS集成电路。在指针式和数字式石英手表中,CMOS所完成的功能不完全相同。在指针式石英手表中,需要完成振荡、分频、驱动步进电机等项工作,一般采用中等规模CMOS集成电路;而在数字式石英手表中,除要完成振荡、分频、升压、驱动液晶显示等功能外,往往还要完成闹时、秒表等多种功能,所以采用大规模CMOS集成电路。石英钟内的集成电路基本上与石英手表内的相似,但因为石英钟要求输出较大功率,电路的功耗(由几十微安至几百微安)也远大于石英手表,故集成电路的功耗也较大。
步进电机在指针式石英钟表内,步进电机作为换能器,把秒脉冲信号变成机械轮系的转动,带动指针指示时间。步进电机的特点是低功耗、小体积、转换效率高、结构简单。常用钟表步进电机有双偏心式、单偏心式、双凹坑式和单凹坑式等径向充磁的单相永磁步进电机,另外还有轴向充磁的双定子式步进电机。其中双凹坑式的定子做成一体,结构简单,耗电量小,应用较广。石英钟用步进电机比石英手表的体积稍大,耗电较多,有较大输出力矩。步进电机的转子磁钢采用矫顽力大、剩磁密度大的合金材料如钐钴合金等,定子常用坡莫合金,线圈多采用小线径高强度漆包线。
液晶显示屏数字式石英手表和一些数字式石英钟中用来显示时间的部件。液晶即某些有机化合物(如芳香族化合物)在液体状态下的晶体,兼具液体和晶体的双重性质。液晶屏上数字的显示是利用了液晶的扭曲效应与偏振光相配合而产生的效果。液晶屏上的每一位数字符号均由7段字划组成,由电路控制显示不同的数字。
手表电池又称扣式电池。是石英手表的能源,所起的作用相当于机械手表发条的作用。它的特点是体积小、容量高、使用期限长、放电特性好。各种扣式电池都是由正极、负极、电解质、隔离层和外壳 5部分组成。
常用的手表电池有:
(1)氧化银电池,又称银锌电池,电压为1.55V,是石英手表中应用最普遍的电池,具有较高的体能密度和稳定性,没有环境公害。
(2)氧化汞电池,又称汞电池,电压为 1.35V。是最早研制成的手表电池。由于有环境公害,已较少使用。
(3)过氧化银电池,又称二价银电池,电压1.55V。它的容量高,但电压稳定性差。
(4)锂电池。用金属锂作负极,具有电压高(一般为3V)、自放电率低、保存寿命长的特点。有较广泛的应用前途。
(5)太阳能电池。能把光能转换成电能。一般均有二次电池(镍镉电池),每天只要短时间受太阳光或灯光照射就可以使手表正常走时。石英钟也常用太阳能电池。