[拼音]:duokong kuosan xiaoshengqi
[外文]:porous diffusion muffler
根据气流通过多孔装置扩散后速度或驻点压力降低的原理研制成的一种消声器。这种消声器在20世纪70年代后得到发展,并广泛用于降低风动工具、高压设备等排放气体时所产生的噪声。
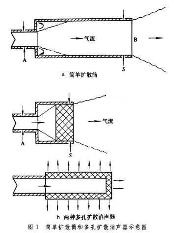
如果在原来的排气管 A的口中安装一个简单的大口径扩散筒B(图1,a),使气体通过扩散筒后排放,虽然在扩散筒 B口产生的噪声(见气流噪声)由于速度或压力的降低,要比原来的排气管A口的喷气噪声低,但由于A口喷气噪声的大部或全部还可通过B口辐射出来,所以不能达到大幅度降低噪声的目的。多孔扩散消声器是让气流通过多孔装置而扩散(图1,b)。由于每个孔的孔径非常小,产生的噪声频谱中可听声成分会降低,这相当于消除了简单扩散筒中管 A口喷气的噪声,从而达到了降低噪声的目的。
原来喷气的声功率级和扩散后喷气的声功率级的差,即是多孔扩散消声器的噪声降低值,它和扩散的有效截面比S/A1及管A中的驻点压力PS/P0之间的关系见图2。S是消声器出流面的总截面积;A1是出流的有效截面积,即气流的有效通路截面积;PS是驻点压力;P0是周围大气压力。
气流通过小孔会有阻力,使用这种消声器应注意它所引起的压降。在压力较高(几个或更多的大气压)时,多孔扩散消声器的压降和有效通路截面积是常数,不随压力变化。附表是几种多孔扩散消声器的压降和有效截面积比的实验值。由表可见,一般压降不大,可以略而不计。
在设计多孔扩散消声器时,既要考虑不因安装消声器而影响气流的排放,又要满足降低噪声的要求。设计方法是由给定的管道 A口的驻点压力(或储气罐的压力),在图2中查出满足给定的噪声降低值的扩散截面积比,然后由附表查出满足这个截面积比的粉末铜圆筒或纱网的型号,用管A口的截面积乘上这个扩散比,就可得到多孔扩散消声器的出流面的总截面积。按此面积,可将消声器做成如图1,b或其他任何有利于消声器的强度、加工和实用的外形。
以上是理想情况,实际上各小孔产生的噪声不一定能完全忽略,而且还有些未计及的实际因素,所以噪声的降低值往往要比图 2的值低一些。但多孔扩散消声器降低噪声30~50分贝是容易实现的。
为了保证排气率,实际应用的多孔扩散消声器的排气面面积要比计算值稍大一些;消声器在使用中还要定期清洗,以防尘粒堆积,堵塞气流的通路。
- 参考书目
- Eric J.Rathe(ed.),Inter-noise,pp.220~226,Zürich Switzerland,1977.