[拼音]:qiye guanli fangzhen moxing
[外文]:simulation model of enterprise management
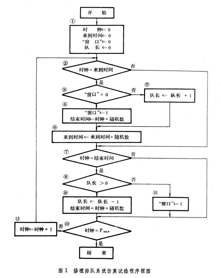
对企业管理系统中的物流、信息流以及系统状态变化规律和因果关系等用各种表达方式(如数学方程、计算机程序、流程图和方框图等)加以描述的一种概念模型,以便通过电子计算机进行仿真试验。在企业管理中,仿真模型常用来求解最优管理和最优控制等问题,如生产管理系统在制品储备量的最优控制(见存贮论)和辅助服务系统(如工具、机修、运输等)的合理配置问题(见排队论)。图1是修理排队系统仿真试验的程序框图。用程序框图进行仿真试验的工作步骤是:
(1)设第一个“顾客”(指损坏的机器)进入修理服务系统时开始仿真试验,这时将仿真时钟拨在零位置上。这样第一个顾客来到时间为零。开始时“窗口”(指服务机构)和队长数都置零。把这些数据输入计算机。
(2)将仿真时钟数值与顾客来到时刻相比较,如果相等即意味着顾客来到服务系统。
(3)询问窗口的顾客数是否为零。
(4)如果窗口的顾客数为零,顾客就可直接进入窗口接受服务,窗口赋值为1,同时产生一个服务所需时间随机数,并与仿真时钟数值相加,以确定该顾客的服务结束时间。
(5)如果窗口已有顾客在接受服务,即窗口赋值为1,则顾客就排队等待,这时队长加1。
(6)产生顾客来到时间随机数,与上一个顾客来到时间随机数相加,以确定下一个顾客来到时间。
(7)仿真时钟数值和服务结束时间相比,如果小于服务结束时间,则进入(11)框,如果相等,即顾客服务结束,就进入⑧框。
(8)询问队长是否大于零,如果大于零则进入⑨框,否则,则进入⑩框。
(9)因队长大于零,则减去1人,同时把仿真时钟值和服务所需时间随机数相加,以确定下一个顾客的服务结束时间。
(10)如果队长不大于零,则说明已无顾客等待服务,此时窗口也无顾客,窗口赋值为 0。
(11)询问仿真时钟值是否等于最大仿真延续时间Tmax。如果相等,则仿真试验结束。如果小于Tmax,则进入(12)框。
(12)在仿真时钟值上加1,再返回 ②框开始重新进行仿真。
按上述程序框图编制源程序,通过数字计算机反复进行仿真计算,直到预定的最大仿真延续时间为止。如果顾客来到时间服从泊松分布,修理服务时间服从指数分布,且顾客到达率λ=1/4,服务率μ=1/8,则通过仿真试验可知顾客排队情况。若只有一个服务窗口,顾客排队情况如图2。当延续时间到220分钟时,顾客队长陆续增加,并接近30人左右,排队现象十分严重。当设置两个服务窗口时(图3),顾客排队等待人数最多不超过5人,经常是1~2人,还间断出现无人排队现象。因此,该服务系统设置两个服务窗口是合理的。在进行仿真试验时,为简化程序设计和提高仿真试验效率,可专门设计各种仿真程序包或仿真语言。离散事件系统仿真软件适用于离散事件系统(如工厂管理、交通控制等)的仿真试验。