[拼音]:jiudi banhuozhuangfa
[外文]:mixed-in-place pile
利用搅拌和高压将需要处理的地基土和固化剂拌和,通过固化剂的水化、离子交换、团粒化、硬凝等反应就地加固软土的方法。常用的固化剂有水泥、石灰、活性工业废料、硅酸钠水溶液(水玻璃)。施工方法分深层搅拌法和高压喷射法。
深层搅拌法通过特制的深层搅拌机械,在地基中就地将软粘土(含水量超过液限、无侧限抗压强度低于0.005兆帕)和固化剂(多数用水泥浆)强制拌和,使软粘土硬结成具有整体性、水稳性和足够强度的地基土。根据上部结构的要求,可对软土地基进行柱状、壁状和块状等不同形式的加固。施工过程如图1。
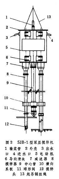
深层搅拌机一般由双层管组成,外管下端带叶片,靠管上端的电动机带动旋转,内管供输送水泥或生石灰。中国制造的SJB-1型深层搅拌机(图2)系采用三管并列,两侧管各带二叶片式搅拌头,中央管除支承两侧管外还兼作输浆管用。一次加固面积0.7~0.8米2,加固深度可达10米(改型后,加固深度大于15米)。深层搅拌法施工时,除深层搅拌机外,尚需起吊设备、固化剂制备泵送系统(灰浆搅拌机、灰浆泵、冷却水泵、管道等)、控制操纵台等设备。
软粘土经此法加固后,强度可提高10~20倍。滨海地带的软粘土上建造荷载较轻的建筑物时,用此法较适宜。
高压喷射法利用高压喷射流切削土体,及灌浆杆的旋转和升降,使土体在原位与固化剂搅拌混合均匀,凝固后在地基中形成直径约0.6~1.2米的圆柱体,也称旋喷桩。意大利的比萨斜塔的地基,即是用旋喷桩加固的。喷射管有单管、二重管(外管喷压缩空气、内管喷浆状固化剂)、三重管(外管喷压缩空气、内管喷浆状固化剂、中间管喷高压水切削土体)。高压喷射法克服了传统压入法的缺点,可较准确地控制浆液的用量、浓度和处理范围,可用于砂性土和粘性土。此外,尚可用于基坑施工止水,防止涌土、流砂、坍土。