[拼音]:jingbian zhenzhi chengquan guocheng
[外文]:process of warp-knitted loop formation
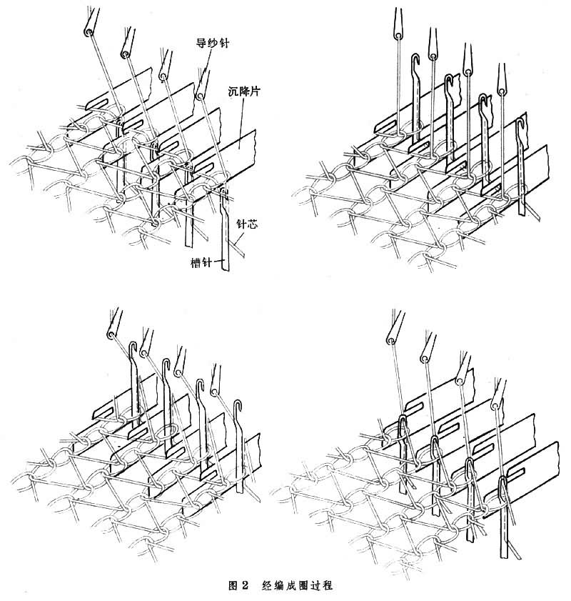
在经编针织机上用织针和其他成圈机件使纱线形成线圈的过程。基本原理与纬编针织成圈过程的编结法相似。在经编机上,平行排列的经纱从经轴上引出,分别垫放到各根织针上进行成圈。每根纱线一般每次只对一或二根织针垫纱,成圈后形成线圈横列。在这一横列中各线圈均与上一横列的相应线圈串套,从而使横列与横列相互连接。同时,纱线按一定顺序在不同织针上垫纱,成圈后构成线圈纵行之间的联系,从而形成经编针织物。现代高速经编机普遍使用槽针、槽针由针身和针芯组成。这种经编机的位移曲线(图1 )表示成圈过程中成圈机件的位移和主轴转角之间的关系。针身和针芯位移曲线的零值表示它们处于最低位置,导纱针和沉降片位移曲线的零值则表示它们位于针后的最前位置。
经编成圈过程(图2 )分为10个阶段:
(1)退圈:由于针身上升较针芯早而快,使针芯头端没入针身槽内,因而旧线圈由针钩滑落到针杆上。由坯布牵拉力或沉降片阻止旧线圈随针杆上升。旧线圈由于受到上升的针杆的摩擦作用而处于倾斜位置,因而必须增加槽针的退圈动程。
(2)垫纱:导纱针通过绕针垫纱运动将所带的经纱绕垫到槽针上。在这个阶段中,导纱针处于针孔大致与槽针头相平齐的高度上,在两槽针之间从最前位置向后摆动。导纱针摆过槽针平面后,沿针床作针前垫纱横移,在与槽针下降的同时沿针床作针背垫纱横移,移到下一横列将要垫纱的那根槽针旁。针背垫纱使同一根经纱在各横列的不同纵行中形成线圈,因而造成线圈纵行之间的横向联系。
(3)带纱:槽针向下运动,使垫到针身上的纱线滑移到针钩下。
(4)闭口:针身下降到针芯头端与针钩相平而关闭针口,从而把新纱线与旧线圈隔开。
(5)套圈:针身和针芯继续下降,使旧线圈滑移到关闭针口的针芯上。这时沉降片后退,以免沉降片片尖妨碍纱线的运动。
(6)连圈:槽针继续下降,使新、旧线圈相连。
(7)弯纱:槽针的继续下降使新纱线逐渐弯曲形成线圈。
(8)脱圈:进一步下降的槽针使旧线圈从针头脱下套到新线圈上。伴随着脱圈进行弯纱,纱线逐渐引入将形成的新线圈内。
(9)成圈:针身下降到最低位置时,新线圈形成。这时线圈中纱线的长度取决于针头相对于沉降片片喉的位置。在脱圈后经纱既可由导纱针引入,也可由与此经纱连接的上一横列的旧线圈回退而来。
(10) 牵拉:成圈前沉降片开始前移,将脱下的旧线圈和刚形成的新线圈推到槽针背后,以免槽针再一次上升时旧线圈回套到针头上。坯布的牵拉力也起着牵拉作用。
在钩针和舌针型经编机上,成圈过程与槽针型机器相仿。在钩针型机器上,纱线先绕垫到针钩上,再由针钩的第二次上升完成垫纱,而闭口则由压板压住针钩来实现。套圈是由急速后退的沉降片斜面将旧线圈抬起,套到被压住的针钩上。在舌针型机器上,由旧线圈推动针舌回转达到闭口。在双针床经编机上,两只针床的织针可对同一组纱线轮流进行成圈。