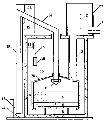
改造后的无阀滤池构造见图1。过滤时的工作情况:浑水经进水总管1流入进水分配箱22,由进水分配堰2进入竖井进水渠3,经消能板4消能后,均匀地分布在滤料层5上,通过承托层6、小阻力配水系统7进入底部配水空间8。滤后水从底部配水空间经连通区9上升到冲洗水箱 10。当水箱水位达到出水渠11的溢流堰顶后,溢入渠内,最后流入清水池。反冲洗时的工作情况:滤池运行中,滤层阻力逐渐增加,虹吸上升管14中的水位相应逐渐升高。当水位达到虹吸辅助管12管口时,水自该管中落下,并通过抽气管13不断将虹吸下降管15中的空气带走,使虹吸管中形成真空。当虹吸上升管中的水越过虹吸管顶端与虹吸下降管中上升的水柱相汇时,两股水流汇成一股,冲出虹吸下降管管口,把虹吸管中残存的空气全部带走,形成连续的虹吸流。这时,水箱中的水自下而上对滤料进行反冲洗。
图1 改造后的重力式无阀滤池结构
1 进水总管 2 进水分配堰 3 竖井进水渠 4 消能板 5 滤料层 6 承托层 7 小阻力配水系统 8 配水空间 9 连通区 10 冲洗水箱 11 出水渠 12 虹吸辅助管 13 抽气管 14 虹吸上升管 15 虹吸下降管 16 排水渠 17 反冲洗调节器 18 虹吸破坏斗 19 虹吸破坏管 20 伞形顶盖 21 水封斗 22 进水分配箱
在冲洗过程中,水箱内水位逐渐下降。当水位下降到虹吸破坏斗18时,虹吸破坏管19把小斗中的水吸完。管口与大气相通,虹吸破坏,冲洗结束,过滤重新开始。
2 技术改造要点及其分析
(1)改变浑水进水方式,取消原无阀滤池的进水U型存水弯和进水三通,增加竖井进水渠3 。竖井进水渠在池子内部连接滤池的进水分配箱和伞形顶盖。滤池进水分配箱中的浑水直接 由竖井进水渠进入锥形罩体内部。给水所中原有160m3/h的重力式无阀滤池是按国家标准 图建造的,滤池在进水过程中夹进的气体,一部分可上逸并通过排水虹吸管出口端排出池外 ,一部分将进入滤池并在伞形顶盖下积聚且受压缩。在滤池过滤阶段,受压缩的气体会时断 时续地膨胀并将虹吸管中的水顶出池外,影响正常过滤;在滤池反冲洗阶段,受压缩的气体 会使排水虹吸管虹吸破坏不彻底,造成滤池连续反冲洗。这两种现象在原有的重力式无阀滤 池运行中时有发生,影响给水所的正常生产。目前,解决这种现象采取的措施是:在进水管 上设置进水U型存水弯或在适当位置设置气水分离器。前者(国家标准图中采用的)较方便但 解决措施不彻底,后者需增加设备。为了保证进水系统不产生夹气运行现象,考虑以下几方 面:①防止滤池夹气运行。原进水系统进水管中的流速较大(规范中的设计流速为0 .5~0.7m/s),空气不易从水中分离;改造后的进水系统竖井进水渠中的流速较小(设计流速为0.1m/s左右),水流的夹气作用减弱。②排除积聚在伞形顶盖下面受压缩的气体。在过滤初期,虹吸管中气体和进水系统进水过程中夹进的气体积聚在伞形顶盖下面,由于竖井进水渠中水流速度较小,气体受压缩后易于从竖井进水渠中分离。
(2)改变进水分配箱。据报道[1]:标准图中的无阀滤池产生夹气运行的主要原 因是分配水箱中的配水堰与滤池进水管口两次水位跌差造成的,当浑水进入滤池的进水管时,在管口又形成一个"跌水漏斗"形的水封,这种水封将空气带入进水管内并阻碍从管内分离出来的空气排出。改造后的无阀滤池进水系统,由于竖井进水渠中的水流速度较小,管口水封作用减弱,所以作者认为进水分配水箱设计时仅需满足水力条件。
(3)改用单层均质石英砂滤料层,石英砂滤料层的粒径为0.8~1.0mm,厚度为1100mm。根据设计规范,滤料层的设计膨胀率取30%,反冲洗强度取15L/(s·m2),设计滤速取13m/h(为了保证安全,设计滤速偏低,通过实际运行,作者认为滤速还可以提高一些)。承托层的级配及其厚度同标准图。
(4)在虹吸上升管管口安装水封斗21。其主要作用是:①增加滤料层膨胀后与虹吸上升管管口之间的安全高度。②防止滤池反冲洗过程中跑砂。③便于滤池调试运行,防止调试过程中滤料流失。
3 运行情况
上饶铁路东门给水所水源取自信江。原水浊度在10~700NTU之间,水力循环澄清池的出水浊度在8NTU以下,改造后的无阀滤池的出水浊度在3NTU以下。运行过程中,改造后的无阀滤池与给水所原有的无阀滤池对比表明:改型后的滤池运行稳定,从未出现过夹气运行现象,工作周期比原有的无阀滤池相对延长。














