1、电气部分
1.1基本要求
1)所采用的材料、设备等均符合图纸要求及国家质量标准的合格产品。按图纸相关说明及电气国家标准进行施工。
2)涉及进出本工程的孔洞由本工程施工单位在施工的同时进行相应密封性施工,保证电气施工后原有孔洞不进蛇鼠等小动物,并符合防火要求。
3)每台电机均提供过热载、过压保护。
1.2设计依据、标准、施工规范
2.1国家有关电气设计规程、规范和标准,具体内容如下:
——供电系统设计规范,GB50052;
——低压配电设计规范,GB50054;
——通用用电设备配电设计规范,GB50055;
——建筑防雷设计规范,GB50057;
——电力装置的电气测量仪表装置设计规范,GB50063;
——电力装置的过电压保护设计规范,GB50064;
——电力装置的接地设计规范,GB50065;
——电力工程电缆设计规范,GB50217;
——钢制电缆桥架工程设计规范CECS31-91
——建筑电气工程施工质量验收规范(GB50303-2002)
——低压电器施工及验收规范GB50254—96
——1kV及以下配线工程施工及验收规范GB50258—96
2.2工艺、土建提供的用电资料。
1.3电气设备技术性能说明
我方提供全套满足本污水处理站电气系统运行和检修要求的电气设备,包括控制室GGD柜3套、就地按钮箱8套。业主在控制室内设置配电柜1只,用于对本系统进行供电,配电柜至GGD柜之间的电缆由业主提供。
采用需要系数法计算本污水处理站的用电符合,本污水处理站的总装机容量为66.43KW,运行功率为60.18KW。负荷计算如下表。

配电柜至GGD柜1#柜的总电源电缆规格为YJV-3*70+2×35mm2,数量1根
二、电动机控制
2.1电动机控制中心
2.1.1、位置:由供方布置在污水处理站控制室内。
2.2.2、用途:对现场用电设备供电,并负责对现场用电的电气回路控制。
2.2.3、形式:采用整体无焊接式拼装结构,前后但开门,柜体颜色
根据业主提供的色卡确定或为国际灰。微图柜的结构设计满足中国有关防误操作的标准和规范要求。
2.2.4、进出线方式:下进出线。
2.2.5、防护等级:户内型,IP54。
2.2.6柜内元器件:所有供电回路和控制系统均采用空气或塑壳开关。
――每个用电设备电气回路包括下列设备,但不限于此:

――主要元器件如空气开关(塑壳开关)、接触器、热继电器均采用正泰公司产品。
2.2.7、GGD柜内母线三相短路电流有效值按40kA考虑。(不设限流电抗器)母
线及引下线均为绝缘母线。
2.2.8、柜内留有不少于端子总量15%的备用端子,端子排中交流回路、直流回路、电流回路、电压回路、合闸回路、跳闸回路的端子间均应设有空端子隔离。端子排的额定值不小于10A、600V,每个端子都设有相应的编号。
2.2.9、供电回路均设有必要的电气保护(短路、过载等)。
2.2.10、控制柜具备远方/就地控制功能。提供与PLC控制系统的接口,接收来自PLC的控制信号,并将设备运行信号、故障信号、准备信号反馈至PLC系统。
2.2.12、控制电源与一次电源实现可靠隔离。
2.2.13、所有控制回路导线采用具有耐热、防潮和阻燃型绝缘的多股铜铰线。控制回路导线截面不小于0.75mm2,弱电回路导线截面不小于0.75mm2,电流互感器的二次布线的最小截面为4.0mm2。
2.2.14、每个控制柜内均设置N线、PE线铜排,位于控制柜的下方。
2.2.15、控制柜内元件安装板采用整体结构,颜色为桔黄色,板厚2mm。
2.2.16、控制柜体钢板采用冷轧钢板,板厚2mm,门板厚度不低于2.5mm,表面颜色喷塑。
2.3就地按钮箱
2.3.1位置:就地按钮箱就近布置与设备旁,便于操作。
2.3.2用途:在现场负责对现场设备的就地控制。
2.3.3形式:焊接式,户外型,防护等级应达到IP56。
2.3.4就地按钮箱中装有PLC远程IO模块、就地/远方切换开关,启动、停止按钮,运行状态显示等二次元件。
2.3.5就地按钮箱内元件安装板采用整体结构,板厚2mm。
2.3.6就地按钮箱箱体钢板采用冷轧钢板,板厚2mm,门板厚度不低于2.5mm,表面颜色喷塑,颜色与GGD柜颜色一致。
2.4接线要求
2.4.1所有对外引接电缆均经过端子排,我方在控制柜内设置端子排,所有的端子绝缘材料必须是阻燃的。每个端子只连接一根外部导线,控制柜内部线路与端子排的连线也为每个端子为一根,最多不超过二根。端子排竖直安装。端子排应留有20%的备用量。端子排中交流回路、直流回路、电流回路、电压回路、合闸回路、跳闸回路的端子间均应有空端子隔离。端子排的额定值不小于10A、600V,每个端子排都将按规范编号。
2.4.2柜内所有接线均符合相应的国家规定,选用导线颜色如下表:

在每根线的两头均设有与图纸对应的线号,采用圆形号码管,采用专用号码
机打印,颜色不会褪色。号码管固定牢固,不滑落。
三、PLC控制系统部分
1概述
随着计算机自动化控制技术的飞速发展,摆在人们面前的选择也越来越广泛,我们遵循简捷性、安全性、可靠性、实用性的原则,力争设计出最适用的、最优秀的计算机自动化控制系统,减少工程的投资,降低维护开支,提高工程质量,使工厂以最高的效率运行。
我们根据污水处理站的工艺特点,该自控系统结合了控制、可视化和网络的集成化体系结构,为各个流程提出了具体的控制方式,提供详细的按标书中确定的或图纸中标明的对设备和过程进行控制、监视和数据采集、数据管理的设备。
由仪表、传感器、计算机控制硬件、软件和网络接口所集成的SCADA系统能对过程进行自动控制、生产操作、监视信息。本系统同时考虑到今后污水厂生产规模的扩建,具有灵活性并便于修改,能适应设备、控制算法或系统配置地变化,同时最大限度地保护现有投资。
2设计参照标准
我们选用的仪表、设备均通过了ISO9001质量体系认证,为了保证系统的先进性、适用性和稳定性,系统进行设计、制造、测试和验收所遵循的质量标准、试验程序和规范均参照以下标准的最新版本:
GB中华人民共和国国家标准
IEC国际电工委员会
ISO国际标准化组织
IEEE美国电子和电气工程师协会
PROWAYC国际电工委员会工业过程数据公路标准
ANSI美国国家标准协会
EIA美国电子工业学会
RS-232C数据终端设备和使用串行二进制数据交换数据通讯设备之间的连接
ISA美国仪器仪表协会
ICS4用于工业控制设备和系统的端子板
ICS6国际电工委员会
CCITT国际电报与电信咨询委员会
CCIR国际无线电通信委员会
设计依据
本系统设计主要参照以下的文献资料:
设计院提供的原设计文件
给水排水设计手册
GB-8566计算机软件开发规范
GBJ93-86工业自动化仪表工程施工及验收规范
GBJ232-82电气装置安装工程施工及验收规范
西门子WINCC和组态软件
其它标准、产品样本及技术说明
3职责范围
我们的职责包括提供该污水处理站工程自控系统和仪表设备等的成套供货,必要的备品备件,并负责应用软件的编制、设备的安装或指导安装、调试、人员培训、投运、试运行中的维护。
我们还将提供上述设备得以正常运行的供配电系统和接地系统设备、必要的信号转换设备及招标文件中规定的全部控制、电源和通讯电缆。
4控制系统说明
4.1系统概述
本污水处理站工程自控系统采用“集中监控、管理,分散控制”的集散型系统,由中控室监控计算机及PLC构成全站实时控制系统,基本功能是提供数据采集,过程控制,报警指示,报警纪录,打印生产报表,并为生产操作人员提供操作画面,通过终端人机界面的彩色显示器能够显示所要求的工艺参数以及工艺设备的运行状态,通过终端人机画面,操作人员能够修改工艺参数的设定点,并能远程控制设备的启停。
对生产过程中出现的任何非正常状况,系统将通过声光报警的方式通知操作员。报警信息将通过报警打印机打印出来,同时也在CRT屏幕上显示,同时在系统存档以备将来查询。
污水处理站自控系统能实现以下几个方面的功能:
I、对被检测参数自动进行实时检测、记录并保存;能对被控参数实现自动和手动控制,并对控制操作进行记录、保存。
II、整个系统用户界面友好、支持鼠标、易不易用。
III、系统各子系统之间实现数据充分共享。
IV、保证整个系统运行的高可靠性。
V、应用软件应对不同的用户设置使用权限,保证网络数据的保密性。
VI、整个系统安全、完整、容错能力强、开放性好。
4.2系统构成
整个控制系统由两个层次构成:
4.2.1中央监控站
中央监控站由一台中央监控计算机构成,是实现自动化监控的核心部分。该部分配一台打印机,用于打印报表、报警纪录和曲线趋势图。另外还配一台UPS不间断电源,用于厂区整个自控系统和现场仪表供电,确保自控系统不受外界的干扰。
监控计算机主要用于对污水厂的管理、调度、集中操作、监视、系统组态、控制参数在线修改和设置、记录、报表生成及打印、故障报警及打印等功能。通过彩色显示器可直观的显示全站的运行情况。监控计算机具有以下功能:
l显示工程设备的运行状态,显示工艺流程的动态参数,显示相关参数的实时趋势,历史数据及历史纪录,生成各类报表;
l打印过程控制参数的给定值、报警记录、报表、趋势图等;
l在操作过程中,设有启动、停止、复位和选择等软手动操作功能。
l监控计算机上安装有功能强大的上位监控软件,能方便、直观地组态和编程;
l系统具有在线和离线修改功能,并带有自诊断功能。
l系统运行极为稳定,不会因为误操作和通讯问题死机,重要技术参数的修改需取得相应的授权;
l可根据需要调阅历时数据和历史报警纪录,历史数据和报警纪录可保存12个月;
l所有的操作画面均为中文界面,操作简单,直接明了。
4.2.2PLC控制站
PLC控制站采用西门子S7-200系列可编程控制器。设现场控制站1套,同时在现场设若干现场IO站,现场IO站通过RIO网络与现场控制站PLC连接,实现数据采集和对现场设备的控制。
4.2.3数据通讯网络
该部分实现PLC控制站与上位机之间的数据通讯,通过串行接口实现PLC与上位机之间的连接。本系统采用工业以太网通讯。
4.3本系统具有三种控制方式
4.3.1手动控制方式
当现场控制柜上的手/自动转换开关处于手动位置时,设备只受现场控制按钮的控制,此时,PLC和上位机只负责对设备的工况进行监视而不参与控制。该控制方式具有最高优先级。
4.3.2点动控制方式
此方式也可称之位远程手动,当现场控制柜上的手/自动转换开关处于自动位置,同时上位机监控画面上的控制方式处于点动状态,此时设备只受上位机(键盘或鼠标)的控制,该控制方式具有第二优先级。
4.3.3自动控制方式
当现场控制柜上的手/自动转换开关处于自动位置,同时上位机监控画面上的控制方式也处于自动状态,此时此时PLC会根据现场的工艺参数机设备的工况完成对设备的自动控制而无须人工干预,即真正意义上的自动控制。
4.4本系统具有四大功能
4.4.1数据采集和存储功能
系统可自动连续地检测并纪录显示出污水处理过程中各个工艺环节、各个时段的液位、溶解氧浓度、出水流量等生产数据,以及生产设备的运行工况等。对采集到的数据将保存1年,以备随时调阅。
4.4.2自动保护功能
PLC和上位机能对采集到的数据进行综合分析,从而判断出生产过程中有可能发生的事故,完成自动报警和主动采取预防措施,防止事故的发生和扩大,达到保护人身和设备的目的;
4.4.3自动控制和调节功能
系统处于自动控制状态下,PLC和上位机能根据工艺参数、设备工况和控制要求,按规定的时间周期、设定的逻辑顺序和设定的工艺参数自动的起停设备、自动切换设备的交替运行。
4.4.4生产管理功能
系统能根据污水处理站的生产工艺、现场仪表所检测到的数据、生产设备运行信号等信息,协调和管理整个污水处理站生产过程的调度、各类报表的打印,趋势曲线和棒图、带图的生成等。
总之,整个系统的运行准则是“服务于工艺、服务于生产”、“指导生产,指导工作”,运行的目的是“降低能耗,优化生产,保证排放水质达标”。
4.5本系统具有三种级别的用户权限
中控室计算机可针对不同的用户设置不同的用户权限,起到安全保密的作用。
4.5.1超级用户(工程师级别)
该类用户可以在上位机上进行各类查询,打印操作,进行设备控制操作及修改各类参数设定值和报警限值,可以进行在线维护等工作。此类用户权限最高。
4.5.2二级用户(操作员级别)
该类用户可在上位机上进行数据查询、打印及设备的控制操作,但不能修改参数。
4.5.2三级用户(巡检员级别)
只能在上位机上进行工况和工艺参数的查询。
以上三类用户在进行登录和退出时计算机都有记录,以便事后查询各时段的用户登录情况,对整个系统的安全运行起了重要作用。
4.6工艺控制画面
根据业主的具体工艺特点和要求,整个站区的监控画面包括以下几部分:
污水处理工艺流程画面
数据监测画面
监测数据分析画面
设备运行情况监测画面
设备故障报警画面
各类数据报表
各类数据曲线图
各设备手动按键站
4.6.1污水处理工艺流程画面
整个工艺流程画面包括1幅总画面和9幅分画面。
4.6.1.1工艺流程总画面:
该画面主要显示污水处理站的工艺流程、进水和出水水质、各工段设备的运行工况及各工段的水质参数等,是操作人员能从整体上了解全站的工艺状况;也是模拟污水处理站建筑相对位置的动态图显示。
该画面兼起主菜单使用,包括整个污水处理工艺的7个工艺段,相互之间使用简单的连线连接起来,每点击某一工艺段,即进入此工艺段的画面。
4.6.1.2各处理工段工艺画面:
流程图画面包含以下内容:提升系统,硝化系统,TMRB系统,NF系统,RO系统,加药系统,污泥处理系统
4.6.2报表打印画面
月报表:统计水量,每天记录1次。
年报表:统计水量,每天记录1次。
设备故障报警报日表:以日报表形式记录,对上述《设备状态日报表》中出现的设备过载、泄漏、故障、跳闸等的故障均记录在《设备故障报警日报表》中。
主要设备运行工时日报表:统计污水站内主要设备一天内的运行工时数,以日报表的形式记录下来。
4.6.3实时趋势画面
该画面显示污水站各参数的趋势变化图,再同一坐标上可同时显示4个变量的变化趋势,每个变量的变化趋势以不同的颜色表示,这四个参数可以在下拉菜单中选择,任意组合,同时用户可选择不同的时间间隔,如1小时,8小时或24小时等;用户可移动纵线,查询某月某天某时的历史数据;按该画面中的打印按钮可打印出该趋势图。
4.6.4报警纪录画面
该画面为报警纪录画面,该画面纪录每次报警发生的时间、故障原因、确认时间等;当报警出现时,报警打印机立即启动,打印出报警纪录,同时在画面中该条记录在闪烁,并发出相应的声音,直至操作员确认;
4.6.8参数设定画面
在此画面中可设定相应的控制参数及报警参数设定,只有超级用户才能修改这些参数。
4.6.9设备操作对话框画面
该画面为弹出对话框,主要用对设备的操作,在任意一幅上画面上,点击设备,即弹出该画面,此画面类似于现场操作柜,可显示该设备的状态,并对该设备进行操作,如自动/点动切换、远程手动等。
电动阀类的操作对话框如下图示:

水泵、搅拌机类的操作对话框如下图示:

工艺控制画面的操作对话框如下图示(例):

报警显示操作对话框如下图示(例):

实时趋势显示操作对话框如下图示(例):

4.7控制顺序的说明
当PLC接到开、停某一设备的指令后,PLC会首先检测该设备的手/自动转换开关是否处于“自动”位置,以及与此相关的设备的选择开关是否也处于“自动”位置,如果不再,则PLC会马上给上位机发出一个回答信号“该设备不处于自动状态”,上位机显示此信息,同时PLC取消这次控制。只有选择开关设定的“自动”位置,(在上位机上可以很明显的看到),才能重发“集中控制”指令,PLC接到指令后会再去检测该设备是否处于“自动”位置,然后按预设顺序控制该设备的启停。在起停命令发出后,PLC会随时检测该设备的各类参数以保障该设备的安全运行。
4.8故障预报警说明
PLC按“集中控制”或“自动控制”指令执行后,其输出口已有正确的信号输出,但设备端没有回答信号,同时PLC通过内部的延时继电器判断和根据相关工艺量的变化情况判断出该设备没有正确响应PLC的输出时,PLC会发出一个“无响应的报警”信号,由上位机在画面上弹出“新生故障窗口”,发出预报警。
5主要自控设备技术性能描述:
5.1监控计算机
产地:联想
主要技术参数及特点
CPU:INTELP42.8GHZ
内存:512MDDR333SDRAM
硬盘:160G7200转48XCD-RW
显示器:21”液晶显示器
键盘,鼠标
集成10/100/1000网卡,带远程唤醒功能 ASF,
集成英特尔(R)Extreme图形技术
操作系统:WindowsXP专业版
5.2激光打印机
产地:美国HP公司
主要技术参数及特点
打印技术:按需热喷墨打印技术
幅面:A4
打印速度:1.5~7ppm
端口:符合IEEE1284标准的双向并行接口
5.3PLC控制器
本方案主控站设在控制室,内设I/O控制柜及上位机操作作台各一套,PLC控制采用德国西门子公司的S7-200系列控制系统:主控站选用西门子公司具有Profibus-DP接口可编程序控制器,可实现I/O模块的分散安装。上位机选用联想公司的工控机,采用微软公司的WINNT4.0操作系统和西门子公司的WINCC组态软件包。西门子公司的S7-200系列可编程控制器采用模块化设计,坚固耐用,容易扩展并且具有广泛的通讯能力;分布式体系结构、用户友好的操作环境保证系统能够适应复杂的生产过程控制和管理要求并成为中、高档性能控制领域中的首先解决方案。该系统控制准确、可靠,使用灵活方便,投资经济合理,可广泛适用于电力、环保、石化、冶金、建材、制药等领域。
※系统结构
本方案控制系统采用分布式I/O系统结构。整个网络系统共分为3层:上位机系统、主控制站、现场就地监测仪表。
5.3.1、上位机系统负责数据的集中显示、操作、管理、软手动与组态等待。上位机系统选用性能稳定可靠的工控机作为工程师站,上位机通过Profibus-Dp总线结构与可编程控制器连接,中央控制系统通过控制电缆和现场仪表相联系满足工厂现代化管理的要求。
5.3.2主控制站负责数据的采集、数据运算、连接上位机、连接分布式现场仪表。所有的模块均采用DIN标准导轨安装;背板总线集成在模块上,模块间通过总线连接器相连,总线连接器插在机壳的背后。本控制系统主要由CPU、电源模块、信号模块等几部分组成。
※模块介绍
5.3.3、中央处理单元CPU:CPU主要承担系统的信号处理、控制运算、与上位机及其他单元的通讯等任务。本方案选用的高性能CPU具有较大的数据与程序存储容量,高速的指令处理系统,强大的浮点运算功能以及智能诊断功能。
5.3.4、PLC电源模块可提供24V直流电源;既可对I/O模板供电,也可对现场
二线制变送器供电。本系统通过另外配置的电源对现场二线制变送器供电。
5.3.5、信号模块:信号模块负责现场信号的采集和控制输出。
信号模块包括以下四种:4通道模拟量输入单元;1:2电流模块输出单元;32点数字量输入单元;32通道数字输出量单元。其中模拟量输入、输出单元各通道均采用光电隔离,可以保证信号输入、输出的可靠性与稳定性。
高性能的CPU、分布式I/O体系结构可以确保系统安全、快速、稳定、可靠地运行。
※软件介绍
5.3.6、系统软件采用微软公司的WINDOWSNT4.0操作系统。
5.3.7、软件组成。它们既可以独立运行,也可组成一个全集成的自动化系统,为用户通过统一的开发和运行环境。通过该软件,可以创建将控制、通讯、监测、操作、诊断集成在一起的应用软件并且允许用户在线组态监控系统、修改控制程序。因此,在系统不停止运行的情况下,即可以很容易地进行在线整定、程序修改,以迅速适应变化的需要。同时还可以实现图形组态、历史趋势显示、实时跟踪显示、消息报警以及数据打印等各种管理功能。
※STEP7V5.2编程软件的主要功能:
硬件组态,参数设定;
建立通讯;
编程(梯形图、语句表、功能块等)
调试,在线监控,强制输入、输出文件、文档处理操作、诊断
※WINCCV6.0组态软件的主要功能:
可灵活剪裁,由简单任务扩展到复杂任务;
集成ODBC/SQL数据库;
强大的标准接口和统一的脚本语言;
开放的API编程接口访问WINCC函数和数据;
通用向导的简易(在线)组态;
提供所有主要PLC系统的通讯通道
S7-200PLC简介
※结构
简单的结构使得S7-200灵活而易于维护
※DIN标准导轨安装只需要简单的将模块钩在DIN标准导轨上,转动到位,然后用螺栓旋紧。
※集成的背板总线背板总线集成在模块上,模块通过总线连接器相连,总线连接器插在机壳的背后。
※更换模块简单且不会错更换模块时,只需要送开安装螺钉,很简单的拔下已接线的前连接器。在前连接器上的编码防止将已接线的连接器插到其他的模块上。
※确定的安装深度所有的端子和前连接器都在模块的凹槽内,并有盖板保护,因此所有的模块都有相同的安装深度。
※没有槽位的限制信号模块和通讯处理模块可以不受限制的安装到任何一个槽位上,系统自行组态。
※独立安装
每个机架可以距离其他机架很远距离安装,两个机架间最长距离可以到10米。
但用Profibus结构的不受此限制。
※布置灵活
机架可按照需要进行最佳方式的布置,可水平或垂直安装。
※功能
SIMATICS7-200的大量功能支持和帮助用户进行编程、启动和维护。
※高速的指令处理
0.6-0.1us的指令处理时间在中等到较低的性能要求范围内开辟了全新的应用领域。
※浮点运算
用此功能可有效的实现复杂的数学运算。
※方便用户的参数赋值
一个带标准用户的接口软件工具给所有的模块进行参数赋值,这样就节省了入门和培训的时间。
※人机界面
方便的人机界面服务已经集成在S7系统内。因此人机界面编程要求大大减少。
※诊断功能
CPU的智能化诊断系统连续的监控系统的功能是否正常,记录错误的特殊的系统事件(如:超时、模块更换、运行方式的改变等)
※口令保护
多级的用户程序的口令保护可使用户方便、高效的保护其技术机密,防止未经许可的复制和修改。
操作方式选择开关
操作方式选择开关可以象钥匙一样的被拔出,当钥匙被拔出时不能改变其工作方式,当CPU处于RUN方式时,将钥匙拔出,可防止非法的删除和改变用户程序。
※强大的通讯和组网功能
我们选用S7的CPU上集成Profibus-dP接口,可直接连接到PROFIBUS-DP网络上,带有主从结构的PROFIBUS接口能够实现高速的、用户方便的分布式自动化组态。通过PROFIBUS-DP分布式I/O就象处理集中的I/O一样,有相同的组态、地址
※上位机操作站描述
5.3.8、功能概述
监控站是一个由工作站和过程管理器节点通过Profibus-dp连接成的分散式控制系统,它形成了为不同的用户提供信息的可靠的数据采集系统的基础。
5.3.9、监控站功能
监控站系统可以实现的广泛的任务依赖于它的集中基本功能:
˙数据采集:从现场读取数据
˙数据管理:对获得的数据进行操作或传输
基于这些基本功能,监控站可以实现更高一级的功能,包括:
˙数据显示:监控站可以作为一有效的显示媒体
˙报表:监控站可以显示基于短期或长期的数据存储和归档的显示趋势和生成用于分析的报表
˙开放式结构:监控站提供了工具以支持工程师开发自己的软件,特别是满足工厂的特殊需要。
5.3.10、基本功能
数据采集:监控站从现场获取数据并将其处理成有用的格式,数据也可被写至现场。监控站通过称为I/Odriver的软件接口与现场设备直接通讯。
数据管理:监控站按照应用软件的要求操作和传输需求的数据。
数据设定:监控站可根据用户的需要,进行相关参数的调整和设定。
5.3.11、显示
监控站可将采集的整个现场实时数据送给有关人员和其他设备使用。数据在PC机的屏幕上以有效而又符合人类工程学的图形方式显示给操作员,它可全部或部分替代传统的控制室面板。
监控站可提供如下服务:
˙操作员监视:现场的实时数据以数字,文本和图形方式显示给操作者以使信息易于理解。
˙监控:操作员可监控实时数据,并可直接从计算机上改变设定值及其它关键数据。
˙报警:例外事件可被监控站识别,监控站可用不同方式在操作站上立即产生报警。
5.3.12、报表
数据获取:监控站可从系统中采集任何数据点并按用户定义的速率存储。数据可被调用以形成历史趋势文件,用于详细检测和分析——有助于进行错误检测和过程优化。
报表生成:一个可选的报表生成软件包支持操作者建立基于电子表格的详细的报表。这些报表包含了采集来的实时数据及计算所的历史数据。报表可按特定的日期或时间来规划,或者可以用一数字状态的改变来触发。详细的报表可作为里线过程性能分析的基础。
5.3.13、基于时间的处理
监控站可以规则的间隔访问和处理数据------从几秒到几小时------可对每个数据点单独设定。基于时间的处理允许你当现场数据有些需要快速相应而有些只需要相对不频繁的响应时合理的分配处理负担。
5.3.14、基于例外事件的处理
在一些工厂中只有在某些重要事件发生后,如设定点改变------而不是与现有规则的中断,才处理的数据点。这种基于例外事件的处理更加有效。这种基于例外事件的处理特别适用于数据很少变化,但当它变化时必须立即相应的应用。
监控站节点可以同时执行这两种处理,所以你可以为系统中的每个节点选用最合理的策略。
无论系统处于何种工作方式,电气系统均保证有可靠的性能,有足够的安全防护,保证设备和人身的安全。我们在主控系统上设有急停开关。
6.主要设备的逻辑控制描述:
6.1例进水提升泵的控制:

进水提升泵与池内液位计联锁,根据调节池液位,当液面低于低液位时发出低液位报警信号同时停止所有泵的运行。当液面位高于高液位时,启动提升泵,当液面高于超高液位时,发出高位报警信号。
正常情况下,泵1用1备,当一台泵运行时间达到6小时时,自动切换至备用泵运行;当运行泵出现故障时,自动切换至备用泵运行。
每一台泵的启动次数和运行时间都将被记录,作为维修依据。
6.2例A反应池搅拌机控制流程图

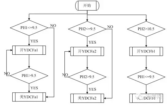
6.1.3例PH控制控制流程图

7设备安装及工作分界面:
7.1工程划分:从控制电柜PLC输入、输出点至各设备位;
7.2工程内容:
1)控制电柜、设备、仪表的订购及所需的原材料购置;
2)各设备至电控柜的控制回路及信号线敷设(多芯电缆及屏蔽电缆);
3)控制室电柜及现场设备和仪表的安装、调试;
4)控制电柜设有各路设备手动调试按键站并标识;
四、检测仪表部分
我们对该污水处理工程的仪表选型,是基于对该工艺要求的充分理解的基础上,同时结合的在其它同类工程仪表使用的经验,我们所选用的仪表产品在污水处理行业有很多的应用业绩,能为客户提供迅速及时的技术服务和技术支持。
1.电磁流量计:
一、概述:
产品特点
*采用非均匀磁场的新技术及特殊的磁路结构,磁场稳定可靠,而且大大的缩小了体积,减轻了重量,使流量计具有小型轻量化的特点。
*采用专门的电子线路,具有空和自动复零的功能,计量更准确。
*在现场可根据用户实际需要在线修改量程。
*无可动部件,无组流部件,测量中几科无附加压力损失。
*测量结果与流分布、液体压力、温度、密度、粘度等物理参数无关。
*使用方便,安装后只需接上电源,不需其它任何操作,即可输出标准信号,便于非专业人员使用。
应用领域
由于电磁流量计有其独特的优点,因此被广泛应用于化工化纤、食品、造纸、制糖、矿冶、给排水、环保、水利水工、钢铁、石油、制药等工业领域中,用来测量各种酸、碱、盐溶液、泥浆、矿浆、纸浆、煤水浆、玉米浆、纤维浆、糖浆、石灰乳、污水、冷却原水、给排水、盐水、双氧水、啤酒、麦汁、各种饮料、黑液、绿液等导电液体介质的体积流量。
二、主要技术标准
公称通径系列ND(mm)
管道式四氟衬里:10,15,20,25,32,40,50,65,80,100,125,150,200,250,300,350,400,450,500,600
管道式橡胶衬里:40,50,65,80,100,125,150,200,250,300,350,400,45,500,600,800,100,120
注:特殊规格可定制
精度等级:
管道式:0.5级,1.0级
被测介温度:
普通橡胶衬里:-20~+60℃;高温橡胶衬里:-20~+90℃
聚四氟乙烯衬里:-30~+100℃;高温型四氟衬里:-30~150℃
2.超声波流量计:
特点
高精度测量
线性度优于0.5%,重复性精度优于0.2%,测量精度优于±1%
测量范围大
选用不同型号的传感器,可实现口径DN15~DN6000mm管道流量的测量
支持中英文菜单不同版本的流量计,可支持中文或英文菜单,方便快捷
可靠性高
采用低电压、多脉冲发射电路,测量精度、使用寿命及可靠性大幅提高
抗干扰能力强
采用双平衡信号差分发射、接收电路,有效抵御变频器,电视塔、高压线等强干扰源
强大的记忆功能
自动记忆前64日、前64月、前5年的累计流量,自动记忆前64次来电和断电时间和流量,自动记忆前64日流量计的工作状态是否正常。
固定超声波流量计被测流体可以是水、海水、污水或油、浆液之类均匀液体,导电或非导电,有腐蚀性或无腐蚀性液体均可测量。背光液晶全中文显示瞬时流量计及正、负、净累积流量、流速、时间、模拟输入等数据,可适用于钢、不锈钢、铸铁、水泥管、铜、PVC、铝、玻璃钢等质密的管道。
【简要说明】
●结构紧凑、坚固、国际先进的压铸铝机
●RS-232或RS-485接口
●可接5路4-20mA电流信号(如:温度、压力、液位等)。
●防非操作人员误动的密码锁保护
●具有声音报警提示功能(如:发生电路故障等)
●自动记忆前64日,前64个月,前5年的累积流量
●克服了少量的沉淀物、悬浮颗粒和气泡对信号的影响,提高了流量测量的准确度,特别适合于大口径管道的流量测量。
●使用专用开孔工具使传感器在带压不停水的情况下安装,独特的带压拆卸、安装方法,不影响正常生产,随时完成在线更换与检修。
●解决了由管道内壁结垢或腐蚀严重时,使用外夹式传感器信号弱测量不正常的难题。相对于其他各类流量计(如电磁流量计),在大口径管道上,性价比更高
3.电导仪:
特点和用途:
CM-230型电导率监视能对纯水和一般水溶液的电导率值进行长时间连续测量和监视,采用开孔插入式安装,具有温漂自动补偿电路,确保了产品的测量精度,它广泛适用于离子交换,反渗透等制水设备原水和产水水质的电导率值测量、监视。
主要技术性能:
~测量范围:0~2000uS/cm
分为0~20.00uS/cm、0~200.0uS/cm、0~2000uS/cm三档量程手动切换;
~显式方式:位,0.5″LCD电导率直读显示(带背光显示);
~温度补偿:自动温度补偿,基数25℃,补偿范围0~60℃;
~测量精度:±2%(F˙S);
~电极配置:1.00cm-1塑料铂黑电极,4’管道式螺纹连接,导线长度5m;
~信号输出:4~20mA电流信号(可选电导率上限报警输出);
~仪器尺寸:
面框尺寸:96×48(mm)
开孔尺寸:91×45(mm)
仪器深度:100(mm)
~仪器工作电源:AC220V±10%、50Hz;
~仪器工作条件:
环境温度:0~50℃
相对湿度:≤85%
介质温度:0~50℃
~产品检验依据:JB/T6855;
4.PH仪:

5.溶解氧仪:


6.5B-3B型COD多参数水质测定仪
5B-3B(H)型是5B-3B型COD多参数测定仪的加强型,运用了最新的电子技术彻底解决了开机时间过长对仪器稳定性的影响,对开机时间不再限制;将冷光源阵列技术应用到了多参数的测定中来,使光源灯的寿命由1000小时增加到10万小时,测定参数光路的切换由手动改为了自动切换,消除了人为转换的误差因素。

功能:
(01)直接测定COD、氨氮、总磷、浊度等多项参数,浓度直读
(02)智能按键自动扫描,自动切换测定参数*
(03)测定参数随光路的切换自动切换
(04)内存90条标准曲线可自行修定并保存
(05)内存6条多点回归拟和曲线,可自动计算并保存
(06)无须手动制作曲线,仪器可自动根据标准样品来计算存储曲线
(07)可精确存储4000个测定数据(包括测定时间、参数、数值)
(08)打印当前数据和所有存储历史数据
(09)向PC机传输当前数据和所有存储的历史数据
(10)消解功率随负载数量自动调整,做到真实恒温控制
(11)自动恒温提醒、自动倒计时提醒,定时时间可随意调节并保存
(12)3套独立定时系统,可供3人同时操作(用户可选)
技术指标:
(01)控温范围:50-190℃
(02)测定范围:COD:2-10000mg/L(分段)、氨氮:0.02-60mg/L(分段)总磷:0.02-5mg/L(分段)
(03)批处理样:12/25/36(选配)
(04)抗氯干扰:[Cl-]<1000mg/L、[Cl-]<10000mg/L(可选)
(05)精确度:COD=20mg/LV<10%、COD=200mg/LV<4.3%
(06)波长范围:420nm、460nm、510nm、560nm、610nm、700nm
(07)波长精度:±2nm
(08)曲线数量:96条
(09)存储数据:4000个
(10)定时开关:3/9个(可选)
(11)显示模式:液晶LCD
(12)操作按键:中文/英文(可选)
(13)参数切换:自动
(14)比色方式:比色皿(池)和消解比色管
五、电气部分现场安装施工方案
1施工准备工作
项目工程师将先熟悉图纸和设备技术资料,进行图纸会审并查阅相关的规范和标准,向施工组作技术、质量和安全交底。
设备基础验收。按图纸尺寸检查基础的坐标位置和标高,然后依照设备说明书(或实测)核对预留孔或预埋件尺寸,均合格后才能进行实际安装。
地脚螺栓及垫铁的准备。按设计图纸和设计说明书等资料,对设备需用地脚螺栓及垫铁的,要进行设计,以满足安装要求。
2设备二次搬运
对有包装箱的设备尽可能原封运到安装基础旁,运输过程中将根据包装箱指示确保设备正确放置。设备进厂房超过门的高度时,我公司将及时提出运装方案,特别是进口设备运输前仔细查阅说明书,以免对设备或建筑物等造成不必要的损坏。
3仪表自控系统设备的安装
仪表自控系统的安装内容较多,而且一般在土建基本完工、工艺管道和设备安装达70%以上时仪表自控专业才能大面积展开工作。这时仪表安装工作需要与管道和其他专业立体交叉配合,施工期短,工作量大,技术含量高,这是仪表自控安装的特点,一般的安装程序是:
控制室盘、箱、柜安装及现场一次仪表的安装,控制室设备的基础槽钢制作安装,各种管、线槽进出位置的确定、预留孔洞、预埋件的检查,与有关专业配合。现场一次仪表的位置、部件安装和制作。
附件制作与桥架安装,自控仪表支架、附件、附属容器、扩大管、穿墙板、保温箱、保护箱的制作安装。
控制室设备配管、配线、校线、接线、现场电缆、补偿导线敷设、仪表一次调试,气动管线、拌热管线敷设、阀门安装与研磨等。
现场自控仪表就位安装,现场自控仪表与控制室设备的接线、校线。
进行回路系统试验和信号联系系统试验。配合工艺单体试运行转。
因此,本仪表自控系统设备的安装严格按照下述顺序进行检测安装;
所供设备到达现场后,我方派工程技术人员会同业主、监理单位等有关方面人员一起进行开箱检查,严格按照施工图纸及有关合同核对产品的型号、规格、铭牌参数、厂家、数量及产品合格证,双方共同作好检查记录,签字后作为设备验货依据。如发现问题,及时做好修理更换工作。
安装前认真消化施工图和设备的技术资料,对每件设备进行单体校验和性能检查,如耐压、绝缘、尺寸偏差,要及时采取措施,保证设备质量。
严格按照施工图、产品说明书及有关的技术标准进行设备安装。施工图纸不足时,根据现场施工的要求,补足必备的施工图纸。
仪表的安装应在工艺设备安装基本就序后进行,进场后首先开展的工作应该是取源部件的安装,特别是工艺管道上的取源部件的安装(如取源接头、取压接头、流量测量元件)。这些取源点、取压点的安装位置都应满足设计要求,不影响工艺管道、设备的吹扫、冲洗及试压工作。由于仪表、计算机属于精密贵重的设备,在者现场施工专业多,人员复杂,因此应该注重仪表设备(传感器、变送器)、计算机系统的安全,选择恰当的安装时间在仪表设备整体安装前应作好准备工作。如配电缆保护管敷设,制作仪表安装保护支架,安装仪表保护箱。在工艺设备、土建专业的安装工作基本结束后,现场人员比较有序的情况下,即可进行仪表设备安装。
隐蔽工程、接地工程均认真做好施工及测试记录,接地埋设深度和接地电阻值必须严格遵从设计要求,接地线连接紧密,焊缝平整,防腐良好。每个单项工程完工之后,均按有关标准自检,及时做好施工测试、记录、资料归档及完善竣工图等工作,为工程验收做好准备。
计算机和PLC的安装,必须由专业技术人员实施,采取防静电措施,严格执行操作规程。
PLC模块安装完后,首先离线检查所有电源是否正常。
离线检查PLC程序,逐一检查模块功能及通讯总线、站号、设定及其它控制功能。
检查DI、DO、AI、AO接口,检查各路各类信号是否正确传输。
上位机安装到位后,检查网络联接情况,上下位机之间的通讯情况及网络总线的安装及保护情况。
4关键部位仪表的施工方案
污水处理站自控工程除了常规的压力、液位和流量检测仪表外,还有PH计。常规仪表的安装、调试严格按照仪表安装、调试说明书、施工图及相关规范图册进行,按工艺自控设计要求选取压点、取样点、检测点搞好取源(压)部件、取压管的安装。对于水质仪表及电磁流量计,因安装调试较常规仪表复杂,现根据我方多年施工经验,特别提出以下几个关键施工方案。
4.1流量计的安装与调试
流量是污水处理过程主要的工艺参数,流量计是根据法拉第电磁感应定律测量封闭管道中导电液体流量的仪表,目前已广泛应用于污水处理工艺中。对电磁流量计的安装与调试我公司提出如下方案:
I.首先根据仪表安装说明书,施工图及有关施工标准,测量确定流量计的安装位置,保证直管段不小于前5D后3D。
II.气割截下短管,其长度为流量计本体长度、柔口、短管、法兰尺寸及调整尺寸之和。
III.将上游工艺管口排圆,套上法兰(该法兰依据流量计法兰尺寸配套定做)焊接、内外满焊。注意焊接中变形作用,由点及面。同时焊好下游柔口护筋。
IV.从上游到下游依次收紧法兰垫片和柔口,使流量计与管道同轴度达到最佳。
V.将流量计接地法兰与工艺管道法兰用导线相连并与变送器接地端子一起并入专用接地体上,并要保证测得的接地电阻小于4欧。这样,使得被测液体电位为零电位,传感器与工艺管道为等电位体,符合测量电路的设计要求,使仪表能可靠地工作,提高测量精度,不受外界寄生电势干扰。施工中,将信号电缆与动力电缆分开,提高仪表系统的抗干扰能力。
VI.传感器接线时,要做好电缆入口密封,防止雨水进入接线盒而导致短路等事故发生。
VII.进行静态调校时,在认真阅读理解仪表资料基础上,参照出厂测试报告和标定值,进行零点校验。校验输入输出对应情况,根据工艺参数设定流速范围。
VIII.动态调试时,全厂已投入试运行,此时应检查传感器和变送器的输出和变送器的输出和显示信号并检查变送器频率输出信号,调整零点和增益。
4.2水质仪表安装调试
水质仪表的安装较为简单,如PH但仍需注意几点:
I、仪表应选用适当的检测点。
II、安装过程要轻拿轻放,严禁碰撞探头。
III、PH计在正式使用前,不要拆开探头的出厂封装。
IV、仪表安装环境要保证良好的采光、通风。
仪表在使用前都必须标定。
A、PH分析仪调试步骤基本相同,准备好PH4、PH7、PH9标定液,分三个校验点对PH计进行标定校验。
在PH=4的标准掖中进行PH计的零点标定;
在PH=7的标准液中进行PH计的半程标定;
在PH=9的标准液中进行PH计的量程标定。
输入测量范围、输出信号范围几报警范围等参数后,即完成标定工作。














