弯心

梁截面所在平面内的一个具有如下特性的点:当剪力通过该点时,截面与邻近截面间无相对扭转。对于等截面直梁,若每个截面上的剪力都通过弯心,则在整个梁中将只有弯矩而无扭矩。因此,为了减小梁中的扭矩,就必须确定弯心并在设计中尽量使载荷通过弯心。弯心的研究对薄壁梁型的航空结构尤为重要,因为它和结构的颤振等气动弹性分析密切相关。

弯心的求法因梁截面的几何形状而异。若截面对称,则当剪力通过对称轴时,截面不发生扭转,因而可知弯心必在此轴上。如果截面有两个对称轴(如矩形或椭圆形截面),则弯心必在两轴的交点上。下面是求几种常用薄壁梁弯心的方法:

开截面薄壁梁

开截面薄壁梁的一个重要特性是: 在剪应力(见应力)沿壁厚均匀分布的假定下,对于某个几何形状确定的截面,剪应力分布规律是确定的,剪应力的合力作用点也是确定的,这个合力作用点称为剪心。由于仅当外力通过此点时才能被剪应力的合力所平衡而不引起扭矩,所以剪心就是弯心。对图1中的薄壁梁,由于剪应力的合力通过B点,所以该点就是弯心。对于如图2所示的任意开截面薄壁梁,弯心的坐标xbyb可由外力和截面上的剪力合力对任意选定的坐标原点O力矩平衡条件求得:

公式 符号

公式 符号

式中ρO点到积分单元ds的垂距;l为薄壁截面的中线长度;SxSy为截面静矩;IxIy为截面惯性矩(见截面的几何性质)。积分沿中线进行。

图1 图2 单闭截面薄壁梁

这种梁的剪应力分布规律比开截面复杂,一般不完全取决于截面的几何形状。但弯心的位置仍可根据对某一点的力矩平衡条件求得,公式为:

公式 符号

公式 符号

式中t为壁厚;A为封闭截面中线所包围的面积。积分沿封闭中线进行。闭截面中的剪应力随外力而改变,因此不存在确定的剪心。开截面薄壁梁中剪心和弯心一致的结论在这里不再适用。但由于闭截面可以承受扭矩,可推出如下的特性:因剪力作用于弯心不引起截面的扭转,根据位移互等定理,当扭矩作用于截面时,弯心不会移动,即整个截面绕弯心转动。因此,闭截面薄壁梁的弯心又称扭心。对于等截面直梁,各截面弯心的连线称为弯轴(又称扭轴)。在扭矩作用下,整个梁绕弯轴扭转。

多闭截面薄壁梁

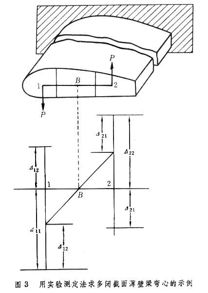
多闭截面薄壁梁弯心的概念和单闭截面相同,但计算比较复杂,故常采用实验测定法。例如,图3中悬臂三闭室薄臂梁的弯心可以按下述步骤求出:首先将力P加到点1上,得到点1的位移⊿11和点2的位移⊿21;然后再将力P以相反的方向加到点2上,得到点1的位移⊿12和点2的位移⊿22。当上述力同时作用在点1和点2时,点1的位移为⊿11-⊿12,点2的位移为⊿22-⊿21,截面其他部分的位移可按直线关系求得。由于是纯扭转,故弯心(即扭心)应在位移等于零的点,即图中的B点。

图

实心截面梁的弯心可用弹性力学的方法求得,但比上述求法复杂。

参考书目
  1. 冯元桢著,冯钟越等译:《空气弹性力学引论》,国防工业出版社,北京,1963。(Y. C.Fung,An Introduction to the Theory of Aeroelasticity, John Wiley & Sons, New York, 1955.)
  2. J. T. Oden, Mechanics of Elastic Structures, HemispherePub. Corp.,Washington, 1981.