[拼音]:jichuang daogui
[外文]:machine tool guideways
为使机床运动部件按规定的轨迹运动,并支承其重力和所受的载荷而设置的轨道。按照运动的形式,有直线运动导轨和圆周运动导轨两类,前者如车床和龙门刨床床身导轨等,后者如立式车床和滚齿机的工作台导轨等。机床导轨按照运动面间的摩擦性质分为滑动导轨和滚动导轨两类。前者中属纯流体摩擦者称为液体静压导轨或气体静压导轨。导轨的截面形状主要有三角形、矩形、燕尾形和圆形等(图1)。三角形导轨的导向性好;矩形导轨刚度高;燕尾形导轨结构紧凑;圆形导轨制造方便,但磨损后不易调整。当导轨的防护条件较好,切屑不易堆积其上时,下导轨面常设计成凹形,以便于储油,改善润滑条件;反之则宜设计成凸形。
滑动导轨
两导轨面间的摩擦性质是滑动摩擦,大多处于边界摩擦或混合摩擦的状态。滑动导轨结构简单,接触刚度高,阻尼大和抗振性好,但起动摩擦力大,低速运动时易爬行,摩擦表面易磨损。为提高导轨的耐磨性,可采用耐磨铸铁,或把铸铁导轨表层淬硬,或采用镶装的淬硬钢导轨。塑料贴面导轨基本上能克服铸铁滑动导轨的上述缺点,使滑动导轨的应用得到了新的发展。
静压导轨在相配的两导轨面间通入压力油或压缩空气,经过节流器后形成定压的油膜或气膜,将运动部件略为浮起(图2)。两导轨面因不直接接触,摩擦系数很小,运动平稳。静压导轨需要一套供油或供气系统,主要用于精密机床、坐标测量机和大型机床上。
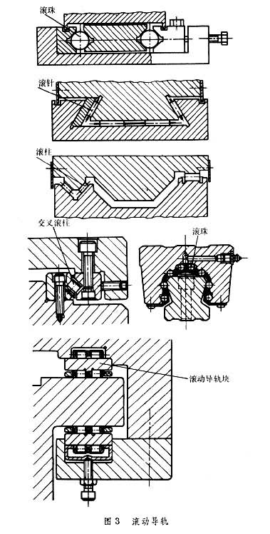
滚动导轨相配的两导轨面间有滚珠、滚柱、滚针或滚动导轨块的导轨(图3)。这种导轨摩擦系数小,不易出现爬行,而且耐磨性好,缺点是结构较复杂和抗振性差。滚动导轨常用于高精度机床、数字控制机床和要求实现微量进给的机床中。
卸荷导轨和复合导轨卸荷导轨是利用机械或液压的方式减小导轨面间的压力,但不使运动部件浮起,因而既能保持滑动导轨的优点,又能减小摩擦力和磨损。复合导轨是导轨的主要支承面采用滚动导轨,而主要导向面采用滑动导轨。