[拼音]:dixia tiedao xingche zidonghua xitong
[外文]:traffic automation system in the subway
在地下铁道行车调度控制中,应用电子计算机通过信息传输通道实时地收集有关行车的各种信息,经计算机应用程序进行处理,最后向区间和车站的各列车及地面信号发出控制指令(包括安排列车进路,控制列车速度,定点停车监视和调整列车运行),并在调度控制室内同时显示行车实际情况,并自动记录行车实迹。
沿革
地铁行车自动化系统是随电子技术的发展于20世纪 60年代开始出现的。苏联于 1958年首次研制成功了较低级的行车自动化系统,1962年在莫斯科地铁试用。美国于1960年在纽约地铁试运行列车自动运行系统(ATO),其设备方框图见图1。
70年代以来,各国地铁都向着综合自动化方向发展。美国于1972年9月在旧金山海湾采用城郊快速运输系统(BART)。这个系统的控制中心安装了两台计算机(其中1台备用),能同时指挥和控制105列列车执行计划运行图。1971年7月23日英国在维克多利亚线上实现行车自动化,开通线路全长22.4公里。1972年法国在巴黎地铁东西快车线上实行自动调度,利用列车自动操纵设备实现了自动驾驶,较全面地实现了列车行车指挥和列车运行自动化。
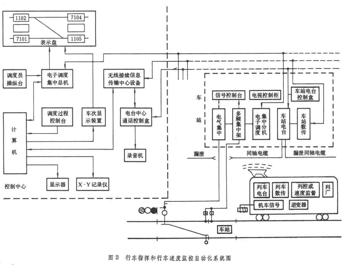
中国北京地铁采用了调度集中控制、移频制自动闭塞和自动停车等基本信号设备。1975年开始试用自己研制的行车自动化系统。1976年开始采用国产电子计算机,初步实现了铁路行车指挥自动化。北京地铁环线实现了行车指挥和行车速度监控的自动化(图2)。
基本功能
地下铁道运行自动化系统的功能包括低级阶段功能和高级阶段功能。低级阶段的基本功能是由自动闭塞、自动停车、车站联锁和调度集中控制来完成;高级阶段的基本功能则叠加行车指挥自动化和列车运行自动化中的 ATO系统以及若干自动检测设备。为了保证地下铁道行车安全,在行车自动化系统中还配置列车无线调度电话,使地下铁道行车调度员与司机之间可随时进行通话。
系统构成
地下铁道条件较地面铁道为优越,但运送的全是旅客,所以对行车自动化系统的安全性、可靠性要求较高。系统构成中最基本的是人工控制信号设备,叠加自动控制信号设备,再叠加行车的全自动控制系统。这样在高级系统失灵时,低级系统能运转。此外,在全自动化控制系统中都增加安全可靠措施,例如在应用计算机时尽可能增加多机冗余系统。
在地铁行车自动化系统中,控制中心和列车间的信道方式较多,一般采用的有轨道电路传输,轨道程序电缆,漏泄电缆等。
发展趋势
70年代之后兴建的地铁,都按综合自动化系统设计,即除行车指挥自动化和列车运行自动化之外还包含电力管理、后勤业务、卫生管理、售票检票、车辆检修、水位控制、通风控制以及车辆段调车作业等自动化系统,加强管理质量。
随着微型计算机的飞快发展,多微型计算机网络系统将广泛应用于地铁行车自动化系统。多微型计算机联网可设计成一个完整的后备冗余系统,其功能分散,危险分散,系统的可靠性提高。