[拼音]:jieliufa
[外文]:throttle valve
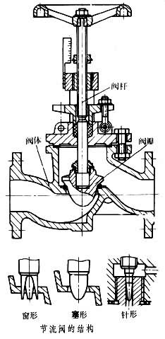
靠缩小流道截面来控制流体流量或降低流体压力的调节阀。节流阀的结构通常与截止阀相似(见图),主要的不同之处是改变了阀瓣形状和采用了小螺距的阀杆,因而它比截止阀有更好的调节性能。节流阀的阀瓣形状有窗形(用于较大的口径)、塞形(用于较小的口径)和针形(用于小口径)等。用针形阀瓣的节流阀常称为针形阀。蝶阀也常被用作节流阀。节流阀通常在某一小的开度范围内工作,关闭时不要求严格的密封。由于节流作用,阀瓣与阀座间的流速很大,流体通过阀瓣后产生较大的压力降,阀瓣、阀座和阀体会因流体的高速冲刷和可能产生的气蚀作用而损坏,特别是当流体的腐蚀性大或流体中带有固体颗粒时更易损坏。因此,合理的结构设计和正确选用阀瓣、阀座材料,对提高节流阀可靠性是极为重要的。