[拼音]:cheliang zhuanxiang jigou
[外文]:steering mechanism of motorvehicle
用以控制各类轮式或履带式车辆的行驶方向的机构。轮式车辆的转向机构一般由转向机和转向杆系组成。采用动力转向时,还需要装备液压泵、操纵阀、作用缸和贮油罐,合称液压助力机构。
转向方式
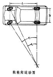
轮式车辆的转向机构有轴转向、轮转向和铰接式转向 3类。早期的汽车和现代某些全挂车上采用轴转向。这种转向方式虽然几个车轮轴线在转向时交于一点,但转向时车轮前后位移过大,转向阻力大,轮胎磨耗大,所以不适用于高速行驶的车辆。在艾克曼于19世纪末发明梯形连杆转向机构后,汽车已普遍采用轮转向。为使结构简单,大多数车辆用前轮转向。转向时尽量使全部车轮绕同一个瞬时转向中心作圆周运动(见图),以保证转向轮不发生滑移。由于各转向轮的转弯半径不同,其转角也不相同,内外转向轮的转角之间应保持下列关系
式中θo为外转向角,θi为内转向角,L为轴距,Μ为轮距。梯形连杆机构能近似地满足这一关系。
与车辆悬架配合,连接车轮和转向机的转向杆系有整体式和各种分段式。杆系一般布置在前轴之后,有时也布置在前轴之前。有的车辆因前轴为驱动轴或载荷较重或对机动性有特殊要求而用后轮转向。等轴距3轴、4轴或多轴车辆也有用前、后轮同时转向的(有的4轮驱动拖拉机采用全轮转向,可根据情况随时以前轮、后轮转向或4轮同时转向,甚至可以蟹行)。
铰接式车辆的转向动作类似于轴转向,即车轮无转向动作而用液压或气压机构推动车辆的铰接部分使车辆转向。铰接式车辆大都是行驶于松软地面的越野车辆或工程机械,车速也较低,可以用这种转向方式。
履带式车辆只要使左右侧履带的速度不同即可转向,因此,一侧制动就可以在原地转向。
转向机
用以带动转向杆系实现汽车转向。转向机有球面蜗杆滚轮式、凸轮插销式、循环球式和齿轮齿条式等多种。1960年以来,循环球式转向机使用日渐增多,小型或某些紧凑型轿车较多采用齿轮齿条式。对于转向机的要求是:转向可靠,传动比适当,正效率高,中间位置保持无隙啮合,并能反映道路状况(“路感”)。
动力转向
在大型轿车、大型客车和前轴轴荷超过4吨的货运汽车上,以及铰接式车辆上大都采用液压助力机构帮助转向。对于各种助力机构的要求是:减轻转向手力,有“路感”;有助力系统失效时仍能用手力转向。超重型汽车还应有应急的储能器或电动转向泵,以便在任何情况下都能保持短时间的转向功能。