[拼音]:yacishi chuanganqi
[外文]:piezomagnetic type transducer
基于铁磁材料压磁效应的传感器,又称磁弹性传感器。压磁式传感器的敏感元件由铁磁材料制成,它把作用力(如弹性应力、残余应力)的变化转换成导磁率的变化,并引起绕于其上的线圈的阻抗或电动势的变化,从而感应出电信号。压磁式传感器是一种新型传感器,它的优点是输出功率大、信号强、结构简单、牢固可靠、抗干扰性好、过载能力强、价格便宜。缺点是测量精度不很高、频响较低。压磁式传感器常用于冶金、矿山、运输等工业部门作为测力和称重传感器。例如,用于起重运输的过载保护系统、轧钢压力及钢板厚度的控制系统、铁路货车连续称量系统(即铁道衡)。构件内应力的无损测量采用压磁式传感器比用 X射线方法、开槽法、钻孔法和电阻应变法优越。还可用于实现转轴扭矩的非接触测量。压磁式传感器不仅用于自动控制和机械力的无损测量,而且还用于骨科和运动医学测试。对于压磁式传感器测量过程的各个变换阶段,它的理论工程计算方法,以及材料和工艺还需深入研究。
压磁效应在铁磁性材料的微观结构中,小范围内电子自旋元磁矩之间的相互作用力使相邻电子元磁矩的方向一致而形成磁畴。磁畴之间相互作用很小。从宏观上看,在没有外磁场作用时,各磁畴相互平衡,总磁化强度为零。在有外磁场作用时,各磁畴的磁化强度矢量都转向外磁场方向,使总磁化强度不为零,直至达到饱和。在磁化过程中各磁畴的界限发生移动,因而使材料产生机械变形。这种现象称为磁致伸缩效应。反之,在外力的作用下材料内部产生应力,使各磁畴间的界限移动,从而使磁畴的磁化强度矢量转动,引起材料的总磁化强度发生相应变化。这种现象称为压磁效应。如果产生压磁效应的作用力是拉力,那么沿作用力方向的导磁率就提高,而在其垂直方向上,导磁率略有降低。反之,该作用力为压力时,其效果相反。常用的铁磁材料有硅钢片、坡莫合金等。大多数情况下采用硅钢片。把同样形状的硅钢片叠起来就形成一个压磁元件。
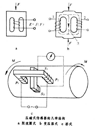
压磁式传感器结构
压磁传感器可分为阻流圈式、变压器式、桥式、电阻式、魏德曼效应和巴克豪森效应传感器。其中阻流圈式、变压器式和桥式用得较多。
(1)阻流圈式:这种传感器的敏感元件是绕有线圈的用铁磁材料制成的铁芯(图)。在线圈中通有交流电,铁芯在外力F的作用下导磁率发生变化,磁阻和磁通也相应变化,从而改变了线圈的阻抗,引起线圈中的电流变化。这种结构在不受力时有初始信号,需要用补偿电路加以抵消。
(2)变压器式:在它的铁芯上有两个分开的线圈,一是接交流电源的激励线圈,另一是输出测量线圈。改变线圈的匝数比即可得到不同档次的电压输出信号(图)。
(3)桥式:它由两个垂直交叉放置的Π型铁芯构成,在两个铁芯上分别绕以激磁线圈和测量线圈。这种传感器用于测量铁磁材料的受力状况(例如扭矩,图),在被测材料上4点P1、s1、P2、s2之间的磁阻形成一个磁桥。在未受力时,由于材料的各向同性,各桥臂磁阻相等,测量线圈内通过两束方向相反、大小相等的磁通,相互抵消后没有感应电动势,输出为零。当材料受扭矩力M时,其上发生压磁效应,两个方向的磁导率发生不同变化,磁桥失去平衡,于是测量线圈就能输出与扭矩大小成一定关系的感应信号。