À¬»øÉøÂËÒºÊÇÖ¸À´Ô´ÓÚÀ¬»øÌîÂñ³¡ÖÐÀ¬»ø±¾Éíº¬ÓеÄË®·Ö¡¢½øÈëÌîÂñ³¡µÄÓêѩˮ¼°ÆäËûË®·Ö£¬¿Û³ýÀ¬»ø¡¢¸²ÍÁ²ãµÄ±¥ºÍ³ÖË®Á¿£¬²¢¾ÀúÀ¬»ø²ãºÍ¸²ÍÁ²ã¶øÐγɵÄÒ»ÖÖ¸ßŨ¶È·ÏË®¡£
±±·½º®ÀäµØÇø£¬À¬»øÉøÂËÒº¾ßÓÐÃ÷ÏÔ¼¾½ÚÌØµã£¬ÈçÿÄêµÄ½µÓêÆÚÄÚ»á²úÉú´óÁ¿µÄÀ¬»øÉøÂËÒº£¬¶ø¶¬¼¾¼¸ºõûÓÐÉøÂËÒº²úÉú£¬¼´ÉøÂËÒºµÄ²úÉú¾ßÓÐÃ÷ÏԵIJ»Á¬ÐøÐÔ£¬Ò»ÄêÄÚÉøÂËÒº²úÁ¿ÓëÉøÂËË®Öʶ¼Óнϴó±ä»¯£¬ÔÚ¶¬¼¾Ã»ÓÐÉøÂËÒº²úÉú¶øÕû¸öϵͳҪֹͣÔËÐУ¬¶øÔÙ´ÎÆô¶¯ÒªËٶȿ졣Òò´Ë£¬Ñ¡ÔñÊʺ϶«±±µØÇøÆøºòÌØµãµÄÀ¬»øÉøÂËÒº´¦Àí¹¤ÒÕ£¬´¦ÀíÌîÂñÀ¬»ø²úÉúµÄÉøÂËÒº£¬Ê¹Æä´ïµ½¹ú¼Ò¡¶Éú»îÀ¬»øÌîÂñÎÛȾ¿ØÖƱê×¼¡·(GB16889¡ª1997)ÖеĶþ¼¶Åŷűê×¼¡£²¢¾ßÓÐÄÍË®Á¿¡¢Ë®Öʳå»÷¸ººÉ¸ß£¬ÓлúÎ︺ºÉ¸ß£¬ÎÛÄà²úÁ¿µÍ£¬ÎÛÄ಻ÐèÒª»ØÁ÷£¬²»»á²úÉúÎÛÄàÅòÕÍ£¬Äܺĵͣ¬Ó¦Ó÷¶Î§¹ã£¬COD¡¢BOD¡¢SSÈ¥³ýÂʸߣ¬¶ÔζÈÊÊÓ¦ÐÔÇ¿£¬Õ¼µØÃæ»ýС£¬½ÚÊ¡»ù½¨Í¶×Ê£¬ÔËÐзÑÓõͣ¬¹ÜÀí¼ò±ãµÈÓŵ㣬ÇÒ¾ßÓÐÁ¼ºÃÍÆ¹ã¼ÛÖµµÄÉøÂËÒº´¦Àí¹¤ÒÕ£¬¶Ô±±·½º®ÀäµØÇøµÄÀ¬»øÎÞº¦»¯ÊÂÒµÓÐמÙ×ãÇáÖØµÄ×÷Óá£ÒÔ϶Ô2ÖÖÉøÂËÒº´¦Àí¹¤ÒÕ¼¼Êõ½øÐÐÈ«Ãæ±È½Ï£¬Ñ¡Ôñ³ö×îÊʺϱ±·½º®ÀäµØÇøµÄÀ¬»øÉøÂËÒº´¦Àí¹¤ÒÕ¡£
Ò»¡¢´¦Àí¹¤ÒÕ¼¼Êõ±È½Ï
À¬»øÉøÂËÒº´¦Àí£º 1¡¢A£¯O(ȱÑõºÃÑõ)½Ó´¥Ñõ»¯·¨´¦Àí¹¤ÒÕ
¸Ã´¦Àí¼¼Êõ¸÷¶Î´¦Àí¹¤ÒÕΪ£ºÀ¹ÎÛÉèÊ©¡ª¡ª»úе¸ñÕ¤£»Îﻯ¡ª¡ª»ìÄý³Áµí¡¢´µÍÑ(Ô¤´¦Àí)ºÍ³Áµí¡¢»ìÄý¹ýÂ˺ÍÏû¶¾(ºó´¦Àí)£»Éú»¯¡ª¡ªÑáÑõ½áºÏA£¯O½Ó´¥Ñõ»¯¡£
ͼ1A£¯O(ȱÑõºÃÑõ)½Ó´¥Ñõ»¯·¨´¦Àí¹¤ÒÕÁ÷³Ìͼ
À¬»øÉøÂËÒºÊ×ÏȾµ÷½ÚÐîË®³ØÊÕ¼¯£¬³öË®¾»úе¸ñÕ¤À¹½ØºóÄܹýÌáÉý±ÃÌáÉýÖÁ»ìÄý³Áµí³Ø£¬¾¼ÓÒ©»ìÄý³Áµí£¬È¥³ýÖØ½ðÊô¡¢SSºÍ²¿·ÖÓлúÎÛȾÎï¡£»ìÄý³Áµí³Ø³öË®ÓñÃÌáÉýÖÁ°±µª´µÍÑËþÈ¥³ý²¿·Ö°±µª£¬Ê¹°±µªº¬Á¿½µµÍÖÁ²»ÒÖÖÆºóÐøÉú»¯´¦ÀíµÄ³Ì¶È¡£°±µª´µÍÑËþ³öË®Óɵ÷Õû³ØÊÕ¼¯£¬µ÷½ÚPHÖµºóÓñÃÌáÉýÖÁ¼ÓÈȽ»»»Æ÷£¬¾¼ÓÈȺó½øÈëQCSÑáÑõ·´Ó¦Æ÷¡£QCSÑáÑõ·´Ó¦Æ÷³öË®×ÔÁ÷ÖÁÑáÑõ½áºÏA£¯O½Ó´¥Ñõ»¯³Ø½øÐÐÉú»¯´¦Àí¡£³öË®¾³Áµíºó²ÉÓûìÄý¹ýÂ˺ÍÏû¶¾´¦Àí£¬Ê¹Ö®È«Ãæ´ïµ½¹ú¼ÒÒªÇóµÄ¶þÅŷűê×¼´ï±êÅÅ·Å¡£¹¤ÒÕÖÐÔö¼ÓÁËÒ»¼¶Ó¦¼±Îü¸½Æ÷Ó¦¸¶ÌØÊâÇé¿ö¡£
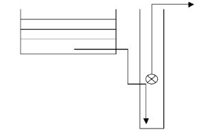
À¬»øÉøÂËÒº´¦Àí£º2¡¢¿ª·ÅʽÁ¬ÐøÐÍÕæ¿Õ³éÂËÎÛË®´¦Àí¹¤ÒÕ
¡°¿ª·ÅʽÁ¬ÐøÐ͸ßÕæ¿Õ³éÂËÎÛË®´¦Àí¼¼Êõ¡±£¬¸Ä±äÁËÑØÓô«Í³µÄ¡°Éú»¯·¨Ë®´¦Àí¼¼Êõ¡±µÄ¹¤ÒÕ¸´ÔÓ¡¢½¨ÉèͶ×ʸߡ¢ÔËÐгɱ¾¸ßµÄ±×¶Ë£¬×ß³öÁËÒ»Ìõ´´ÐÂ֮·£¬ÆäÌØµãÊÇ¡°Í¶×ÊÊ¡¡¢Õ¼µØÐ¡¡¢¾¾ÃÄÍÓᢶÖË®´¦Àí×ۺϳɱ¾·ÑÓõ͡±¡£
À¬»øÉøÂËÒº´¦Àí£º 2.1 ¹¤ÒÕÁ÷³Ì
À¬»øÉøÂ©Òº½øÈëµ÷½Ú³Ø£¬½Ó×ŰÑÉøÂ©ÒºÔÚ¿Á»¯³ØÄÚ¿Á»¯£¬½øÈë³Áµí³Ø£¬¾6h³ÁµíºóÁ÷µ½Õæ¿Õ¹ýÂ˳أ¬¹ýÂËʹÎÛË®¾»»¯´ï¹ú¼Ò¶þ¼¶Åŷűê×¼£¬ÅÅ·Å»ò»ØÓ᣼ûͼ2¡£
¡¡Í¼2À¬»øÉøÂ©¹¤ÒÕÁ÷³Ìͼ
À¬»øÉøÂËÒº´¦Àí£º 2.2 ¹¤×÷ÔÀí
Óɹ¤ÒÕÁ÷³Ìͼ¿ÉÖª£¬¸Ãϵͳ³ä·ÖµØ½«ÐõÄý¡¢³Áµí¡¢Îü¸½¡¢¹ýÂ˵ȶàÏîÎïÀí¡¢»¯Ñ§¼¼ÊõÏ໥Èܺϣ¬Êµ¼ÊÁËÎÛË®´¦Àí¹¤Òյĸ߶ȼ¯³É»¯¡¢ÓÐЧ»¯¡¢¾¼Ã»¯¡£ËüµÄºËÐļ¼ÊõΪ¡°¿ª·ÅʽÁ¬ÐøÐÍÕæ¿Õ³éÂ˳ء±¡£¸Ã³Ø²ÉÓÃÁ˶ÀÌØµÄÂËÁÏ£¬È«ÐµÄ×ÔÈ»Õæ¿Õ¼¼Êõ£¬¾ßÓд«Í³Â˳ØÎÞ·¨±ÈÄâµÄÌØÐÔ¡£
¶ÀÌØµÄÂËÁÏʹÂ˳صÄÈ¥ÎÛ»úÀí²»½ö½ö¾ÖÏÞÓÚ¹ýÂË£¬¶øÊǽ«Îü¸½¡¢Ä¤¼¼Êõ¡¢Î¢ÉúÎï¼¼Êõ¡¢ÎïÀí¡¢»¯Ñ§·´Ó¦¡¢¹ýÂ˵ȻúÀíÓлú½áºÏ£¬½ø¶øÐγÉÒ»¸ö¸ßЧµÄ·ÂÉú̬ѻ·ÏµÍ³£¬È·±£Á˸ÃÏî¼¼ÊõµÄ¾¼ÃÐÔ¡£
ȫеÄ×ÔÈ»Õæ¿Õ¼¼Êõ½«Ó¦Á¦×´Ì¬µÄÁ¦×ª±äΪ¶¯Á¦×´Ì¬µÄÁ¦£¬²»ÓÃÕæ¿Õ»úеÉ豸¾Í´ïµ½¸ß¶ÈÕæ¿Õ£¬½øÒ»²½Ç¿»¯ÁËÂ˳صĴ¦ÀíÄÜÁ¦¡£¡£
À¬»øÉøÂËÒº´¦Àí£º 2.3 ¹¤ÒÕ¼¼Êõ´´Ðµã
¸Ã¼¼Êõ¹¤ÒÕËäÈ»¼òµ¥£¬µ«ÊǺ¸ÇÒÔÉÏ3¸ö¼¶±ð´¦Àí¼¼Êõ£¬Æä¼¼ÊõÒªµãÔÚÓÚ¶ÀÌØµÄ¹ýÂËĤºÍÕæ¿Õ¾®¡£
(1)¹ýÂËĤ
¶ÀÌØ¹ýÂËĤÊǸù¾ÝÃÀ¹úµÄ¡°Ï¡Ê貨¸ÅÄºÍ²ÉÓá°ÖØÒºÆ¯ÒƳÁ½µ·¨¡±µÄ¼¼ÊõÔÀí£¬Ê¹Â˳رíÃæÐγÉÉÏСÏ´óµÄ·´Â©¶·Ðο׾¶£¬ÔÚ¸ßÕæ¿ÕµÄ×÷ÓÃÏÂʹ³Ø±íÃæÐγɼáÓ²µÄ¹ýÂËĤ¿×¾¶¿ÉÈÎÒâ·Å´óºÍËõС£¬Ò»°ãÔÚ¼¸¸ö΢Ã×£¬Äܹ»Â˵ôÆÏÌÑÇò¾ú¡¢Á´Çò¾ú¡¢´ó³¦¸Î¾ú¡£°Ñ¼òµ¥µÄÎïÀí¹ýÂ˹ý³Ì·¢Õ¹ÎªÎïÀí»¯Ñ§µÄͬ²½¡£ÔÚ¹ýÂËÖÐÓÐçÑÌåÀë×Óµç×ÓµÃʧ£¬ÄÜÓÐЧµØµ÷½ÚË®µÄËá¼îƽºâ¡£ÌØÊâµÄÂËÁÏʹÂ˳صÄÈ¥ÎÛ»úÀí²»½ö½ö¾ÖÏÞÓÚ¹ýÂË£¬¶øÊǽ«Ä¤¼¼Êõ¡¢ÎïÀí¡¢»¯Ñ§·´Ó¦¡¢¹ýÂ˵ȻúÀíÓлú½áºÏ£¬½ø¶øÐγÉÒ»¸ö¸ßЧµÄ·ÂÉú̬ѻ·ÏµÍ³£¬È·±£Á˸ÃÏî¼¼ÊõµÄ¾¼ÃÐÔ¡£
(2)Õæ¿Õ¾®¼¼Êõ
¸Ã¹¤ÒÕµÄÁíÒ»¸ö¼¼ÊõÒªµãÊǸù¾Ý×ÔÈ»½çȪˮÐγɵÄÔÀí¶øÉè¼ÆµÄ¶ÀÌØµÄÕæ¿Õ²¢¡£Ëü²»²ÉÓÃÈκÎÕæ¿Õ»úе£¬ÔÚÔËתµÄ¹ý³ÌÖÐÄܹ»²úÉú4PaµÄ¸ß¶ÈÕæ¿Õ£¬×î´ó¿É´ï-0.9kg£¯cmÒÔÉϵĸºÑ¹£¬¶øÇÒ³ØÃæ»ý¿ÉÈÎÒâÔö´ó£¬¹Ê¶øÔËתÖгرíÃæÄܹ»²úÉúÊýÍò¶ÖµÄ±íÃæÑ¹Á¦¡£ºÜСµÄ¶¯Á¦ÄܰÑÓ¦Á¦×´Ì¬µÄÕæ¿ÕѹÁ¦×ª±äΪ¶¯Á¦×´Ì¬µÄÁ¦£¬¼È±£ÕÏÁ˹ýÂ˵ÄË®ÖÊ£¬ÓÖÌá¸ßÁËÔËÐÐЧÂÊ¡£È«²¿ÔËת¹ý³Ì¶¼ÊǸßÕæ¿ÕµÄ¸ºÑ¹ÔËת£¬ËùÒÔ²»»áÔì³ÉÔëÒôÓë»Ò³¾µÄÎÛȾ¡£Èçͼ3¡£
¡¡Í¼3Õæ¿Õ¾®¼¼Êõ¼òͼ
2.4 ´¦ÀíЧ¹û
À¬»øÉøÂ©Òº´¦ÀíÕ¾µÄ½øË®Ë®ÖÊÈç±í1¡£
2.5 Åŷűê×¼
·ÏË®´¦ÀíÕ¾µÄ·ÏË®ÅÅ·ÅÖ´ÐÐGB8978-96µÄÅŷűê×¼£¬Èç±í2¡¢±í3¡£
¡¡±í2Åŷűê×¼(µ¥Î»£ºmg/L)
×ÛÉÏËùÊö£¬MO½Ó´¥Ñõ»¯·¨ËäÈ»ÊǶԴ«Í³µÄÎÛË®´¦Àí¹¤ÒÕ½øÐÐÁ˸Ľø£¬µ«ÈÔ´æÔÚ¹¤ÒÕÁ÷³Ì¼°É豸¸´ÔÓ£¬Ðèѱ»¯¾úÖÖ£¬»úеÉèÊ©¶à£¬Éú»¯´¦ÀíÒ©¼ÁÁ¿´ó¡¢ÖÖÀà¶à£¬¹¤ÆÚ³¤£¬¶ÔζÈÒªÇó¿Á¿ÌµÈ±×¶Ë£¬ÌرðÊǶÔζȵÄÒªÇóÄÑÒÔÊÊÓ¦±±·½µØÇøº®ÀäµÄÆøºò¡£¶ø¡°¿ª·ÅʽÁ¬ÐøÐÍÕæ¿Õ³éÂ˳ء±¼¼ÊõÈ´¿Ë·þÁËÉú»¯´¦Àí·¨µÄһЩ±×¶Ë¼ò»¯Á˹¤ÒÕ¼¼Êõ£¬Ìá¸ßÁË´¦ÀíЧÂÊ£¬½µµÍÁ˶ÔζȵÄÒªÇó(4¡æÒÔÉÏ)£¬¶¬¼¾ÔÚÊʵ±µÄ±£ÎÂÏ¿ÉÒÔÕý³£ÔËÐС£Í¨¹ý¶Ô¹¤ÒյıȽϿª·ÅʽÁ¬ÐøÐÍÕæ¿Õ³éÂ˳ش¦Àí¼¼Êõ¸üÊʺϱ±·½º®ÀäµØÇøÀ¬»øÉøÂËÒº´¦Àí¡£














