回顾中国水处理行业的发展历史,从上世纪五、六十年代就有一批国有、军工、科研院所背景的企业开始从事水处理工程以及水质分析仪表的生产制造。直到1995年,整个中国水处理行业市场容量仅仅只有5000万人民币左右。从1995年至今,伴随着中国经济的飞速发展,2013年,中国整个水处理行业规模快速发展至约600亿元人民币。
溶氧(DO)是溶解氧(DissolvedOxygen)的简称,溶解于水中的分子态氧,天然水中的溶解氧含量取决于水体与大气中氧的平衡。溶解氧是水生生物生存和水质的重要指标。水中溶解氧的饱和含量和空气中氧的分压、大气压力、水温、水中含盐量等有密切关系。清洁地面水中溶解氧一般接近饱和,20℃清洁水中饱和溶解氧含量约为9mg/L。水体受有机、无机还原性物质污染,会使溶解氧降低,当水中溶解氧低于2mg/L时,水体即产生恶臭。目前,测定DO的方法有多种:如化学Winkler法、电化学法、光学法等。
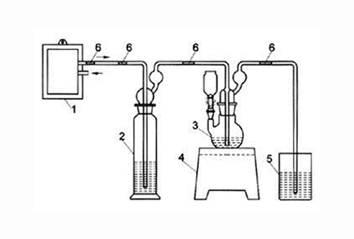
滴定碘量法应用历史最为悠久,该法由文科勒(Winkler)教授于1888年首次提出,其基本操作过程为:向一定量的样品中加入硫酸锰和碱性碘化钾然后生成氢氧化锰Mn(OH)2。由于Mn2+不稳定,在加入硫酸酸化时,Mn2+和水中的氧发生反应生成Mn4+,然后Mn4+和KI发生反应,将碘离子氧化成游离碘,游离碘的量与水样中的溶解氧的量成比。接着,再采用硫代硫酸钠对溶液进行滴定,选择淀粉作为滴定终点指示剂,最后根据硫代硫酸钠的消耗量来计算水中的溶解氧含量。
碘量法的所有反应步骤如下:
MnSO4+2NaOH=Mn(OH)2↓+Na2SO4
2Mn(OH)2+O2=2H2MnO3↓
2H2MnO3+2H2SO4=2Mn(SO4)2↓+3H2O
2KI+Mn(SO4)2=Mn(SO4)2+K2SO4+I2
2Na2S2O3+I2=Na2S4O6+4NaI

该滴定法用于测量水中的溶解氧,尽管在100多年的实际应用过程中,该方法经过不断修正,但是由于受限于取样过程、试剂配制、滴定操作、周围环境以及分析样品存在的诸如亚铁离子、亚硝酸盐、有机物、不稳定性易氧化物等多种干扰物质的影响,碘量滴定法在测量溶解氧时存在一定局限性,该方法不适宜进行ppb级的低氧测量。滴定法测量水中溶解氧的方法适用于市政污水、工业废水、养殖、天然水源等溶解氧含量水平较高的水处理应用场合。
那么大家对于滴定碘量法是否有了更加深入的了解了呢?随着技术不断地革新,更为先进的溶氧测量技术已经被投放使用在水质分析中,小编将在下面为您继续介绍现代水质分析三大处理方法。
随着水质分析技术的不断发展与更新,电化学溶氧测量技术已成为目前应用最为广泛的溶氧测量技术,此项技术是由Dr.LelandClark于1956年最先发明。电化学分为原电池法和极谱法。其中,极谱法应用最广。电化学(极谱法)溶氧分析仪基于传感器的结构又可以分为扩散型和平衡型两种,相对而言,扩散型的电化学溶氧传感器应用更为普及。
电化学(极谱法)溶氧传感器结构如下图所示

图1:极谱法测定原理图该传感器由阴极、阳极、电解液以及半透膜等主要部件构成,在直流极化电压作用下,溶解在水中的氧气穿过半透膜到达阴极发生还原反应:
O2+2H2O+4e-=4OH-
同时阳极发生氧化反应:4Ag+4Cl-=4AgCl+4e-
原电池法溶解氧测定原理同样是电化学方法,但是它少了极化电压,而是自发进行的反应。传感器由阴阳极、电解液以及半透膜构成。当溶解在水中的氧分子穿过氧半透膜达到阴极发生还原反应:
O2+2H2O+4e-=4OH-
而阳极发生氧化反应:2Zn=2Zn2++42e-

图2:原电池法测定原理图当反应达到平衡稳定的条件下,该电化学反应形成的电流和氧气的分压(浓度)呈一定关系:
I:传感器电流[nA]
n:电子迁移的数量(n=4)
F:法拉第常数(F=96485C/mol)
A:阴极表面积大小[cm2]
D:氧分子在膜上的扩散系数[cm2/s]
S:膜的氧溶解度[mol/(cm3*bar)]
pO2:氧气分压[bar]
d:膜厚度[cm]
因此,根据上述电化学过程产生的电流强度就可以计算出水中的溶解氧分压,然后再根据亨利定律就可得出水中的溶解氧浓度。
和其他溶解氧测量技术相比较,极谱法溶氧测量技术具备应用量程广,精度高(特别在ppb痕量级溶氧测量应用场合),技术成熟等特点,目前在水处理工业各种溶氧测量场合应用最为普及和广泛。而原电池法少了极化预热的过程,使用则要方便些。
光学法测量溶解氧基于荧光淬灭的原理:传感器中的蓝色LED光源发出一束蓝色光,照射在荧光物质上,该涂层的荧光物质随即被这束蓝光激发,此激发态并不稳定,遇到氧以后会迅速释放出红色的光线并回复至原始状态。此红光和先前LED发射的蓝光存在一个时间滞后,光电检测器可以监测到蓝光和红光之间的这个相位滞后,即测量荧光物质从被蓝光激发到发射红光后恢复原态的时间,根据这个来计算水中溶解氧的含量。该相位滞后与发光体附近的溶解氧浓度成反比。当氧气与荧光物质接触后,则其产生的红色光的强度会降低,同时其产生红光的时间也会缩短,水样中溶解的氧气的浓度越高,则传感器产生的红光的强度就会越低。

图3:荧光法测定原理图*荧光淬灭法测量溶氧技术具有测量便捷、稳定性高、维护量低等优点。除较高浓度的二氧化氯外,光学法测溶解氧不易受到其它干扰物质的影响。














