制材

把原木锯解成板材、方材、枕木等锯材的工艺过程。制材工业是木材加工工业中最大的部门。世界每年采伐的工业用材约有一半以上用于制材,它对制材质量、原木出材率和剩余物利用,以及提高木材综合利用率有重要意义。制材学研究把原木锯解成锯材的原理及设备,内容包括原木和锯材的特性、技术条件、保存方法、原木下锯法、制材工艺过程及生产设备等,目的在于合理锯解原木,以提高出材率、木材利用率和锯材质量,并对生产和运输设备不断进行技术改进。

产品分类

锯材按照国家规定的标准锯割。按断面形状可分为板材和方材。通过原木中心沿纵向锯剖可得到半圆材(图1a),供旋制纹理美观的单板等。沿原木两个相互垂直的直径可锯成 4块扇形材称四开材(图1b),供制造四分旋切的径面单板。原木先经锯去相对两侧的板皮和1~2块毛边板,剩下的一块方材供继续锯制整边板的等边毛方(图1c)。板材是原木纵向锯割所得的锯材,其宽度为厚度的2倍以上(图1h~k)。板材两边未着锯,或虽着锯而钝棱超过允许限度的称毛边板(图1i);板材的侧边全部着锯,或未着锯的钝棱没有超过允许限度,而且两材边互相平衡,构成较规整的平行六面体的称整边板(图1j,k)。方材指锯材宽度小于厚度的2倍者,它又可分为:二面毛方,即原木通过两个平面锯口,锯去两侧面的木材或板皮;三面毛方,即原木三面着锯,其中两面相互平行,第三面垂直于上两面者(图1g);四面方材,即四面见锯,相邻两锯面互相垂直者(图1f);枕木,它可能是整边方材,也可按国家标准带有部分钝棱(图1d)。锯材还可按材面纹理走向分径锯切板和弦锯切板。国家有普通锯材的区分标准,包括针叶树材和阔叶树材。不属国家标准规定的锯材,有林业部部颁标准加以规定。原木锯解过程中还会产生一些非规格材(图1l、m)及可作为工业原料的板皮(图1n、o)。

图

制材生产

广义制材生产过程包括原木供应过程和车间工艺流程。原木供应有水运(见木材水运)到材和陆运(见木材陆运)到材两种方式。可在水中贮存,也可在陆地(楞场)贮存。大型工厂一般采用起重运输链把原木送进车间。事先要进行冲洗、剥皮、金属探测、 X光检查内部缺陷、扫描检尺、区分、整形和截断等作业。

锯木设备

基本设备是带锯、框锯和圆锯。

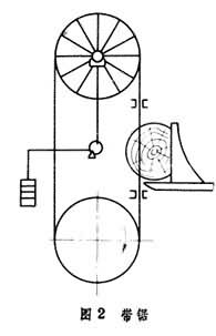
(1)带锯机。下轮为主动轮,较重,起飞轮的作用。上轮为从动轮,较轻,主要是绷紧锯条,使之循环运行。带锯机具有杠杆或弹性压砣装置,自动微调上轮的升降,以保证锯条有一定张力。另有锯卡子,使锯条在工作时保持直线,不致左右摆动(图2)。大带锯用作锯解原木的主锯。各种小带锯(立式、卧式)用作锯解半成品的辅助锯。带锯的优点是锯条薄,出材率高,节约木材;可以看材下锯,随意翻转原木和改变锯材的厚度,有利于提高锯材质量。

(2)框锯,在往复运动的框架中,安装数根锯条,上部稍向前倾(图3)。用作锯解原木的主锯,或作锯解毛方的二解锯。锯解的板材规格好,出材率较圆锯高。但各锯条的间隔须经预先设定,锯材的厚度不能随时改变,故原木进锯前要按径级区分。新型框锯用液压调整锯条间距,以减少区分原木的时间。两台主锯可以前后配合完成原木的锯解,常见的为大带锯与排锯配合,框锯与框锯配合。

(3)圆锯。锯片周边开齿,环绕锯轴转动以锯解木材(图 4)。纵剖大原木的大圆锯,间或安装可调换的活齿。小圆锯用以裁边,或截头和截去缺陷。圆锯可以根据原木的材质,灵活下锯,利于提高锯材质量。缺点是锯口宽,木材浪费较多,并且易出事故。

图 图 图

此外,还有双联、多联带锯机,削片制材联合机,削片修边机等。除部分削片用刀头外,其他部分均系带锯或圆锯的组合装配。这些机械效率高,灵活性大。削片可供综合利用,适于加工小径级原木。

工艺流程

原木贮存在露天仓库、水上作业场(水运)及原木楞场(陆运),在那里完成验收、出河(陆运为卸车)、造材(原条到材时有此作业)、选材、归楞,以及进车间前的工艺准备作业,包括原木预先区分(指按锯材的用途、规格挑选一定尺寸、等级的原木)、调头(把原木调整到小头进锯,以保证看材对线下锯)、截断(长原木一般在锯解前不截短,但对尖削度大或弯曲的原木要考虑截断)以及剥皮、整形、冲洗及金属探测等。然后用运输链把原木送进车间,按原木锯剖→半成品再剖分→毛边板裁边→材头截齐等工序完成全部工艺流程。

下锯法

按锯材的种类、规格、确定锯口部位和锯解顺序进行下锯的方法,目的在于获得最大的出材率和最高的经济效果。中国在生产中主要使用以下几种下锯法:

(1)毛板下锯法。又称二面下锯法,是先锯去一块板皮,然后平行于第一锯口依次锯成毛边板,用此法可锯出较宽的板材(图 5)。

(2)毛方下锯法。又称四面下锯法,先锯去原木相对两侧的板皮和一、二块毛边板。中间剩余的毛方翻转90°,锯口平行锯成等宽整边板材,可减少裁边工作量,是用径级较大的原木大量生产普通用材时常见的一种下锯法。

(3)枕木下锯法。用一边挤下锯法将可出一根枕木的枕资锯出一根枕木和板材;割制两根枕木有余的原木或毛方时采用中间抽板下锯法。

(4)径切板下锯法。沿原木半径方向锯解板材。在板材端面宽和厚的中心点上,年轮切线与材面夹成的锐角>45°。材面纹理平直,适用于乐器、木尺等特殊用材。

(5)弦切板下锯法。沿原木某一年轮的弦线或切线锯解的板材。年轮切线与外材面的夹角<45°,材面纹理呈峰状,适于做船甲板、桶、盒板等特殊用材。

(6)小径级原木桔瓣形下锯法。锯成的断面桔瓣形板材可胶拼成长材和宽材,使材面不露节子,克服原木尖削度大的不利条件。

(7)尖削度大的原木下锯法。采用一边挤下锯法可提高出材率。

(8)原木缺陷集中下锯法。大活节子原木和径裂原木均平行缺陷下锯,把缺陷集中在一、二块板上。

(9)原木缺陷剔除下锯法。对内腐(铁眼)原木采用抽心下锯法剔除腐朽部分。若原木外腐,视其厚度下板皮,再锯制良材。

(10)理论最高出材率下锯法。有3种:第一种,直径为d的原木,其内接矩形以正方形(边长约等于0.71d)面积为最大,四侧的板皮按图5所示尺寸锯割,所得板材横断面积也最大;第二种,直径为d的原木,按图6所示尺寸采取毛板下锯法锯制宽板材,其总材积最多;第三种,高为h呈抛物线形的毛边板,自顶点起截去长等于h/3的端头(图7)而后裁成整边板,面积最大。划线下锯法。20世纪60年代中国东北林区根据原木条件,充分利用负公差搭配套裁,在原木小头端面上划出锯口位置,比临时看材下料可多出大规格的主要产品和质量高的锯材,出材率比不划线的有所提高。60年代美国提出的B.O.F.下锯法(bestopening face),强调第一锯口的重要性,与此法基本相同。

图 图 图 制材产品处理

生产的锯材可立即进行防腐浸渍,再按树种、规格及品等进行区分,然后进行检尺;也可直接调拨销售,经归楞干燥。制材剩余物,如板皮、边条、截头、锯屑等,通过削片作业,用以制造刨花板、纤维板纸浆等。

评等区分

按现行标准将产品分等,是制材企业重要生产工艺,对木材的合理利用与企业的经营成效都有关系。分等方法有:

(1)缺陷分等法。即按照现行国家标准所规定的锯材每一等级最大容许缺陷来分等,通常是在传送线上用人工目测方法检查锯材表面缺陷,并按标准打上等级印记,再由人工或机械将打印后的锯材从传送线上卸下,即按等级分别堆放。

(2)应力分等法。即按用材最低强度要求区分等级。用于结构材的评等,有目测法与机械法两种,目测法是由人工将锯材的4个材面上可见缺陷的影响剔减,再估计它的强度;机械法是通过专用无损检测机械,快速测出锯材在固定载荷下的挠度,用以确定与强度有关的刚度,据以判分成材等级。

展望

世界各国都在为节约木材而努力提高制材出材率和木材的综合利用率。其措施包括采用更薄的锯条以减少锯口消耗;探索无屑切割木材途径;利用削片技术;尽量利用制材剩余物;推广连续进料、高效率的多联带锯,以适应锯解小径原木,利用扫描器和电子计算机相结合,以控制原木,准确定位,合理下锯;加强修锯理论和技术的研究,改进修锯设备等。此外,还将逐步研究采用干燥的锯材调拨代替原木调拨。

参考文章