矿井提升机

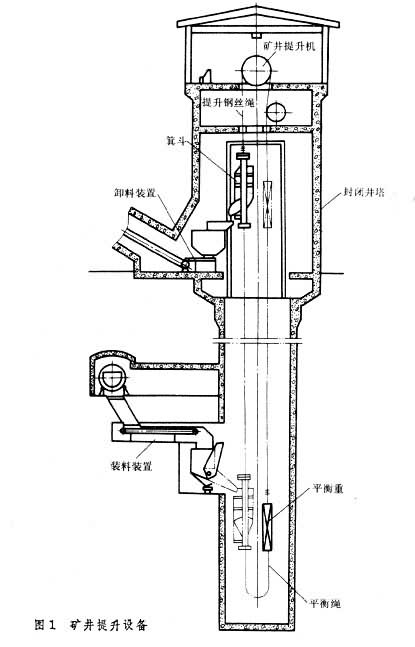
矿井专用的大型绞车矿井提升机通过提升钢丝绳带动容器(罐笼或箕斗)在矿井中升降,与装卸装置、封闭井塔或敞开井架、导向轮或天轮等组成矿井提升设备(图1), 完成井下与地面之间输送物料和人员的任务。矿井提升机提升量大、速度高,已发展成为电子计算机控制的全自动重型矿山机械。(见彩图)

图1 矿井提升机 分类

按提升钢丝绳(简称提升绳)的工作原理,可分为缠绕式矿井提升机和摩擦式矿井提升机两类。缠绕式矿井提升机(图2)有单卷筒和双卷筒两种,钢丝绳在卷筒上的缠绕方式与一般绞车类似。单筒大多只有一根钢丝绳,连接一个容器。双筒的每个卷筒各配一根钢丝绳,连接两个容器,提升机运转时一个容器上升,另一个容器下降。缠绕式矿井提升机大多用于年产量在120万吨以下、井深小于400米的矿井中。摩擦式矿井提升机适用于凿井以外的各种竖井提升。提升绳搭挂在摩擦轮上,利用与摩擦轮衬垫的摩擦力使容器上升。提升绳的两端各连接一个容器,或一端连接容器,另一端连接平衡重。为提高经济效益和安全性,摩擦式矿井提升机采用尾绳平衡提升方式,即配有与提升绳重量相等的尾绳。尾绳两端分别与两个容器(或容器和平衡重)的底部连接,形成提升绳-容器-尾绳-容器(或平衡重)-提升绳的封闭环路。容器处于井筒中的任何位置时,摩擦轮两侧的提升绳和尾绳的重量之和总是相等的。一般将布置在井筒顶部塔架上的这种提升机称为塔式摩擦式矿井提升机。塔架高出地面几十米,在地震区和地表土层特厚的矿区建造井塔耗资较大。提升机布置在地面的称为落地摩擦式矿井提升机(图3),这种提升机的提升绳通过井架天轮引入井筒,与容器相连。按提升绳的数量又可分为单绳摩擦式矿井提升机和多绳摩擦式矿井提升机(图4)。单绳摩擦式只用一根提升绳。多绳摩擦式同时使用数根提升绳搭挂在同一摩擦轮上。多绳摩擦式的优点是:可采用较细的钢丝绳和直径较小的摩擦轮,从而机组尺寸小,便于制造;速度高、提升能力大、安全性好。年产量120万吨以上的竖井大多采用这种提升机,技术参数已达:有效载荷60吨,提升速度20米/秒,提升高度2100米,提升绳10根。但这种提升机的各根提升绳的受力不易均匀,更换钢丝绳也较复杂。当摩擦轮两侧提升绳的张力差超过规定值,或提升绳与衬垫的摩擦系数降低(如接触面上有油或受温度影响)时,可能发生提升绳打滑现象。

图2 图3 图4 组成

矿井提升机主要由电动机、减速器、卷筒(或摩擦轮)、制动系统、深度指示系统、测速限速系统和操纵系统组成,采用交流或直流电机驱动。采用低速电动机时可不用减速器,电动机直接与卷筒主轴相连,或将电动机转子装在卷筒主轴的末端。传动功率大时,可采用2台或 4台电动机同时驱动。一台提升机的总功率已达到11600千瓦。制动系统是保证提升机安全运行的重要装置。遇紧急情况时,制动系统应通过可调节制动力矩的液压系统产生两级安全制动,以保证提升机及时停车又不产生制动过猛现象。交流电动机驱动的提升机,其制动系统还要具有灵敏的制动力矩可调性能,以准确控制提升机在临近停车点时的运行速度。

矿井提升机的控制方式有手动、半自动和全自动等几种。

发展动向

随着矿井开采深度不断加深和采用集中提升方式,多绳摩擦式矿井提升机有较大的发展前途。并为此探索具有耐磨性好、摩擦系数高的摩擦衬垫材料;新结构的多绳缠绕式矿井提升机开始在一些国家使用,它对提升高度大的深井开采有重要意义;采用液压马达代替电动机的防爆提升机受到重视;气力提升也正在研究和发展中。

参考书目
  1. 洛阳矿山机械研究所编:《矿井提升机》,机械工业出版社,北京,1974。