铜绿山矿冶遗址

中国已发现的规模最大、保存最完整的古代矿冶遗址。遗址在湖北省大冶县境内,南北长约2公里,东西宽约1公里,遗留的炼铜炉渣40万吨以上,占地14万平方米左右,推算累计产铜不少于8~12万吨.1973年开始发掘和研究,发掘出地下采区7处,采矿井巷近400条,古冶炼场3处,发现了一批炼铜炉。出土有用于采掘、装载、提升、排水、照明等的铜、铁、木、竹、石制的多种生产工具以及陶器、铜锭、铜兵器等遗物。遗址的年代,经14C测定,至迟始于西周末年,经春秋、战国时期延续到汉代。遗址也发现有隋唐时期的文化遗物和宋代的冶炼场。就遗迹考察,古代探矿方法,多采用浅井工程和重砂测量。重砂测量工具的形状与近代相似,为船形、元宝形等大小不一的淘砂盘(图1)。

图1 船形木盘

铜绿山的古代地下开采早期,井巷掘进过程基本上就是采矿过程。到战国晚期,开拓、采掘、回采等步骤才渐趋明显。与之相应的是井筒支护、分级提升、排水、选别、充填采矿等工艺相继出现和完善。

井巷开拓和支护

由露天开采转入坑采之初,开采规模小、劳动效率低,表现在井小、巷短、井多、巷少。到春秋晚期,开采系统则已相当完整。战国至西汉时期地下开采深度已达60余米,并延伸到潜水面以下23米(图2)。

图2 战国至西汉时期的矿井和巷道

铜绿山古矿区的地下开采系统的发展大致为:地表(最大洪水位以上)或露天采场底(潜水面以上)─→立井(群井)或斜井─→盲立井或平巷与盲斜井─→平巷(或组成采场)。

立井

(包括盲立井)断面一般为正方形,少数为矩形。西周时期立井的净断面为 500×500毫米2左右。井壁为木支护,方框支架间隔排列,间距在400毫米左右。井框为榫卯套接方式,井框与围岩间楔有一层木板,用来围护井筒四壁。到战国时期完全采用经过加工的方木(或圆木)密集式垛盘支护,井口净断面最大者达1.3×1.3(米),接头为单平面亲口接榫,加工整齐,尺寸划一,架设后稳固持久,同近代的木结构井架相似。

斜井

(包括盲斜井)西周、春秋时期的斜井为普通型式的斜井,其支护结构与同期立井的支护结构一样。战国时期发展到阶梯式斜井,由净断面900×900毫米2的“马头门”和900×1000毫米2的短巷组成。支护方式有两种:一种井框支架垂直于斜井的底板,一种井框支架沿铅直方向敷设,后者较多。两种支护方式表明当时对斜井的支护已有了多方面的经验。

平巷

西周、春秋时期的平巷支护与同期立井的支护结构相同。春秋时期平巷的净断面一般为 800×1000毫米2。战国至西汉时期的平巷断面较大(净断面最大者为1600×1950毫米2),距离较长,人可以直立行走(图3)。与平巷相通的立井底部均设马头门结构。战国至西汉时期的马头门高度一般为平巷净高的一倍。

图3 平巷支架方式

采掘工具

有石、木和金属工具。西周至春秋时期的金属工具为铜制,战国以后为铁制。出土的工具有石锤,木制的铲(锹)、槌、耙,铜制的凿、镢,铁制的凿、锤、锄、斧、耙等(图4)。

图4 古矿使用的铜工具

地下采矿方法

同近代的支柱和支柱充填法基本相似。有五种具体方案:群井开采,后演变为方框支柱开采(分为单框竖分条开采──下向式,单层小方框开采──进路式),再演变为水平分层棚子支柱充填开采──上向式,此外还有横撑支柱开采。

群井开采

用垂直井筒直接进行回采。井筒打入矿体,下掘井筒就是回采过程。掘进终了即开采完毕。在西周时期的发掘点内,有由48个立井组成的井群。

单框竖分条开采

由地表下掘一个或数个井筒,边掘边采边支护,视矿体赋存情况,立井掘到一定深度后开挖平巷。为了追踪富矿再下掘盲井。

单层小方框开采

在井底掘进平巷或斜巷,追踪富矿,边掘边采边支护,为独头巷道式开采,一般是进路式的开采方法。

水平分层棚子支柱充填开采

采区分成若干水平分层,自下而上开采,分层随回采的推进而用密集棚子来支撑。支柱与充填配合使用,采空区用手选出的废石(夹石等)和低品位的铜矿石局部或全部充填。上下层支护的关系是下层棚子的顶梁即上层棚子的底梁,下层棚子的底梁敷设在底板的沟槽中。战国至西汉的支护中,下层棚子的断面比上层棚子的断面宽,增加了稳固性。

横撑支柱开采

由地表下掘立井进入富矿带,再由井底向四周扩大,作上向梯段式回采。最大采幅约 5米。采空区由水平撑木和撑木间的垂直顶木支撑,呈多个П型。借助П型结构,造成人工平台,落矿、出矿、提升均在平台上进行。

矿井提升和排水

矿井提升

出土的提升工具有木钩、绳索、平衡石、辘轳轴等。战国至西汉时期的木辘轳轴(图5)长2500毫米、直径 260毫米,可以横架在井口。轴木的两端砍成轴头,以便安放在井口两侧的支架上。出土的装载工具为竹筐、竹篓和藤篓(图6)。

图5 战国至西汉时期的木辘轳轴 图6 装矿石的竹筐 矿井排水

春秋时期的地下矿井就已经有比较完整的排水系统。水道有两种:一种是利用废弃的巷道或专设泄水巷道;另一种是贴平巷一侧的背板铺成排水木槽,彼此连接,置于地梁上。泄水巷道和木槽以一定的高差通向水仓或排水井,水由那里提升到地面。用充填巷道的方法可以堵水和防水,减少汇水面积。

炼铜

从发掘的炼铜遗址看,铜绿山早在2700多年前已经采用鼓风竖炉炼铜(图7)。

图7 炼铜竖炉(炉旁为筑炉工具,炉后为炉渣) 炼铜竖炉

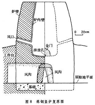
春秋早期的炼铜竖炉由炉基、炉缸、炉身三部分组成,各个炉子结构相近,尺寸大体相同。经过研究复原,竖炉的外形为竖立的腰鼓形(图8),高2.7米,最大直径1.6米。为了适应高温熔炼,竖炉的不同部位,配制不同的耐火材料,夯筑而成。主要材料为红色粘土、高岭土、石英砂、火成岩碎屑、铁矿粉、铁矿粒、木炭粉等。

图 冶炼辅助设施

竖炉两侧垒土墩作工作台。竖炉周围有碎料台、筛分场和泥池、渣坑等辅助设施。碎料台中部留有石砧和石球(图9)。石砧形状一般近椭圆形;有的石砧周围筑有高岭土台面。石砧的大小不等,小的长45厘米,大的长70厘米。砧面经长期使用,均呈凹形。石球大小相近,直径8厘米左右。石砧、石球是碎矿或碾磨筑炉料的工具,质地坚硬(为花岗闪长岩)。可知古代已经将大块矿石破碎、筛分出粒度均匀(一般为2~3厘米)的矿石,入炉冶炼。

图9 碎矿用的石砧和石球 冶炼技术水平

(1)原料和燃料。铜矿石主要采用品位较高的氧化矿,如孔雀石、硅孔雀石、赤铜矿等。燃料为木炭。

(2)造渣和配料。炉渣均呈黑色的薄片状,表面光滑,经化学检验,渣的酸度合适,大多在1.0~1.3之间,成分稳定,渣中含铜大部分小于0.7%,熔点大多在1100~1200℃之间,比重为3.5~4.0,1280℃的粘度为0.2帕斯卡·秒,流动性良好。铜绿山古矿井中的铜矿石可分三类:即碱性矿石(含铜、二氧化硅低,含铁高);酸性矿石(含铜、二氧化硅高,含铁低);富铜矿石(主要是孔雀石)。然而,用其中任何一种矿石单独冶炼都不能得到古代炼渣的成分,说明当时已掌握了配料技术,用不同种类的矿石相互搭配。

(3)铜锭成分。古代遗留的铜锭和粗铜一般含铜量94%左右,含铁量小于5.4%。(见彩图)

铜绿山汉代铜矿遗址出土的铁工具 世界罕见的古代铜矿采区——湖北铜绿山矿冶遗址 图10 炼渣 图11 古代铜锭