火工品

装有火炸药的较敏感的小型爆炸元件或装置,能在外界不大的初始冲能(如机械能、热能或电能)作用下,发生燃烧、爆炸等化学反应,并以其所释放的能量去获得某种化学、物理和机械效应,如点燃火药、起爆炸药或作某种特定的动力能源等。

火工品的特点是能量密度和可靠性高,尺寸小,瞬时释放能量大。在军事上,它是各种常规弹药、核武器、导弹及其他航天器的点火与起爆元件。在航天器中的很多系统(如控制、应急、级间分离、整流罩释放、回收和着陆、安全保险和自毁等系统),还用它去完成特定的作用。在民用方面,火工品是矿山开采、毫秒爆破、爆炸成型、石油勘探、深井采油、钢炉射孔、航空救生、捕捉和驯服野兽等方面非常有用的器件。在医疗上,还可用以排除膀胱结石。

火工品应满足一定的技术要求,应有适当的感度,一定的输出能量,使用安全性,长贮安定性,生产经济性。

火工品的种类较多。按其用途分主要有:引燃用火工品(包括火帽、底火、导火索、点火具等),起爆用火工品(包括雷管、导爆索、传爆管等),动力源用火工品(包括很多完成某种特定动作的小型启动器,如切割器、爆炸螺栓、抛射管、推力器、爆炸阀门等)。按激发能源的形式分主要有:机械作用、火焰作用和电能作用的火工品等。此外,还有军用和民用火工品之分。

根据实际需要往往要将以上多种不同作用的火工品,按其感度递减的次序组合成一定的序列。序列的最后元件完成起爆作用的,为传爆序列;完成点火作用的,为传火序列;总称为爆炸序列。

各类火工品的装配工艺随品种而异。工业火雷管是最简单的一种,它采用分层压装的工艺法装填:先将一定量猛炸药装压在雷管壳内,使其底部装药具有较高的密度;然后,在该药柱上装一层起爆药,再扣上加强帽,在一定压力下压合成形。

常用的火工品:火帽、底火、雷管、索类和启动器等。

火帽

常用作爆炸序列中相当小而灵敏的起始元件(图1),由金属壳内装击发药剂构成,可借针刺、撞击或摩擦等方式发火,以爆燃形式将能量传递给序列中的下一个元件。针刺火帽用于引信中,由引信的击针刺击发火。由于对引信小型化及瞬发性的要求,火帽在引信传爆序列中有被针刺雷管取代的趋势。撞击火帽用于枪、炮弹丸药筒的底火中,由枪、炮的撞针撞击发火。摩擦火帽用于手榴弹传爆序列中。火帽的击发药以氧化剂、可燃物和起爆药为基本成分。第一次世界大战时,广泛使用氯酸钾、硫化锑和雷汞组成的击发药。由于有汞害及腐蚀性等原因,雷汞型击发药正被淘汰。第二次世界大战后,出现了无雷汞、无锈蚀击发药,其主要成分为硫化锑、三硝基间苯二酚铅、四氮烯和硝酸钡。

图1 底火

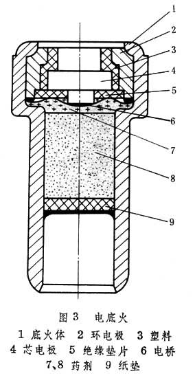
用以引燃发射装药的复合点火装置。它通常由火帽或其他发火元件、点火药及其他零件构成,其中的闭气锥体用以防止火炮发射后火药燃烧气体从底部逸出,烧蚀炮闩镜面。一般底火(图2)由火炮撞针撞击发火,而电底火(图3)则由电能激发,可以大大提高火炮的射速及齐发同步性。现在还有电、击两用底火。

图2 图3 雷管

用来起爆猛炸药,是现在品种最多,且使用最广的基本起爆元件。雷管是随火炸药和爆破技术而发展起来的。19世纪60年代,代那迈特发明不久,在实践中发现,雷汞的爆炸作用能可靠地引爆代那迈特,使后者产生爆轰现象,由此出现了用雷汞装填的雷管。这些发明和发现是炸药应用历史上一个转折点,为炸药在工程爆破及弹药中广泛使用提供了可能性。

雷管由金属壳(有的工业雷管可用纸壳或塑料壳)中分层装以起爆药和猛炸药构成。军用雷管要求小型化,按激发能源的不同,分为针刺雷管、火焰雷管和电雷管(图4)。工业雷管要起爆钝感的炸药,要求有较大的威力,尺寸较大,装药量较多。在传爆序列中,有时由雷管起爆传爆管(或传爆药),再由后者起爆主装药。

图4

工业火雷管由导爆索引爆。它操作方便,且不因杂散电流和雷电感应而意外爆炸,但不适于大面积爆破和远距离起爆,因而有工业电雷管(见彩图)的出现。工业电雷管是在火雷管的起爆端加入一电引火元件构成。电引火元件将输入的电能转为热能,通常为灼热桥丝式,利用桥丝上电流的热效应点燃引火药,以引爆雷管。常用的桥丝为高电阻的镍铬、铂铱和康铜细合金丝。引火药为氧化剂与可燃物的混合物或某些单质弱起爆药。由于实际爆破的需要,工业电雷管又分为瞬发的和延期的,后者如秒、分秒、毫秒延期电雷管(图5)。

电雷管 图5

由于现代各种射频电磁波的强度不断增加,爆破现场的电力、电子设备数量多、功率大,要求电雷管本身具有一定的防静电、防射频和防杂散电流的能力。因而出现了多种抗静电、抗射频和抗杂散电流等钝感型的电雷管,如60年代在研究爆炸丝现象后,接着出现的爆炸桥丝雷管。这种雷管不装起爆药,直接利用桥丝发生物理爆炸时形成的强冲击波等使炸药起爆,这样更安全。

索类火工品

外形呈索状的起传火、传爆、切割或延时作用的火工品,包括导火索、导爆索及近期发展的小直径柔爆索类,如柔性导爆索、限制性导爆索、屏蔽式导爆索、柔性聚能爆炸索及精密延期索等。

导火索外径约 6mm。以黑火药为药芯、外层以棉麻编织物缠覆构成。用来传递火焰,主要用于露天工程爆破。导爆索外形与导火索相似,以起爆感度较大的太安、黑索今等作为药芯,其外层用棉麻编织物或金属管包覆。主要用途是传递爆轰,例如在露天采矿中,作为炸药的传爆和起爆。

小直径柔爆索是50年代后期迅速发展起来的新型索类火工品,在航天、导弹等尖端科技领域及深井石油开采等工业中得到广泛应用。其结构类型有多种,例如:柔性导爆索以挠性金属(铅锑合金、铝、银或铜等)为外壳,内装各种单质炸药;限制性导爆索是在柔性导爆索外,加一层尼龙或玻璃纤维编织物,以防止使用时金属外壳形成破片飞散,因而可在精密仪器近旁使用;屏蔽式导爆索由柔性导爆索、支承衬套及不锈钢外套组成;柔性聚能爆炸索药芯为V形装药,护套为塑料或橡胶,它可弯曲成任何形状,爆炸时内层金属形成射流,以切割金属;精密金属延期索药芯为各种不同的延期药。此外,根据需要,柔性导爆索还可有其他结构,如双芯导爆索、平板导爆索和空心导爆索等。

70年代,瑞典发明了一种称为NONEL系统的非电起爆系统。该系统由塑料导爆管、非电毫秒雷管、起爆元件和连接元件组成。导爆管是在高强度塑料软管内壁,涂以薄层炸药(如含铝粉的太安或奥克托今等)构成的。其爆速约为 2000m/s。起爆后冲击波利用内沟槽效应而传播,通过系统中装配在雷管起爆端的消爆管消爆后,再点燃延期雷管,以保证延期的精度。

启动器

能把火炸药反应的能量转变为可控机械力的一种自持动力传递装置。它可以完成许多特定的动作,具有多种结构形式。有利用火药作功的机构与利用炸药作功的机构。前者以火药燃烧时产生的气体为动力,去推动活塞、闭合开关等;后者以炸药所产生的冲击波去破坏、分离或解脱某些连接部分等。

火工品应用广泛,内容复杂。一些研制中的新型火工品,正在突破传统火工品的概念,如双金属点火管、双金属延期元件、流体起爆器、飞片雷管、电子延期雷管和激光火工品等。对火工品领域的研究,已形成一门综合性的专业技术──火工技术。