霍尔器件

利用霍尔效应的固态电子器件。E.H.霍尔于1879年发现:一块矩形导体或半导体材料在磁感应强度Bz的磁场中,在垂直于磁场的方向有电流Ix通过试件(图1),在既垂直于磁场Bz、又垂直于电流Ix的方向将产生电场Ey,这就是霍尔效应。这个电场在电极3和4之间产生电动势UH,称为霍尔电动势

UH=-RHBzIx/d

式中Ix为从电极1到电极2的电流;d为试件厚度;RH为比例系数(称霍尔系数)。霍尔系数与试件中载流子浓度有关

公式 符号

式中n为试件中导电载流子浓度;q为电子的电荷。霍尔系数的符号决定于试件中载流子是带正电荷或负电荷。

图

霍尔器件除矩形外,还有十字形、方形、四叶苜蓿叶形和其他更复杂的形状(图2)。形状不同,试件中电势分布也不同。霍尔电极的焊点占一定面积,也影响电势分布。为此引进一个形状因子K

UH=-KRHIxBz/d

图

已知试件的尺寸、磁场强度和电流,测量霍尔电动势即可求得试件的载流子浓度。载流子浓度是半导体材料的一个重要参量。在不同温度下测量霍尔系数可以得到试件中载流子浓度和温度的关系。这是了解半导体材料的基本性质的一个重要方法。在给定的电流强度下,产生的霍尔电动势与磁场强度成正比。可以利用这一原理来测量磁场强度。

在图1的电极1,2间加恒定电压Ui,霍尔电动势的表达式可变换成

UH=(UiμB)(Kw/l)

式中 Ui为两个电流电极之间的电压;μ为试件中载流子迁移率;w和l分别为试件的宽度和长度。恒定电压下电极3和4之间的电压也与磁场强度成正比。

实际上,用霍尔器件测量磁场强度时,是用恒定电流法还是用恒定电压法,要考虑多方面的因素,如磁场强度和霍尔电压间的线性误差、灵敏度的温度系数、同样工艺条件制造的器件的性能分散程度等。

用霍尔器件测量磁场强度的特点是:器件很小很扁(可以放在窄缝中),有很高的准确度、灵敏度和稳定性,还有很宽的工作温度范围。

图

如果磁场由电磁铁产生(图3),磁场强度与电流强度IB成比例,在磁场中的霍尔器件产生的霍尔电压与两个电流的乘积IxIB成比例,因此可以利用霍尔效应制成乘法器。乘法器有许多用途,除进行乘法运算外,还可以用作调制器、除法器、功率计等。

图

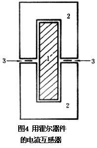
图4是利用霍尔器件测量几千安培以上的大电流的方法。图中1 是通过大电流导体的截面,2是两块磁性材料,在两个空气隙中放有霍尔器件3。用霍尔器件测量磁性材料中的磁感应强度。此法特别适用于测量大直流电流强度。

用永久磁铁作为不消耗能源的“发射机”,用霍尔器件作为“接收机”。将它们分别粘在两个物体上,则可测量两个物体的相对位置。

还可以利用霍尔效应制作旋转器、单向器和环行器。这类器件使信号沿单一方向传输,而不能沿相反的方向传输。

制造霍尔器件的半导体材料主要是锗、硅、砷化镓、砷化铟、锑化铟等。一般用N型材料,因为电子迁移率比空穴的大得多,器件可以有较高的灵敏度。有的材料的禁带宽度很窄,工作的温度范围小。除了用整块半导体材料做霍尔器件外,还可以用薄膜制作霍尔器件。在绝缘衬底上淀积薄膜或用外延或离子注入等方法在高电阻率的半导体衬底上制造一层厚度为微米量级的薄膜。用离子注入或处延法制造的砷化镓霍尔器件在很宽的磁场强度范围内有很好的线性关系,并且能在很宽的温度范围内稳定地工作。用硅外延或离子注入方法制作的薄膜霍尔器件可以和集成电路工艺相容。将霍尔器件和差分放大器及其他电路做在一个硅片上,可以缩小尺寸、提高灵敏度、减小失调电压,便于大量生产。