[拼音]:jichuang biansuxiang
[外文]:speed change box of machine tool
改变机床主运动速度(如主轴转速、工作台每分钟往复行程数等)的机构。它可以单独地装在一个箱体内构成机床的一个部件,也可以与其他机构共同装在一个箱体内,例如与主轴部件装在一起时就称为主轴变速箱。变速的方法包括通过变更传动件的组合实现有级变速和采用机械的、液压的或电力的机构实现无级变速。
机床主轴转速(或其他主运动速度)为有级变速时,转速一般按等比数列排列。常用的公比嗘有1.06、1.12、1.26、1.41、1.58、1.78、2.00等。最高转速与最低转速之比称为变速范围Rn。Rn、嗘与变速级数Z之间的关系为Rn=嗘Z-1 。常用的变速级数为2或3的倍数,如2、3、4、6、8、9、12、16、18、24、27等。有些机床的转速在全部变速范围内有两个或两个以上的公比,在常用的区域(一般为中间部分)内取较小的公比,使转速较密,便于选用合适的转速,在其他区域(一般在两端)内取较大的公比,以满足个别工序或调整机床的需要,这种变速系统称为混合公比变速系统。变速箱中各传动件的运动传递关系可用传动系统图(图1a)表示,它是用规定的图形符号画成的示意图。
转速图
表示传动系统中各轴可能获得的转速和其他传动特性的线图(图1b)。图中各竖线依次代表各轴,各横线代表各轴的转速,由于转速取对数坐标,各横线间的距离相等,并等于1g嗘,习惯上,就以这个距离代表公比 嗘。各竖线上的小圆圈表示该轴所能得到的几种转速。两圆圈之间的连线表示一传动副,并按其倾斜程度表示传动比的大小,两轴间相互平行的连线代表同一传动副。从转速图上可以看出这一系统的传动组数、各组的传动副数、变速级数、变速范围、各轴的转速和各传动副的传动比等。
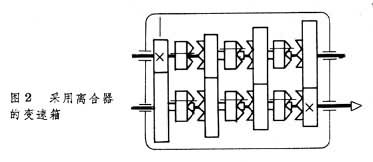
变速方式变速箱中有级变速的方式可采用滑移齿轮(图1)、离合器(图2)和交换齿轮(图3)等或它们的组合。采用滑移齿轮和爪形离合器变速时,主轴必须停止或缓慢旋转,但结构比较简单。采用多片式电磁离合器或液压离合器可在机床运转时变速,并便于实现远距离操纵和自动变速,适用于数字控制机床、仿形机床和其他自动化程度较高的机床。交换齿轮变速只适用于不经常变速的专用机床或专门化机床。无级变速可采用机械无级变速、液压马达、直流电动机或可变速的交流电动机。
操纵机构变速操纵机构主要有分散式、集中式和预选式3种。对于分散式操纵机构,一般须操纵多个操作件(手柄或按钮)才能完成一个变速过程。集中式操纵机构由一个或两个操作件完成一个变速过程,操作方便,但结构较复杂。预选式操纵机构可以在机床工作中预先选择下一工序所需的转速,转入下一工序时操纵一个操作件即可实现变速,缩短了辅助时间,但结构复杂。