含Cr(Ⅵ)废水主要来源于电镀行业、不锈钢制造业、电池制造业、冶金行业和矿石开采业,如电镀生产过程中的镀件清洗、镀液过滤、废液排放等〔1〕。处理含Cr(Ⅵ)废水的方法很多,如还原-沉淀法〔2〕、电解法〔3〕、离子交换法〔4〕、膜分离法〔5-6〕、吸附法〔7〕、微生物法〔8〕,这些方法在实际应用中都存在如下3 个弊端:(1)废水含Cr(Ⅵ)浓度低,水体处理量大,导致投加药剂量大,易造成二次污染;(2)工艺及设备占地面积大,操作成本、固定投资大;(3)工艺操作复杂,工艺条件不稳定,操作较难控制。
针对以上问题,本试验尝试将离子交换树脂法和FeSO4·7H2O 还原沉淀法2 个传统的单个处理工艺耦合运用,这样既避免了单个处理工艺的弊端,又可以将2 个工艺的优点加以联合,处理效率大大提高。
本研究的目的是探索一种高效、低成本并特别适合低浓度含Cr(Ⅵ)废水的处理方法。试验采用离子交换树脂法—FeSO4·7H2O 还原沉淀法耦合工艺处理含Cr(Ⅵ)废水,即将低浓度含Cr(Ⅵ)废水流经离子交换柱,通过调节工艺参数使出水达标排放,然后用5% NaOH 溶液洗脱吸附饱和的离子交换柱,收集浓缩的高浓度含Cr(Ⅵ)废水。以FeSO4·7H2O为还原剂处理浓缩的高浓度含Cr(Ⅵ)废水,使Cr(Ⅵ)还原为Cr (Ⅲ),调节pH 为8~9,使Cr (Ⅲ)生成Cr(OH)3沉淀而得以去除,含铬污泥可烘干回收利用。试验考察了pH、反应时间、搅拌速度、FeSO4·7H2O 投加量等因素对高浓度含Cr(Ⅵ)废水处理效果的影响,为该法的工业化应用提供指导性参考。
1 试验部分
1.1 试验用水
离子交换部分:以K2Cr2O7配制一定浓度的含Cr(Ⅵ)废水作为离子交换部分的试验用水。
还原沉淀部分:以离子交换部分浓缩的高浓度含Cr(Ⅵ)废水作为还原沉淀部分的试验用水。
1.2 试验设备和仪器
UV-1100 型紫外/可见分光光度计,上海美谱达仪器有限公司; pHS-25 酸度计,上海雷磁公司;FA2004 电子天平,上海舜宇恒平科学仪器有限公司;离子交换柱,D=23 mm,H=250 mm,深圳市铭科科技有限公司;ZR4-6 混凝试验搅拌机,深圳市中润水工业技术发展有限公司;布氏漏斗,上海禾汽玻璃仪器有限公司;马弗炉,宜兴市前锦炉业设备有限公司。
1.3 试验方法
试验工艺流程见图1。
图1 工艺流程
1.3.1离子交换树脂法
试验用离子交换树脂为D301 大孔型弱碱性阴离子交换树脂,即在大孔结构的苯乙烯-二乙烯苯共聚体上主要带有叔胺基的阴离子交换树脂,碱性较弱。该树脂对Cr(Ⅵ)具有较好的吸附效果,且再生效率高、交换容量大、抗污染能力强、机械强度好。
离子交换过程可以用下面3 个方程式表达:
树脂的预处理:
R—Cl+NaOH→R—OH+NaCl (1)
吸附反应:
R—OH+Cr2O72-→R—Cr2O7+OH- (2)
洗脱反应:
R—Cr2O7+OH-→R—OH+Cr2O72- (3)
使大量的低浓度含Cr(Ⅵ)废水流经用D301 树脂填充的离子交换柱,调节工艺参数使出水达标排放;Cr(Ⅵ)被吸附在树脂上,待树脂吸附饱和,用质量分数为5%的NaOH 洗脱液洗涤,收集高浓度含Cr(Ⅵ)富集液。
1.3.2 FeSO4·7H2O 还原沉淀法
移取100mL 经稀释的含Cr(Ⅵ)富集液于250mL的烧杯中,调节pH,加入一定量的FeSO4·7H2O,在一定搅拌速度下反应一段时间,过滤;调节滤液的pH 为8~9,并加入1~2 滴质量分数为0.1%的聚丙烯酰胺(PAM)絮凝剂,静置沉淀30 min;取上清液测定其中的Cr(Ⅵ)浓度,过滤、收集Cr(OH)3沉淀。将Cr(OH)3沉淀在马福炉中于650 ℃左右煅烧,可得到Cr2O3。
1.4 测试方法
Cr(Ⅵ)的测定采用二苯基碳酰二肼分光光度法〔9〕。
2 结果与讨论
2.1 离子交换树脂法
2.1.1吸附部分
查阅相关文献,根据树脂D301 的使用参考标准的填装高度和运行速度,推算出其停留时间约为2.4~12 min,而试验实际填装高度为150 mm,则运行流量约为5.2~26.0 mL/min。
配制质量浓度为100 mg/L、pH 约为5.7 的含Cr(Ⅵ)废水15 L,使其流经试验用离子交换柱,保持流量约为20 mL/min,离子交换树脂对Cr(Ⅵ)的吸附效果见表1。
由表1 可知,该离子交换柱运行10.50 h,吸附质量浓度为100 mg/L 的含Cr(Ⅵ)废水12.7 L,吸附Cr(Ⅵ)的质量约为1 254.6 mg,Cr(Ⅵ)吸附率高达99.89 %以上,出水水质完全达标,可回收循环利用。
表1 D301树脂对Cr(Ⅵ)的吸附效果
2.1.2洗脱部分
将负载1 254.6 mg Cr(Ⅵ)的交换柱,用5%NaOH 溶液以20 mL/min 的流速解吸,每收集100 mL流出液,测定一次Cr(Ⅵ)的浓度,解吸效果如图2所示。
图2 动态洗脱曲线
由图2 可知,解吸的Cr(Ⅵ)主要集中在初始流出液的500 mL 体积中,约占吸附的Cr(Ⅵ)总质量的95%,浓缩了约70 倍,pH 为12.5。收集前48 min浓度较高的富集液,共820 mL,平均Cr(Ⅵ)质量浓度为1 506.00 mg/L,还原沉淀部分试验用水皆由此浓缩液配制。
另外,由图2 还可看出,该洗脱曲线峰形陡峭,没有托尾现象,洗脱时间短、效率高且节省原材料。
2.2 FeSO4·7H2O 还原沉淀法
2.2.1 pH 的影响
根据文献所述,FeSO4·7H2O 适宜在碱性条件下还原Cr(Ⅵ)〔10〕,故试验在pH≥7 的条件下进行。按照1.3.2的方法,稀释含Cr(Ⅵ)浓缩液,使其质量浓度为500 mg/L,取100 mL 于250 mL 的烧杯中,分别调节pH 为7、8、9、10、11、12、13、13.5,在搅拌速度为150 r/min、FeSO4·7H2O 投加量为2.5 倍理论值的条件下,通过测定反应100 min 后上清液的Cr(Ⅵ)浓度,考察pH 对Cr(Ⅵ)去除效果的影响,结果如图3 所示。
图3 pH 对Cr(Ⅵ)去除效果的影响
由图3 可以看出,碱性条件下,FeSO4·7H2O 对Cr(Ⅵ)的去除率均高于99.31%,表明FeSO4·7H2O 适宜在碱性条件下还原Cr(Ⅵ)。
2.2.2反应时间的影响
按照1.3.2的方法,稀释含Cr(Ⅵ)浓缩液,使其质量浓度为500 mg/L,取100 mL 于250 mL 烧杯中,在pH=12.5、搅拌速度为150 r/min、FeSO4·7H2O 投加量为2.5 倍理论值的条件下,分别反应0、15、30、50、70、90、100 min,通过测定反应后上清液的Cr(Ⅵ)浓度,考察反应时间对Cr(Ⅵ)去除效果的影响,结果如图4 所示。
图4 反应时间对Cr(Ⅵ)去除效果的影响
由图4 可知,反应时间越长,Cr(Ⅵ)去除率越高,但当反应时间>30 min 时,随着反应时间的延长,Cr(Ⅵ)去除率趋于平衡,故选用30 min 为最佳反应时间。
2.2.3搅拌速度的影响
按照1.3.2的方法,稀释含Cr(Ⅵ)浓缩液,使其质量浓度为500 mg/L,取100 mL 于250 mL 烧杯中,调节pH 为12.5,控制搅拌速度分别为50、80、100、120、150、170、190、220 r/min,在FeSO4·7H2O 投加量为2.5 倍理论值的条件下,通过测定反应30 min 后上清液的Cr(Ⅵ)浓度,考察搅拌速度对Cr(Ⅵ)去除效果的影响,结果如图5 所示。
图5 搅拌速度对Cr(Ⅵ)去除效果的影响
由图5 可知,随着搅拌速度从50 r/min 增加到220 r/min,Cr(Ⅵ)去除率由12.31%升至99.84%,且当搅拌速度≥100 r/min 时,Cr(Ⅵ)去除率均高于98.90%。反应时间越长、搅拌速度越快均有利于去除率的提高,但权衡效率和电耗的关系,取最佳搅拌速度为100 r/min。
2.2.4还原剂投加量的影响
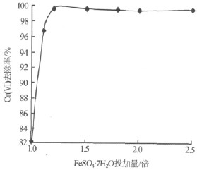
按照1.3.2的方法,稀释含Cr(Ⅵ)浓缩液,使其质量浓度为500 mg/L,取100 mL 于250 mL 烧杯中,调节pH 为12.5,搅拌速度为120 r/min,FeSO4·7H2O投加量分别为理论投加量的1.0、1.1、1.2、1.5、1.8、2.0、2.5 倍,通过测定反应30 min 后上清液的Cr(Ⅵ)浓度,考察FeSO4·7H2O 投加量对Cr(Ⅵ)去除效果的影响,结果如图6 所示。
图6 FeSO4·7H2O 投加量对Cr(Ⅵ)去除效果的影响
由图6可知,随着FeSO4·7H2O 投加倍数的增加,Cr(Ⅵ)去除率也大大提高,当FeSO4·7H2O 投加量为理论投加量的1.2 倍时,Cr(Ⅵ)去除率已高达99.65%,继续增加FeSO4·7H2O 投加倍数,Cr(Ⅵ)去除率的变化趋于平稳。但是不同FeSO4·7H2O 投加量下,反应后上清液的pH 相差很大,FeSO4·7H2O 投加量对反应后溶液pH 的影响如图7 所示。
图7 FeSO4·7H2O 投加量对反应后溶液pH 的影响
由图7 可以看出,反应后上清液的pH 随着FeSO4·7H2O 投加量的增加而下降。这主要是由于随着FeSO4·7H2O 投加量的增加,溶液中的Fe2+增多,而Fe2+与OH-有较强的结合力,从而大大消耗了溶液中游离的OH-,出现FeSO4·7H2O 投加量越大,溶液pH 越低的试验现象。考虑到经济成本,最佳FeSO4·7H2O 投加量选用理论投加量的1.2 倍。。
3 结论
采用离子交换树脂—FeSO4·7H2O 还原沉淀耦合工艺处理质量浓度为100 mg/L 的含Cr(Ⅵ)废水,首先使低浓度的含Cr(Ⅵ)废水流经直径为23 mm、填装高度为150 mm的离子交换柱,以20 mL/min 的流量连续运行10.5 h,试验结果表明,该离子交换树脂柱吸附质量浓度为100 mg/L 的含Cr(Ⅵ)废水12.7 L,吸附Cr(Ⅵ)的质量约为1 254.6 mg,Cr(Ⅵ)吸附率高达99.89%以上,出水水质完全达标;以5%NaOH 溶液为洗脱剂对吸附饱和的树脂进行洗脱,洗脱液Cr(Ⅵ)质量浓度高达6 918.7mg/L,浓缩了约70 倍,且洗脱曲线峰形陡峭,没有托尾现象。用FeSO4·7H2O 还原沉淀经浓缩后的高浓度含Cr(Ⅵ)废水,其最佳反应条件:pH≥7,反应时间为30 min,搅拌速度为100 r/min,FeSO4·7H2O 投加量为理论投加量的1.2 倍,在此条件下,Cr(Ⅵ)去除率可高达99.65 %。














