丙烯腈生产中排出的废水含有剧毒物质丙烯腈、乙腈、氢氰酸、聚合物、硫铵等,这些废液必须经过处理才能排放,不然会对环境造成极大的污染,同时危害人类健康,且有机腈经生化反应后水中氨氮增加,加大水体富营养化危害。齐鲁分公司丙烯腈装置的污水处理采用A/O 工艺,要求装置来水CODCr含量应小于1000mg·L-1,但实际生产中来水的CODCr累计平均值高达1760mg·L-1,远远超过了生化处理的要求,因此必须对废水进行适当的预处理。
本实验拟采用混凝法预处理技术,对齐鲁石化丙烯腈生产污水进行预处理实验研究,以降低废水的COD值,提高废水的可生化性,从而保证后续生化单元正常运行。
1 混凝法简介
混凝法是采用混凝剂使废水的胶体破坏,通过物理或化学的作用,使原溶于水的或呈细微状态而不易沉降、过滤的有机物脱稳、凝聚,形成聚集状态的粗颗粒从水中分离出来,达到降低废水中COD含量的目的。其机理是:
1) 压缩双电层。在废水中加入电解质作为混凝剂,可改变胶体离子的表面电势,或改变分解介质中电解质的浓度与价态,以影响胶体间的排斥位能、压缩双电层,能增加颗粒间的吸引力,使颗粒聚集而沉降。
2) 吸附电中和。胶体表面对异性离子、异性胶粒或链状离子带异性电荷的部位有强烈的吸附作用,这种吸附作用中和了部分电荷,减少了静电斥力,使颗粒聚集而沉降。
3) 吸附架桥。胶体溶剂对高分子物质具有强烈的吸附作用,高分子两端通过静电引力、范德华力、氢键、配位键等,共同吸附胶体粒子,结合成絮状体,使颗粒聚集而沉降。
4) 沉淀物网捕。体系中存在金属氢氧化物沉淀或金属碳酸盐沉淀时,水中胶体会被沉淀物网捕而沉淀。
2 实验部分
2.1 实验水质
实验用水为齐鲁石化丙烯腈生产废水,水质指标: COD: 1760 mg·L-1,pH值: 8~9,浊度: 57.5NTU。
2.2 实验步骤
混凝实验分为最佳投药量、最佳pH值两部分。在进行最佳投药量实验时,先选定一种搅拌速度变化方式和pH值; 在进行最佳pH值实验时,按照最佳投药量测定不同pH值下浊度变化,求出混凝最佳pH值。
2.2.1 最佳投药量实验步骤
1) 取6 个1000 mL 的烧杯,分别放入500 mL 原水,置于六联搅拌机平台上。
2) 确定实验时的混凝剂投加量。根据最小混凝剂投加量,取其1 /4 作为1 号烧杯的混凝剂投加量,取其2 倍作为6 号烧杯的混凝剂投加量,用依次增加混凝剂投加量相等的方法求出2~5 号烧杯混凝剂投加量,把混凝剂分别加入2~5 号烧杯中。启动搅拌机,快速搅拌半分钟,转速约500 r /min,然后慢速搅拌20 min,转速约100 r /min。
3) 关闭搅拌机,静止沉淀10 min,用50 mL 移液管吸出烧杯中的上清液约100 mL 放入烧杯内,立即用浊度仪测定浊度。
2.2.2 最佳pH值实验步骤
1) 取6 个1000 mL 烧杯分别加入500 mL 原水,置于实验搅拌机平台上。
2) 调整原水pH值,调整1 号烧杯水样使pH值等于3,其他水样的pH值依次增加一个pH 单位。
3) 向各烧杯中加入相同剂量的混凝剂。启动搅拌机,快速搅拌半分钟,转速约500 r /min,然后慢速搅拌20 min,转速约100 r /min。
4) 关闭搅拌机,静止沉淀10 min,用50 mL 移液管吸出烧杯中的上清液约100 mL 放入烧杯内,立即用浊度仪测定浊度。
3 实验结果与讨论
3.1 混凝剂的筛选
3.1.1 单一混凝剂浓度对浊度去除率的影响
混凝剂的投药量是影响混凝效果的重要因素,对混凝剂的用量选择还应综合考虑混凝效果与药剂成本之间的关系。药剂投加量与浊度关系曲线见图1~3。
图1 硫酸亚铁投加量对混凝效果的影响
Fig.1 Influence of the dosage of ferrous sulfate to coagulation effect
由图1 知,硫酸亚铁最佳投加量为20 mg·L-1,此时浊度去除率为57.76%。
图2 硫酸铝投加量对混凝效果的影响
Fig.2 Influence of the dosage of aluminum sulfate to coagulation effect
由图2 知,硫酸铝最佳投加量为110 mg·L-1,此时浊度去除率为56.50%。
图3 PAC 投加量对混凝效果的影响
Fig.3 Influence of the dosage of PAC to coagulation effect
由图3 知,PAC 最佳投加量为25 mg·L-1,此时浊度去除率为78.27%。
而PAM 在确定形成矾花所用的最小混凝剂量实验中,效果不明显,可能是由于丙烯腈废水中的悬浮物主要是丙烯腈的低聚物,可供吸附架桥的物质较少。
为了比较混凝剂的处理能力和用药量,将其最佳投加量和对应的最高浊度去除率列于表1。
表1 混凝剂的最佳投加量和对应的最高浊度去除率
Table 1 The best dosage of coagulant & the highest turbidity removal rate correspondly
由表1 知,PAC 最佳投加量为25 mg·L-1,其用量与硫酸亚铁相比,相差不大,浊度去除率达78.27%,在三者中去除率最高,混凝效果最好,且投加聚合氯化铝时矾花形成快,大而密实,泥水易于分离。
3.1.2 pH值对单一混凝剂去除浊度的影响
每种混凝剂都有其适宜的pH值范围,pH值的大小不仅直接影响污染物的存在形态和性质,而且影响着混凝剂的水解平衡与水解产物的存在形态。
在各混凝剂最佳投加质量浓度,pH值对混凝效果的影响,见图4~6。
图4 不同pH值下硫酸亚铁对混凝效果的影响
Fig.4 Influence of ferrous sulfate to coagulation effect under different pH value
由图4 知,硫酸亚铁混凝最佳pH值为12,剩余浊度随pH值增加而降低。当pH值= 9 时,浊度去除率为59.05%,说明用硫酸亚铁处理丙烯腈废水,适宜的pH值范围为pH值≥9。
图5 不同pH值下硫酸铝对混凝效果的影响
Fig.5 Influence of aluminum sulfate to coagulation effect under different pH value
由图5 知,硫酸铝最佳混凝pH值为9,浊度去除率在54.80%以上,用硫酸铝处理丙烯腈废水,其适应pH值范围为8~10。
图6 不同pH值下PAC 对混凝效果的影响
Fig.6 Influence of PAC to coagulation effect under different pH value
由图6 知,PAC 处理丙烯腈废水的最佳混凝pH值为7,浊度去除率在75.32% 以上,浊度去除率较高。
经最佳投药量、最佳pH值实验筛选,选用PAC作为混凝剂对丙烯腈废水的处理效果最好。
3.2 复合混凝剂对浊度去除率的影响
近年来,使用新型的高分子混凝剂处理废水是人们关心的课题[1]。为进一步提高混凝效果,采用助凝剂PAM 与PAC 联用来处理丙烯腈废水,考察助混凝剂加入量、pH值对浊度和CODCr去除率的影响。
3.2.1 助凝剂PAM 投加量对浊度去除率的影响
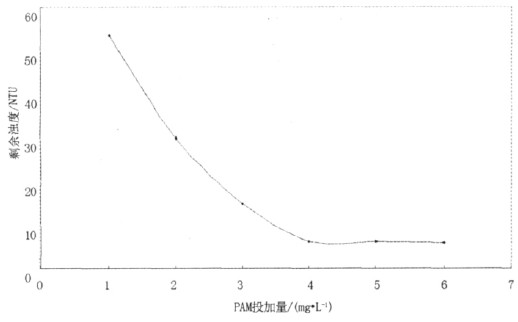
在PAC 最佳投加量为25 mg·L-1 时,助凝剂PAM 投加量对处理效果的影响如图7 所示。
图7 PAC + PAM 投加量对混凝效果的影响
Fig.7 Influence of the dosage of PAC & PAM to coagulation effect
由图7 可见,PAM 投加为4 mg·L-1 时,浊度去除率达89.06%,混凝效果明显提高。
3.2.2 pH值对PAM 和PAC 复合混凝剂去除浊度的影响
鉴于PAM 和PAC 的加入对丙烯腈废水的pH值影响较大,实验中比较了不同初始pH值下,投加PAM 和PAC 复合混凝剂后废水的浊度的变化,实验结果如图8 所示。
图8 不同pH值下PAC + PAM 对混凝效果的影响
Fig.8 Influence of PAC & PAM to coagulation effect under different pH value
由图8 知,当pH值= 7 时,浊度去除率最高,达93.01%。PAM 和PAC 复合混凝剂处理丙烯腈废水比单一混凝剂效果好。由上述实验得知,PAM 和PAC 复合混凝剂最佳投加质量浓度4 mg·L-1和25mg·L-1,最佳pH值为7。
3.2.3 PAM 和PAC 复合混凝剂处理废水COD变化
因在工业运用中调整废水pH值,需耗用大量酸碱,成本较高,所以在实验室测定了两种pH值条件下,即: 将废水pH值调整为7 和未调pH值,废水CODCr的去除率。测定结果如表2 所示。
表2 PAM + PAC 混凝后废水的COD去除效果
Table 2 COD removal rate of wastewater after coagulating by PAM & PAC
由表2 知,当调废水pH值= 7 时,经PAM 和PAC 复合混凝剂混凝处理后出水COD降为960 mg·L-1,COD去除率为45.45%; 而在原废水pH值条件下,经PAM 和PAC 复合混凝剂处理后出水COD降为992 mg·L-1,COD去除率为43.64%。从而可以看出,在原水pH值条件下处理出水COD去除率比调pH值为7 时的COD去除率要稍微低一点,但考虑到工业运用成本等问题,宜选择后者即在原水pH值条件下,用PAM 和PAC 复合混凝剂处理废水。。
4 结论
1) 在单一混凝剂浓度对浊度去除率的影响实验中,PAC 最佳投加量为25 mg·L-1,其用量与硫酸亚铁相比,相差不大,浊度去除率达78.27%,在三者中去除率最高,混凝效果最好,且投加聚合氯化铝时矾花形成快,大而密实,泥水易于分离。
2) 在pH值对单一混凝剂去除浊度的影响实验中,得出硫酸铝和PAC 的混凝效果较好。而PAC的使用量较硫酸铝少,且适宜的pH值范围为5~9,pH值适用范围宽,浊度去除率75.32% 最高。因此,经最佳投药量、最佳pH值实验筛选,选用PAC作为混凝剂对丙烯腈废水的处理效果最好。
3) 由PAC 和PAM 助凝剂组成的复合混凝剂,在其投加质量浓度分别为25 mg·L-1和4 mg·L-1时,应用于丙烯腈废水的处理,浊度去除率达93.01%,混凝效果比单一混凝剂大幅提高。
4) 在原废水pH值条件下,经PAM 和PAC 复合混凝剂处理后,丙烯腈废水COD由1760 mg·L-1降为992 mg·L-1,COD去除率为43.64%,浊度去除率达93.01%,使丙烯腈废水的可生化性大大提高。














