¡¡¡¡1 ÒýÑÔ
¡¡¡¡Ä¿Ç°£¬±íÃæ»îÐÔ¼ÁÒѹ㷺ӦÓÃÓÚ¹¤Òµ¡¢Å©Òµ¡¢Ò½Ò©¡¢ÈÕÓû¯¹¤µÈÖÚ¶àÁìÓò£¬ÏàÓ¦µÄÏ´µÓ¡¢»¯¹¤¡¢·ÄÖ¯µÈÐÐÒµ·ÏË®Öоùº¬ÓдóÁ¿±íÃæ»îÐÔ¼Á.´ó¶àÊý±íÃæ»îÐÔ¼ÁÄÑÓÚÉúÎï½µ½â£¬ÇÒÆäÁ½Ç×ÌØÐÔʹ֮ÈÝÒ×Îü¸½ÔÚÎÛÄà»ò³Á»ýÎïÉÏ.Ëæ×ÅÎÛË®³§³öË®ÅÅ·Å»òÎÛÄà´¦Ö㬱íÃæ»îÐÔ¼Á½øÈëË®»·¾³»òÍÁÈÀ»·¾³£¬ÎÛȾÍÁÈÀºÍË®»·¾³£¬¸øÉú̬»·¾³ºÍÈËÌ彡¿µ´øÀ´Ç±ÔÚΣº¦.Òò´Ë£¬¸ßЧȥ³ý·ÏË®ÖеıíÃæ»îÐÔ¼ÁÊǷdz£±ØÒªµÄ.
¡¡¡¡ÔÚ¸÷ÀàÎÛË®´¦Àí¼¼ÊõÖУ¬¸ß¼¶Ñõ»¯¼¼Êõ(Advanced oxidation processes£¬AOPs)ÄܸßЧ´¦Àíº¬±íÃæ»îÐÔ¼Á·ÏË®£¬ÊDZȽÏÊʺϵĴ¦Àí¼¼Êõ.³£ÓõÄAOPs°üÀ¨×ÏÍâ(UV)¡¢³ôÑõ(O3)¡¢Ë«ÑõË®H2O2¡¢UV/H2O2¡¢O3/H2O2¡¢Fenton¼¼ÊõµÈ.ÆäÖУ¬¹â´ß»¯Ñõ»¯¼¼ÊõUV/H2O2ÀûÓÃUV µÄ»î»¯×÷Ó㬼¤·¢H2O2²úÉúôÇ»ù×ÔÓÉ»ù(¡¤ OH)£¬¿ÉÒÔÎÞÑ¡ÔñÐÔµØÓëÓлúÎï·´Ó¦£¬Æä¶ÔÓлúÎÛȾÎïµÄÑõ»¯ÄÜÁ¦½Ïµ¥¶ÀµÄUV»òH2O2´¦ÀíÓÐÏÔÖøÌá¸ß.¸Ã¼¼Êõ¾ßÓз´Ó¦Ìõ¼þκ͡¢²Ù×÷¼òµ¥¡¢Ñõ»¯³¹µ×¡¢ÎÞ¶þ´ÎÎÛȾµÈÖî¶àÓŵã.ʵÑéÊÒºÍÖÐÊÔÑо¿¾ù±íÃ÷£¬UV/H2O2¼¼ÊõÄܸßЧÑõ»¯³£ÓõÄÒõÀë×Ó±íÃæ»îÐÔ¼Á£¬ÈçÊ®¶þÍé»ù±½»ÇËáÄÆ¡¢EDTA£¬µ«¶ÔDOCµÄÈ¥³ýЧÂÊÓÐÏÞ£¬È¥³ýÂÊÔÚ0¡«18%Ö®¼ä.Ŀǰ³£ÓõÄÈ¥ÎÛ¼ÁÖÖÀà·±¶à¡¢³É·Ö¸´ÔÓ£¬¶ÔÓÚʵ¼Ê±íÃæ»îÐÔ¼Á·ÏË®µÄ´¦ÀíЧ¹ûÐèÒª½øÐÐÊÔÑéÑéÖ¤.Òò´Ë£¬±¾Ñо¿Õë¶Ôijµç³§ÊµÓõÄ5ÖÖÈ¥ÎÛ¼Á(Ö÷Òª³É·ÖΪ±íÃæ»îÐÔ¼Á)£¬¿¼²ìUV/H2O2¼¼Êõ¶ÔÆäÑõ»¯Ð§¹û£¬¶Ô±È³õʼpH¡¢H2O2Ͷ¼ÓÁ¿¡¢UV·øÕÕʱ¼ä¡¢±íÃæ»îÐÔ¼Á³õʼŨ¶ÈºÍÖÖÀàµÈÒòËØ¶ÔÑõ»¯Ð§¹ûµÄÓ°Ïì.ÒòËùÓÃ5ÖÖÈ¥ÎÛ¼ÁµÄ³É·Öδ֪£¬¹Ê²ÉÓÃDOCÖµ±íÕ÷ÆäŨ¶È£¬ÓÃDOCµÄÈ¥³ýÂʱíʾUV/H2O2¼¼Êõ´¦Àí¶ÔÈ¥ÎÛ¼ÁµÄ¿ó»¯ÄÜÁ¦£¬ÒÔÆÚΪº¬±íÃæ»îÐÔ¼Á·ÏË®µÄ´¦ÀíÌṩ²Î¿¼.
¡¡¡¡2 ²ÄÁÏÓë·½·¨
¡¡¡¡2.1 ʵÑé²ÄÁÏ
¡¡¡¡È¥ÎÛ¼Á¹²5ÖÖ£¬È¡×Ôijµç³§ÊµÓÃÈ¥ÎÛ¼Á£¬±àºÅΪA¡«E£¬¸÷È¥ÎÛ¼ÁÔÒºµÄDOCŨ¶È¼û±í 1.ʵÑé²ÉÓÃ×ÔÅäË®£¬ÓÃ×ÔÀ´Ë®ÅäÖÆ³ÉDOCŨ¶ÈΪ15¡«100 mg ¡¤ L-1µÄÄ£Äâ·ÏË®ÓÃÓÚÊÔÑ飬ÆäÖУ¬×ÔÀ´Ë®µÄDOCŨ¶ÈΪ0.1 mg ¡¤ L-1£¬¿ÉºöÂÔ.ÒòËùÓÃÄ£Äâ·ÏË®µÄDOCŨ¶È´ó¶àÔÚ50 mg ¡¤ L-1¸½½ü£¬¹Ê½«¸ÃŨ¶Èϸ÷È¥ÎÛ¼ÁË®ÈÜÒºpHÖµÁÐÈë±í 1.¶Ô5ÖÖÈ¥ÎÛ¼Á½øÐÐÁË×ÏÍâ¿É¼û(UV-Vis)¹âÆ×ɨÃèºÍºìÍâ¹âÆ×·ÖÎö£¬ÔÚ½øÐÐUV-VisɨÃèʱ£¬ÒòÈ¥ÎÛ¼ÁµÄÎü¹â¶È³¬¹ýÒÇÆ÷Á¿³Ì£¬¹ÊÓô¿Ë®Ï¡ÊÍ1000±¶ºó²â¶¨.H2O2(30%)Ϊ·ÖÎö´¿.ÈÜÒºpHÖµ²ÉÓÃ1 mol ¡¤ L-1ÇâÑõ»¯ÄÆÈÜÒº»òÏ¡ÁòËá½øÐе÷½Ú.
¡¡¡¡±í1 ÎåÖÖÈ¥ÎÛ¼ÁÔÒºµÄDOCŨ¶È¼°ÆäË®ÈÜÒºµÄpHÖµ
¡¡¡¡2.2 ʵÑé×°ÖÃ
¡¡¡¡UV/H2O2·´Ó¦×°ÖÃΪUV MAXTM(TrojanÌṩ)£¬·´Ó¦Æ÷Ö÷ÌåΪ2.5 L²»Ðâ¸Ö¹Þ(ÄÚ¾¶9 cm£¬¸ß40 cm)£¬ÖÐÑë·ÅÈëÒ»Ö§40 WµÍѹ×ÏÍâµÆ(µ¥²¨³¤254 nm)£¬×ÏÍâµÆÍâÕÖÓÐʯӢ²£Á§Ì׹ܣ¬¹ÞÌåµÄÉÏ¡¢Ï¶ËÓɹܵÀÏàÁ¬£¬²¢ÓÃÒ×ÍþÆæµç´Å¼ÆÁ¿±Ã(Á÷Á¿Îª400 mL ¡¤ min-1)ÍÆ¶¯¹ÞÄÚË®ÑùÁ÷¶¯£¬ÒÔ±£ÕÏ·´Ó¦¹ý³ÌÖйÞÌåÄÚË®³ä·Ö»ìºÏ.½«H2O2(Ͷ¼ÓÁ¿ÔÚ0.3¡«3.0 mL ¡¤ L-1)¼ÓÈë×ÔÅäË®ÖУ¬»ìºÏ¾ùÔȺóÓñÃÎüÈë·´Ó¦¹ÞÖУ¬´ò¿ª×ÏÍâµÆ£¬¿ªÊ¼·´Ó¦.·´Ó¦¿ªÊ¼ºó£¬Ã¿¸ô10¡«15 minȡˮÑùÒ»´Î£¬ÓÃÓÚ¼ì²âÏàÓ¦µÄË®ÖÊÖ¸±ê.
¡¡¡¡2.3 ·ÖÎö·½·¨
¡¡¡¡ËùÓÐË®Ñù¾ù¾¹ý0.45 ¦Ìm΢¿×ÂËĤ¹ýÂ˺ó½øÐвâÊÔ·ÖÎö£¬DOC²ÉÓÃÈÕ±¾µº½òTOC-VWP ×ÜÓлú̼·ÖÎöÒDzⶨ.UV-vis¹âÆ×ɨÃè²ÉÓõº½òUV 3100 ÐÍ·Ö¹â¹â¶È¼Æ£¬²¨³¤É趨Ϊ200¡«800 nm.ºìÍâɨÃè²ÉÓøµÀïÒ¶±ä»»ºìÍâ¹âÆ×ÒÇspectrum one(PerkinElmer£¬Ó¢¹ú)£¬DTGS¼ì²âÆ÷£¬¹âÆ×·¶Î§4000¡«400 cm-1£¬·Ö±æÂÊ4 cm-1.pHÖµ²ÉÓÃpH¼Æ(METTLER TOLEDO®)²â¶¨.
¡¡¡¡2.4 Êý¾Ý·ÖÎö
¡¡¡¡¿ó»¯Âʼ´DOCÈ¥³ýÂÊ(¦Ç)¼ÆË㹫ʽΪ£º¦Ç=(C0-Ct)/C0¡Á100%£¬ÆäÖУ¬C0¡¢Ct·Ö±ðΪ³õʼ¼°·´Ó¦tʱ¿ÌµÄË®ÑùDOCŨ¶È(mg ¡¤ L-1).
¡¡¡¡3 ½á¹ûÓëÌÖÂÛ(Results and discussion) 3.1 H2O2³õʼͶ¼ÓÁ¿ºÍUV·øÕÕʱ¼ä¶ÔÑõ»¯Ð§¹ûµÄÓ°Ïì
¡¡¡¡¶Ô±ÈÁ˲»Í¬H2O2Ͷ¼ÓÁ¿(0¡¢0.3¡¢1¡¢3 mL ¡¤ L-1)¶ÔÑõ»¯Ð§¹ûµÄÓ°Ïì.¶ÔÓÚ³õʼDOCŨ¶ÈΪ45 mg ¡¤ L-1µÄÈ¥ÎÛ¼ÁA£¬ÔÚ4ÖÖH2O2Ͷ¼ÓÁ¿Ï£¬Æä¿ó»¯ÂÊËæUV·øÕÕʱ¼äµÄ±ä»¯Çé¿ö¼ûͼ 1.ÓÉͼ¿ÉÖª£¬µ±H2O2Ͷ¼ÓÁ¿Îª0ºÍ0.3 mL ¡¤ L-1ʱ£¬È¥ÎÛ¼ÁAµÄDOCŨ¶È»ù±¾Îޱ仯£¬ËµÃ÷½öÓÐUV·øÕÕ²»×ãÒÔÑõ»¯È¥³ýÈ¥ÎÛ¼ÁA;µ±H2O2Ͷ¼ÓÁ¿Îª1 mL ¡¤ L-1ºÍ3 mL ¡¤ L-1ʱ£¬È¥ÎÛ¼ÁAµÄDOCŨ¶ÈËæUV·øÕÕʱ¼äµÄÑÓ³¤¶øÖð½¥½µµÍ£¬ÇÒÁ½ÖÖÌõ¼þ϶ÔDOCµÄÈ¥³ýÇé¿öÎÞÏÔÖø²îÒì.UV·øÕÕ30 minºó£¬Ë®ÑùµÄDOCŨ¶È½µµÍ30%£¬ÕÕÉä70 minºó£¬DOCÈ¥³ýÂÊѸËÙÉÏÉýµ½80%£¬ËæºóÖð½¥ÉÏÉýµ½90%.·´Ó¦90 min×óÓÒ£¬DOCÈ¥³ýÂÊÇúÏß½øÈëÆ½Ì¨Çø£¬Ö®ºóËæ×ÅUV·øÕÕʱ¼äÑÓ³¤£¬DOCÈ¥³ýÂʱ仯²»Ã÷ÏÔ.¶ÔÓÚÆäËû4ÖÖÈ¥ÎÛ¼Á£¬ÔÚÈ¥ÎÛ¼Á³õʼDOCŨ¶ÈÔÚ50 mg ¡¤ L-1ʱ£¬H2O2Ͷ¼ÓÁ¿¶ÔDOCÈ¥³ýµÄÓ°Ïì½á¹û¼û±í 2.¶ÔÓÚÈ¥ÎÛ¼ÁBºÍD£¬Ëæ×ÅH2O2Ͷ¼ÓÁ¿ÓÉ1 mL ¡¤ L-1Ìá¸ßµ½3 mL ¡¤ L-1£¬UV·øÕÕ90 minʱµÄDOCÈ¥³ýÂÊÓÐËùÉÏÉý;¶ø¶ÔÓÚÈ¥ÎÛ¼ÁCºÍE£¬Çé¿ö¸ÕºÃÏà·´£¬DOCÈ¥³ýÂÊËæ×ÅH2O2Ͷ¼ÓÁ¿(´Ó1 mL ¡¤ L-1Ìá¸ßµ½3 mL ¡¤ L-1)µÄÔö¼Ó¶øÂÔÓнµµÍ.ÕâÊÇÒòΪH2O2²»½ö¿É¼ÓËÙ ¡¤ OHµÄÉú³É£¬Í¬Ê±ÓÖÊÇ ¡¤ OHµÄâ§Ãð¼Á£¬¹ýÁ¿µÄH2O2¶Ô·´Ó¦Æð¸º×÷ÓÃ(ÕÔÑîµÈ£¬2004).Óɴ˵óö£¬µ±È¥ÎÛ¼ÁµÄ³õʼDOCŨ¶ÈÔÚ50 mg ¡¤ L-1ʱ£¬H2O2Ͷ¼ÓÁ¿¿ÉÉ趨Ϊ1 mL ¡¤ L-1.
¡¡¡¡±í2 H2O2Ͷ¼ÓÁ¿¶Ô5ÖÖÈ¥ÎÛ¼Á¿ó»¯ÂʵÄÓ°Ïì(·´Ó¦Ê±¼ä90 min)
¡¡¡¡´ËÍ⣬ÓÉͼ 1¿ÉÒÔÇå³þµØ¿´µ½£¬·´Ó¦Ê±¼ä¶Ô¿ó»¯Ð§¹ûµÄÓ°Ïì·Ç³£Ã÷ÏÔ£¬µ±·´Ó¦Ê±¼äÔÚ30 minÒÔÄÚʱ£¬¶ÔDOCµÄÈ¥³ýÂÊÔÚ5%¡«40%µÄ·¶Î§.PaganoµÈ(2008)µÄÑо¿Ò²·¢ÏÖ£¬·´Ó¦Ê±¼äΪ30 minʱ£¬¼´Ê¹±íÃæ»îÐÔ¼ÁµÄÈ¥³ýÂÊÒѾ½Ó½ü100%£¬µ«¶ÔCODºÍDOCµÄÈ¥³ýÂʾù½ÏµÍ(·Ö±ðΪ0¡«25%ºÍ0¡«18%).¸Ã½á¹ûÓë±¾Ñо¿µÄ½á¹û±£³ÖÒ»Ö£¬½øÒ»²½ËµÃ÷UV·øÕÕʱ¼äÊÇÓ°Ïì¿ó»¯ÂʵĹؼüÒòËØ.ºú¿¡ÉúµÈ(2007)ÀûÓÃUV/H2O2Ñõ»¯´¦Àí100 mg ¡¤ L-1µÄÊ®¶þÍé»ù±½»ÇËáÄÆ(SDBS)£¬·¢ÏÖ×î¼Ñ·´Ó¦Ê±¼äΪ1 h£¬¶ø±¾Ñо¿ÖÐ×î¼Ñ·´Ó¦Ê±¼äΪ1.5 h.ÕâЩ²îÒì¿ÉÄÜÓë±íÃæ»îÐÔ¼ÁµÄÖÖÀ༰³õʼŨ¶ÈÓйأ¬Í¬Ê±ÖµµÃ×¢ÒâµÄÊDZ¾ÎIJâÊÔÊÇ¿ó»¯ÂÊ(¼´DOCÈ¥³ýÂÊ)£¬¶øÇ°Õ߲ⶨÊDZíÃæ»îÐÔ¼ÁµÄÈ¥³ýÂÊ.
¡¡¡¡Í¼ 1 H2O2Ͷ¼ÓÁ¿¶ÔÈ¥ÎÛ¼ÁAÑõ»¯Ð§¹ûµÄÓ°Ïì
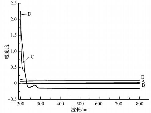
¡¡¡¡ÓÉͼ 2¿ÉÖª£¬È¥ÎÛ¼ÁA¡¢BºÍEÔÚÕû¸ö²¨³¤¶Î¾ùÎÞÃ÷ÏÔÎüÊշ壬¶øÈ¥ÎÛ¼ÁCºÍDÔÚ²¨³¤Îª270 nm´¦³öÏÖ΢ÈõµÄÌØÕ÷ÎüÊÕ·å.ÓÉ´Ë¿ÉÖª£¬5ÖÖÈ¥ÎÛ¼ÁÔÚ²¨³¤Îª254 nm´¦¾ùÎÞÃ÷ÏÔÎüÊÕ£¬²»»á·¢ÉúÖ±½Ó¹â½â£¬¸ÃÍÆÂÛҲͨ¹ýÉÏÊö½á¹ûµÃµ½ÑéÖ¤£¬¼´ÔÚ²»Í¶¼ÓH2O2»òH2O2µÄͶ¼ÓŨ¶È¹ýµÍʱ£¬UV·øÕÕºóÈ¥ÎÛ¼ÁµÄ¿ó»¯Âʲ»¸ß.Òò´Ë£¬±¾Ñо¿Ìõ¼þÏ£¬È¥ÎÛ¼ÁµÄÑõ»¯½µ½âÖ÷ÒªÊÇ ¡¤ OHµÄ×÷ÓÃ.
¡¡¡¡Í¼ 2 ÎåÖÖÈ¥ÎÛ¼ÁµÄUV-vis¹âÆ×ͼ
¡¡¡¡3.2 È¥ÎÛ¼Á³õʼŨ¶È¶ÔÑõ»¯Ð§¹ûµÄÓ°Ïì
¡¡¡¡ÓÉͼ 2¿ÉÖª£¬È¥ÎÛ¼ÁCºÍDÔÚ270 nm´¦ÓÐ΢ÈõÎüÊÕ£¬µ±ÆäŨ¶È½Ï¸ßʱ£¬¿ÉÄÜÔÚ254 nm´¦Ò²ÓÐÒ»¶¨ÎüÊÕ£¬Ó°Ïì×ÏÍâ¹âµÄ͸¹âÂʼ°·´Ó¦ËÙÂÊ.¹ÊѡȡȥÎÛ¼ÁCΪÀý£¬¿¼²ìÆä³õʼŨ¶È¶ÔÑõ»¯Ð§¹ûµÄÓ°Ï죬½á¹û¼ûͼ 3.Ͷ¼Ó1 mL ¡¤ L-1µÄH2O2ʱ(ͼÖÐʵÐÄ·ûºÅ)£¬¶Ô³õʼDOCŨ¶ÈΪ32.7 mg ¡¤ L-1Ë®ÑùµÄ¿ó»¯Ð§¹û×îºÃ£¬DOCÈ¥³ýÂÊ×î´ó¿É´ï70%£¬¶ø³õʼDOCŨ¶È×î´óµÄ79 mg ¡¤ L-1Ë®Ñù¶ÔÓ¦µÄDOCÈ¥³ýÂÊ×îµÍ£¬×î´ó½ö´ïµ½50%.ÔÚH2O2Ͷ¼ÓÁ¿Îª3 mL ¡¤ L-1ʱ(ͼÖпÕÐÄ·ûºÅ)£¬¶Ô½Ï¸ß³õʼŨ¶È(30.8ºÍ98.6 mg ¡¤ L-1)Ë®ÑùµÄDOCÈ¥³ýÂÊÔÚ·øÕÕǰ80 minÎÞÏÔÖø²îÒ죬֮ºó¶Ô¸ßŨ¶ÈË®ÑùµÄDOCÈ¥³ýÂʸü¸ß£¬×î´óÈ¥³ýÂÊ·Ö±ðΪ70%ºÍ80%£¬¶ø¶ÔµÍŨ¶È(18.4 mg ¡¤ L-1)Ë®ÑùµÄDOCÈ¥³ýÂÊÏà¶Ô½ÏµÍ£¬×î´óÈ¥³ýÂÊΪ60%.Óɴ˿ɼû£¬È¥ÎÛ¼Á³õʼŨ¶È¶ÔÓÚÑõ»¯Ð§¹ûÓÐÒ»¶¨Ó°Ï죬ÔÚH2O2Ͷ¼ÓÁ¿Ò»¶¨Ê±£¬È¥ÎÛ¼Á³õʼŨ¶È³¬¹ýÒ»¶¨·¶Î§Ê±£¬´¦ÀíЧ¹û±ä²î£¬¼´Ò»¶¨Ìõ¼þÏ£¬È¥ÎÛ¼Á³õʼŨ¶È¶ÔÑõ»¯Ð§¹ûÓиºÓ°Ïì(Olmez-Hanci et al., 2011).
¡¡¡¡Í¼ 3 È¥ÎÛ¼ÁC³õʼŨ¶È¶ÔÑõ»¯Ð§¹ûµÄÓ°Ïì(ͼÖÐʵÐĵã¶ÔÓ¦H2O2Ͷ¼ÓÁ¿Îª1 mL ¡¤ L-1£¬¿ÕÐĵã¶ÔÓ¦H2O2Ͷ¼ÓÁ¿Îª3 mL ¡¤ L-1)
¡¡¡¡¶Ô±ÈÈ¥ÎÛ¼Á³õʼDOCŨ¶ÈÏàËÆÊ±£¬H2O2Ͷ¼ÓÁ¿¶ÔÈ¥ÎÛ¼ÁDOCÈ¥³ýµÄÓ°Ïì.µ±È¥ÎÛ¼Á³õʼDOCŨ¶ÈÔÚ10¡«30 mg ¡¤ L-1ʱ£¬H2O2Ͷ¼ÓÁ¿Îª1 mL ¡¤ L-1ºÍ3 mL ¡¤ L-1µÄÁ½×éÊÔÑé½á¹ûÎÞÏÔÖø²îÒì;µ±È¥ÎÛ¼Á³õʼŨ¶ÈÔÚ80¡«90 mg ¡¤ L-1ʱ£¬¸ßͶÁ¿H2O2ÄÜÏÔÖø´Ù½ø¶ÔDOCµÄÈ¥³ý.DOCÈ¥³ýÂÊËæH2O2/DOC±ÈÖµµÄ±ä»¯¹æÂɼûͼ 4£¬¿ÉÖªµ±H2O2/DOC±ÈֵΪ0.03 mL ¡¤ mg-1£¬¼´Ã¿30 mg DOCͶ¼Ó1 mL H2O2ʱ£¬¶ÔÓ¦µÄDOCÈ¥³ýÂÊ×î¸ß£¬¿É´ï70%¡«80%.Ò²¾ÍÊÇ˵£¬H2O2Ͷ¼ÓÁ¿´æÔÚ×îÊÊ·¶Î§£¬µ±Í¶¼ÓÁ¿¹ý´ó»ò¹ýСʱ£¬¶ÔÑõ»¯¹ý³ÌÊǸºÓ°Ïì(ÕÔÑîµÈ£¬2004).ÓÉͼ 4Ҳ˵Ã÷£¬²ÉÓÃH2O2/DOC±ÈÖµ±íʾͶ¼ÓÁ¿ÊDZȽϺÏÊʵIJÎÊý.
¡¡¡¡Í¼ 4 DOCÈ¥³ýÂÊËæH2O2/DOC±ÈÖµµÄ±ä»¯¹æÂÉ
¡¡¡¡3.3 ³õʼpH¶ÔÑõ»¯Ð§¹ûµÄÓ°Ïì
¡¡¡¡ÈÜÒº³õʼpHÖµ¶Ô¹â´ß»¯Ñõ»¯¹ý³ÌÓнϴóÓ°Ï죬ÀûÓÃTiO2/UVÑõ»¯´¦Àíº¬SDBS·Ïˮʱ£¬³õʼpHÖµÔÚ8¡«10ʱµÄÑõ»¯Ð§¹û×îºÃ(ÍôÑÔÂúµÈ£¬2002;ÕÔÁáµÈ£¬2004);¶øÔÚUV/H2O2ϵͳ´¦Àí100 mg ¡¤ L-1 SDBS·Ïˮʱ£¬×î¼ÑpHֵΪ6.5(ºú¿¡ÉúµÈ£¬2007).±¾Ñо¿ÒÔÈ¥ÎÛ¼ÁAΪÀý£¬¿¼²ìË®Ñù³õʼpHÖµ¶ÔÑõ»¯Ð§¹ûµÄÓ°Ïì.È¥ÎÛ¼ÁAµÄË®ÈÜÒº³ÉËáÐÔ£¬ÔÚDOCŨ¶ÈΪ50 mg ¡¤ L-1ʱ£¬ÆäpHֵΪ4.4.ÓÃNaOH½«Æä³õʼpHÖµ·Ö±ðµ÷½ÚÖÁ7ºÍ10¸½½ü£¬¶Ô±È3ÖÖ³õʼpHÖµÌõ¼þ¶ÔÑõ»¯Ð§¹ûµÄÓ°Ïì.ÓÉͼ 5¿ÉÖª£¬3ÌõÈ¥³ýÂÊÇúÏßµÄÇ÷ÊÆÒ»Ö£¬¶Ôδµ÷½ÚpHÖµ(pH=4)Ë®ÑùµÄÑõ»¯Ð§¹ûÉÔÓÅÓÚpHµ÷½ÚºóµÄË®Ñù(pHÖµµ÷½ÚÖÁ7ºÍ10×óÓÒ)£¬Ç°ÕßµÄ×î´óÈ¥³ýÂÊ´ïµ½90%£¬¶øºóÁ½ÕßµÄ×î´óÈ¥³ýÂÊÔÚ85%¸½½ü.ÕâÓëLinµÈ(1999)µÄÑо¿½á¹ûÒ»Ö£¬¸Ã·´Ó¦·ûºÏÒ»¼¶·´Ó¦¶¯Á¦Ñ§·½³Ì£¬ÏàÓ¦µÄ¶¯Á¦Ñ§²ÎÊýk¼û±í 3.Óɱí 3¿ÉÖª£¬³õʼpHΪ4ʱµÄ½µ½âËÙÂÊ×î¿ì£¬ËÙÂʳ£ÊýΪ-0.025 min-1£¬¶øµ÷½ÚpHÖµºóµÄ½µ½âËÙÂÊÎÞÏÔÖø²îÒì.¸Ã½á¹ûÓëºú¿¡ÉúµÈ(2007)µÄ½á¹ûÓÐЩ²îÒ죬µ«SanzµÈ(2003)ÀûÓÃUV/H2O2ϵͳ´¦Àí2500 mg ¡¤ L-1 SDBSʱҲ·¢ÏÖpHÖµ¶Ô·´Ó¦ËÙÂʵÄÓ°Ïì²»ÏÔÖø£¬Óë±¾Ñо¿µÄ½á¹ûÒ»ÖÂ.·´Ó¦½áÊøºó£¬ÈÜÒºµÄpHÖµ¾ùÓÐËù½µµÍ(±í 3)£¬ÍƲâ¿ÉÄÜÊÇÑõ»¯¹ý³ÌÖÐÉú³ÉС·Ö×ÓËáÀàÎïÖÊ(Karci et al., 2013).Èç±í 1Ëùʾ£¬ÆäËû4ÖÖÈ¥ÎÛ¼ÁË®ÈÜÒºµÄpHÖµÔÚÖÐÐÔ·¶Î§(6¡«8)£¬ÇÒUV/H2O2¶ÔÆäÑõ»¯Ð§¹û¾ù½ÏºÃ(±í 2)£¬¹ÊÍÆ¼öUV/H2O2Ñõ»¯´¦ÀíÕ⼸ÖÖ±íÃæ»îÐÔ¼Á·ÏˮʱÎÞÐèµ÷½ÚpHÖµ.
¡¡¡¡Í¼ 5 Ë®Ñù³õʼpHÖµ¶ÔÑõ»¯Ð§¹ûµÄÓ°Ïì
¡¡¡¡±í3 ·´Ó¦Ç°ºóÈÜÒºpHÖµ±ä»¯¼°Æä·´Ó¦¶¯Á¦Ñ§²ÎÊý
¡¡¡¡3.4 È¥ÎÛ¼ÁÖÖÀàµÄÓ°Ïì
¡¡¡¡¶Ô±ÈUV/H2O2¶Ô5ÖÖÈ¥ÎÛ¼ÁµÄÑõ»¯Ð§¹û£¬·Ö±ð¶Ô±ÈH2O2Ͷ¼ÓÁ¿Îª1 mL ¡¤ L-1ºÍ3 mL ¡¤ L-1µÄÁ½ÖÖ²Ù×÷Ìõ¼þ£¬È¥ÎÛ¼ÁË®ÈÜÒºµÄ³õʼDOCŨ¶È¾ùΪ50 mg ¡¤ L-1£¬½á¹û¼ûͼ 6.ÓÉͼ¿ÉÖª£¬5ÖÖÈ¥ÎÛ¼ÁDOCµÄÈ¥³ýÂÊÇúÏßÇ÷ÊÆÒ»Ö£¬È¥³ýÂÊÇúÏß¾ù³ÊSÐÍ.UV/H2O2Ñõ»¯¶Ô5ÖÖÈ¥ÎÛ¼ÁDOCµÄÈ¥³ýÂʺÍÈ¥³ýËÙÂÊÓнϴó²îÒì.ÔÚH2O2Ͷ¼ÓÁ¿Îª1 mL ¡¤ L-1ʱ£¬Ñõ»¯¶ÔÈ¥ÎÛ¼ÁAµÄDOCÈ¥³ýÂÊ×î¸ß£¬´ïµ½91%£¬¶ÔBºÍCµÄDOCÈ¥³ýÂÊÔÚ75%×óÓÒ£¬¶ø¶ÔDºÍEµÄ×î´óDOCÈ¥³ýÂʽöΪ63%.¸Ã·´Ó¦·ûºÏÒ»¼¶·´Ó¦¶¯Á¦Ñ§Ä£ÐÍ£¬Æä¶ÔÓ¦µÄ·´Ó¦¶¯Á¦Ñ§³£Êý¼û±í 4.Óɱí¿ÉÖª£¬È¥ÎÛ¼ÁAµÄÑõ»¯ËÙÂÊÏÔÖø¸ßÓÚÆäËû4ÖÖ.¶Ô±ÈH2O2Ͷ¼ÓÁ¿Îª3 mL ¡¤ L-1Óë1 mL ¡¤ L-1µÄÑõ»¯Ð§¹û¿ÉÖª£¬Á½ÖÖÇé¿ö϶ÔÈ¥ÎÛ¼ÁAºÍEµÄDOCÈ¥³ýÂʱ£³Ö²»±ä£¬3 mL ¡¤ L-1 H2O2¶ÔÈ¥ÎÛ¼ÁBºÍDµÄDOCÈ¥³ýÂÊÂÔÓÐÉÏÉý£¬µ«¶ÔÈ¥ÎÛ¼ÁCµÄDOCÈ¥³ýÂÊÓÐËù½µµÍ.ÓÉ´Ë¿ÉÖª£¬ËäÈ»UV/H2O2Äܹ»ÎÞÑ¡ÔñÐÔµØÑõ»¯ÓлúÎµ«¶Ô¾ßÓв»Í¬·Ö×ӽṹºÍÀí»¯ÌØÐÔµÄÓлúÎïµÄÑõ»¯ÄÜÁ¦ºÍЧ¹ûÓÐËù²»Í¬.Õë¶Ô³É·Ö²»Í¬µÄÈ¥ÎÛ¼Á£¬ÐèÒª½øÐÐԤʵÑéÒÔÈ·¶¨×î¼ÑµÄ¹¤×÷Ìõ¼þ.
¡¡¡¡Í¼ 6 UV/H2O2¶Ô²»Í¬È¥ÎÛ¼ÁµÄÑõ»¯È¥³ýЧ¹û
¡¡¡¡±í4 ×î´óDOCÈ¥³ýÂʺÍÒ»¼¶·´Ó¦¶¯Á¦Ñ§²ÎÊý¶Ô±È
¡¡¡¡¶Ô5ÖÖÈ¥ÎÛ¼Á½øÐÐÁ˺ìÍâ¹âÆ×µÄ¶¨ÐÔ·ÖÎö£¬½á¹û¼ûͼ 7.ÓÉͼ¿ÉÖª£¬5ÖÖÈ¥ÎÛ¼ÁµÄºìÍâ¹âÆ×ͼ¸÷²»Ïàͬ£¬µ«ÓÐЩȥÎÛ¼ÁµÄÖ÷ÒªÎüÊÕ·åÓÐÀàËÆµÄÌØÕ÷.ÀýÈ磬ȥÎÛ¼ÁA¡«D¾ùÔÚ1645 cm-1ºÍ1458 cm-1´¦ÓнÏÇ¿ÎüÊÕ£¬´ËλÖÿÉÄÜÊÇCOO-µÄÌØÕ÷ÎüÊÕ£¬¶øÈ¥ÎÛ¼ÁEµÄºìÍâ¹âÆ×ÖÐÎÞ´ËÎüÊÕ·å;È¥ÎÛ¼ÁBºÍC·Ö±ðÔÚ3420 cm-1ºÍ1060 cm-1´¦ÓнÏÇ¿ÎüÊÕ;È¥ÎÛ¼ÁDºÍEÔÚ1100 cm-1´¦ÓнÏÇ¿ÎüÊÕ.µ«ÒòÈ¥ÎÛ¼Á³É·Ö¸´ÔÓ£¬½ö´ÓºìÍâÆ×ͼºÜÄÑÍÆ²âÈ¥Æä³É·Ö.µ«½áºÏͼ 5£¬¿ÉÒÔÍÆ¶ÏÈ¥ÎÛ¼ÁµÄ³É·ÖºÍÖ÷Òª¹ÙÄÜÍŵIJîÒ콫µ¼ÖÂUV/H2O2Ñõ»¯Ð§¹ûµÄ²»Í¬.
¡¡¡¡Í¼ 7 ÎåÖÖÈ¥ÎÛ¼ÁµÄºìÍâ¹âÆ×ͼ
¡¡¡¡4 ½áÂÛ
¡¡¡¡±¾Ñо¿ÒÔijµç³§ÊµÓõÄ5ÖÖÈ¥ÎÛ¼ÁΪÑо¿¶ÔÏ󣬿¼²ìÁËUV/H2O2¶Ô5ÖÖÈ¥ÎÛ¼ÁµÄ¿ó»¯ÄÜÁ¦.Ñо¿½á¹û±íÃ÷£¬ËùÑо¿5ÖÖÈ¥ÎÛ¼ÁÔÚ254 nm´¦¾ùÎÞÌØÕ÷ÎüÊÕ£¬Ö±½Ó²ÉÓÃUV·øÕÕ½µ½â£¬Ð§¹û½Ï²î.µ±Ä£Äâ·ÏË®ÖÐÈ¥ÎÛ¼Á³õʼDOCŨ¶ÈΪ50 mg ¡¤ L-1ʱ£¬×î¼ÑH2O2Ͷ¼ÓÁ¿Îª1 mL ¡¤ L-1£¬·´Ó¦Ê±¼äΪ90 minʱ£¬¶Ô5ÖÖÈ¥ÎÛ¼ÁµÄ¿ó»¯ÂÊ(DOCÈ¥³ýÂÊ)ÔÚ53%¡«90%Ö®¼ä£¬¿ó»¯Ð§¹ûÒòÈ¥ÎÛ¼ÁÖÖÀ಻ͬ¶øÓнϴó²îÒì.UV·øÕÕʱ¼äÊÇÓ°ÏìÈ¥ÎÛ¼Á¿ó»¯Ð§¹ûµÄÖØÒªÒòËØ£¬ÔÚUV·øÕÕ90 minÄÚ£¬¿ó»¯ÂÊËæ×ÅUV·øÕÕʱ¼äµÄÑÓ³¤¶øÔö´ó£¬È¥³ýÂÊÇúÏß·ûºÏÒ»¼¶·´Ó¦¶¯Á¦Ñ§·½³Ì.·ÏË®³õʼpHÖµ¶ÔÑõ»¯Ð§¹ûµÄÓ°Ïì²»ÏÔÖø£¬¶Ô·ÏË®Ñõ»¯´¦Àíǰ¿É²»ÐèÒªµ÷½ÚpHÖµ;H2O2/DOC±ÈÖµ¶ÔÑõ»¯Ð§¹ûÓÐÓ°Ï죬¶ÔÈ¥ÎÛ¼ÁCµÄ×î¼Ñ±ÈÀýΪ0.03 mL ¡¤ mg-1.ÓÉ´Ë¿ÉÖª£¬UV/H2O2¼¼ÊõÄܸßЧ¿ó»¯·ÏË®ÖеıíÃæ»îÐÔ¼Á³É·Ö£¬H2O2 /DOC±ÈÖµºÍUV·øÕÕʱ¼äÊÇÓ°ÏìÈ¥³ýЧÂʵĹؼüÒòËØ.














