电镀和线路板是耗水大户,在多个复杂的生产环节之间,都要进行清洗,多层线路板甚至有超过40多个清洗环节。按照环保法规要求,PCB工厂都有三废治理的,但现在注重的是末端治理。由于一些工厂建设时环保投入不足或后期运行不正常,如治废设施不全、技术措施不当、为节省治废成本等,未能做到达标排放,引起严重环境污染。
要解决企业的环保和效益矛盾,必须开发清洁生产的装备和技术。运用清洁生产的理念,为线路板和电镀行业找到一条即解决环境保护有提高企业效益的工艺技术。
2.线路板废水排放环节分析
线路板有三个环节会产生重金属污染
(1)化学蚀刻铜后产生的含铜废水,覆铜板在蚀刻后需水洗,就有铜离子留在清洗后废水中;
(2)基板清洗水,含有少量有机物与金属铜,这是版面残留油墨类有机物和微蚀刻附带的铜离子留在清洗后废水中;
(3)化学沉铜与电镀产生的含铜废水,电镀或化学镀镍、金、锡等金属产生的含金属废水,PCB生产中都要经过水清洗,排放的清洗水中都会含有这些金属离子。
如以一个大型的月产量3万m2多层PCB的工厂为例,大约每月耗水9万t,用电约450kWh,耗用金属铜约18t。每月会有排放废水约7万t,废水中含有铜、COD需要进行处理后才能排放,经处理后排放废水中会含铜总量约140kg,含COD总量约3.5万kg。两外还产生含金属铜等污染物的废液近1000t,还有含铜废基板和泥渣约100万吨,需要回收金属物,如回收利用充分可有10t多铜得到再生。
3.电镀线路板耗水国内外发展现状
我国的线路板和电镀清洁生产国家标准,对电镀和线路板行业废水产生量进行了明确的规定,以线路板四层板为例,每平方米耗水量,国内一般水平为2.1t,国内先进水平为1.7t,国际先进水平为1.1t。说明国际上也没有推广“零排放"工艺技术。也说明线路板节水还有很大的空间。
电镀和线路板高耗水的根本原因,就是在不同的工序之间,需要将零件清洗干净才能够保证质量。在过去不关心水耗的时期,耗水量都非常大。造成重金属污染的原因,是电镀后的零件清洗,将镀液带入到废水中所致。
“零排放"是行业的一个期望,也有报道提出了各种各样的解决方案,其技术路线也大体相当,就是先尽可能节省清洗水量,再利用蒸发方法将清洗水蒸发掉。从收集到的国内外资料看,这条技术路线是合理的。进一步深入的分析发现,这条清洗的技术路线没有得到实施的原因,就是运行成本太高,无法满足企业的要求。
4.电镀线路板水资源利用新趋势
总结国内外的专利技术资料和研究报告及一些企业的实践,有下列方案:
4.1节水方案
(1)采用喷淋方法(喷淋的水量等于蒸发量)。
(2)采用多级逆流减少清洗水量,有报道称7级逆流可以实现清洗水量等于蒸发量,从而实现清洗水量的最小化。逆流清洗是清洁生产规定的清洗方式,也是几乎所有企业采用的方式。
4.2减少重金属污染方法
(1)蒸发浓缩,浓缩后成为固体或者再次循环利用。
(2)树脂吸附,再生,将废水中的重金属吸附在树脂中,通过再生,电解回用。
(3)高温电镀增加回收槽,直接回收带出液。
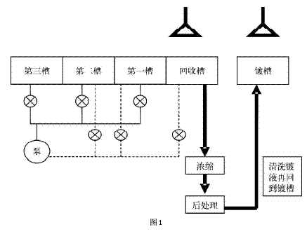
以上方案都是有效的方案,也各自独立、分散的在一些企业运用,但还未发现一家企业综合运用所有的技术。如图1所示。

说明:
(1)增加喷淋减少带出液(直接回收90%的带出液到渡槽,目前的工艺,没有这个环节,而是靠自然停留滴落,直接回收的带出液最多仅为30%);
(2)增加一个喷淋回收槽(再回收90%的带出液,目前低温电镀没有这个环节,高温电镀可以回收50%带出液);
(3)三槽间歇式清洗(非连续进水,耗水量仅为目前采用的连续逆流清洗的30%一下,目前国内仅有个别企业采用,处于实验研究阶段);
(4)增加高效浓缩装置,将高浓度的清洗水浓缩到可以回收渡槽的浓度(目前没有运用,是回收重金属不许的环节);
(5)增加一个浓缩后处理装置,将浓缩后的清洗水经过处理后可以直接加入到渡槽,这事将重金属资源循环利用的的技术。(目前高温电镀后设置的回收槽,是直接将回收液倒回渡槽,回收液可能会影响渡槽的质量,且完全是靠操作人员的经验控制。低温没有回收槽,全部带出液排放到废水处理站)
从技术的角度看,要实现电镀工序废水“零排放"的目标,并不困难,真正的难题是如何实现整套装置的低成本和运行费用的低成本。也是目前的技术研发点。














