矿山酸性废水pH低且含有大量重金属,若未经处理排入江河湖泊会导致水质酸化,降低水体的自净功能。目前处理矿山酸性废水的方法主要有中和法、硫化物沉淀法、离子交换法、吸附法、膜分离法、人工湿地法和微生物法等。中和法工艺简单、处理成本低,但效果较差、沉渣量大;硫化物沉淀法效果好,但处理流程长,价格昂贵;离子交换法适于处理污染物浓度低、水量小、出水要求高的废水,故适合作为深度处理方法;膜分离法还处于起步阶段,且投资较大;人工湿地法在一些发达国家被广泛用来处理矿山酸性外排水,该法投资少,运行费用低,但占地面积大,受环境因素影响明显,酸度较高时处理废水有一定的局限性;生物法的研究多处在实验室阶段,尚未大规模普及。而吸附法因吸附剂对水量及水质变化有较强的抗冲击能力,且吸附后可以再生,不易造成二次污染,来源广泛,有较好的经济性。近年来,利用吸附剂处理重金属废水成为研究热点,其中又以一些新型价廉的环境矿物吸附材料和农林废弃物的研发应用成为目前研究的重点。国内外一些研究表明,粉煤灰、膨润土、花生壳、木材锯屑、椰壳粉等对重金属离子具有较好的吸附效果,但仍然存在一些问题,如如何提高粉煤灰、膨润土的吸附容量、灰水分离和处理等。
笔者以广东省清远市某金矿区废水为研究对象,在充分调研和参考前人研究的基础上,以石灰作为中和剂,花生壳、改性花生壳、玉米芯、粉煤灰+花生壳作为吸附剂,对模拟含重金属酸性废水进行处理。试验选用的中和剂和吸附剂来源较广泛,价格低廉,用于处理含重金属酸性废水具有一定的应用价值。
1 材料与方法
1.1 试验材料
试验所用水样采自广东省清远市某金矿区排水,石灰从市场购买,粉煤灰取自广州某燃煤电厂,花生壳、玉米芯从某农贸市场购买。将花生壳、玉米芯洗净、烘干,用粉碎机粉碎过2 mm筛,用密封袋保存备用。粉煤灰和石灰的理化性质见表 1。
表1 粉煤灰和石灰理化性质
1.2 改性花生壳的制备
花生壳的改性方法有酸改性法、碱改性法、有机化合物改性法等,目的是增加其表面的阴离子基团,目前应用最多的是酸改性法。改性花生壳的制备步骤如下:称取50 g过2 mm筛并经水洗的花生壳,置于2.5 L大烧杯中,加入500 mL 1 mol/L磷酸溶液,搅拌1 h,离心去除液体部分,在50 ℃下烘干,然后升温至180 ℃加热1.5 h。经上述处理后的花生壳用75 ℃去离子水清洗去除游离的磷酸,然后在50 ℃下烘干备用。
1.3 试验方法
(1)石灰中和。采取3组不同梯度投加量的石灰进行中和,投加量分别为10、20、30 g/L。取500 mL废水置于1 000 mL锥形瓶,按设置的不同投加量把石灰投加到尼龙袋,然后放入废水中,在恒温振荡机上振荡1 h后过滤,收集滤液,测定pH和重金属含量。分析石灰投加量对废水pH和各类重金属去除率的影响。
(2)吸附剂吸附。参考前人研究成果,当生物质吸附剂的用量为10~20 g/L时对重金属有较好的去除效果,基于此,对吸附剂的投加量进行设计,见表 2。取上一步石灰中和后的水样200 mL置于 500 mL锥形瓶中,按表 2的投加量将吸附剂置于尼龙袋中,然后放入废水中,在恒温振荡机上振荡1 h后过滤,收集滤液,测定pH和重金属含量。
表2 不同吸附剂的投加量
所有试验均设置空白对照和重复试验,废水中的重金属采用HNO3-HClO4消解,等离子光谱仪(ICP-OES,OPTIMA 5300DV)测定消解液中重金属含量。所得数据均为各重复试验的平均值,原始数据的整理由Excel软件完成,采用Origin 8.0软件作图。
2 结果与讨论
2.1 废水水质分析
对采集的矿区水样进行分析,结果见表 3。
表3 废水水质检测结果
由表 3可知,该水样呈强酸性,总氮、SO42-、As、Cd、Pb、Zn均不同程度地超过地表水Ⅲ类标准要求(GB 3838—2002)。可见该水样属于典型的重金属污染矿山酸性废水。
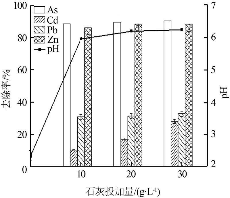
2.2 石灰投加量对pH的影响及对重金属的去除效果
石灰投加量对废水pH的影响及对重金属的去除效果如图 1所示。从图 1可以看出,投加石灰后水样pH显著上升,当石灰投加量为20 g/L时,pH升高到6.21,已达到地表水Ⅲ类标准规定的pH(6~9),说明石灰能较好地中和酸性废水。
图 1 石灰投加量对废水pH和重金属去除效果的影响
投加石灰中和处理后,各组处理废水中As、Cd、Pb、Zn含量如表 4所示。从图 1、表 4可以看出,石灰对As、Cd、Pb、Zn都有一定的去除效果,其中对As和Zn的去除效果最好,从去除率看As>Zn>Pb>Cd。当石灰投加量为20g/L时,对As、Zn的去除率分别达到89.7%、88.5%,对Cd、Pb的去除率分别为16.8%、31.4%。这可能是由于石灰与重金属离子形成了氢氧化物沉淀,减少了废水中的重金属含量。石灰投加量的增加对重金属离子去除率的提高并不明显。这可能是因为石灰投加量增加使废水达到饱和状态,生成较多的重金属氢氧化物——矾花,使得中和渣体积增大,沉降速度降低,同时石灰有可能被沉淀包裹,降低了去除效果。由于废水中重金属含量比较高,经石灰中和处理后出水水质仍然达不到地表水Ⅲ类标准,因此需进一步处理。
表4 石灰中和处理后废水的重金属质量浓度
2.3 吸附剂对pH的影响
按照表 2的投加量,采用不同吸附剂对20 g/L石灰处理后的水样进行吸附,吸附完成后废水pH的变化情况如图 2所示。从图 2可以看出,花生壳和改性花生壳对废水pH的影响较小,而玉米芯和花生壳混合粉煤灰对废水pH有一定影响,当花生壳与粉煤灰按质量比2∶1投加后,废水pH升高到6.63,说明粉煤灰能一定程度地提高废水pH。这可能是因为粉煤灰中还含有CaO和其他少量碱金属氧化物及碱土金属氧化物,会使溶液呈碱性,从而提高废水pH。高伟等认为pH对吸附剂吸附重金属有较强影响,当pH较低时大量的H+会占据金属离子的吸附位置,导致吸附剂对重金属离子的吸附能力较低,pH过高时金属离子又易生成氢氧化物沉淀,也不利于吸附的进行。
图 2 吸附剂对废水pH的影响
2.4 吸附剂对重金属的去除效果
采用不同吸附剂对20 g/L石灰处理后的水样进行吸附,处理完成后废水中重金属含量和去除率如表 5所示。从表 5可以看出,4种吸附剂对重金属都有一定的去除效果,其中对Pb和Zn的去除效果最好,投加一定量的吸附剂能使Pb、Zn的含量低于地表水Ⅲ类标准要求值。当吸附剂投加量为20 g/L时,不同吸附剂对As、Cd的去除效果为花生壳+粉煤灰>改性花生壳>花生壳>玉米芯;对Pb的去除效果为花生壳+粉煤灰>玉米芯>改性花生壳>花生壳;对Zn的去除效果为花生壳+粉煤灰>花生壳>改性花生壳>玉米芯。由此可见,花生壳+粉煤灰对重金属的去除效果最好,改性花生壳对As、Cd、Pb的去除效果比花生壳好。这可能是因为花生壳中含有儿茶酚、焦性没食子酸和间苯三酚等多元酚以及大量的纤维素类物质,对重金属具有较强的吸附能力。相关研究也证实花生壳等对重金属有较好的吸附能力。在本试验条件下,投加一定量的吸附剂对As、Pb、Zn的去除率可达到60%以上。
农林废弃物如花生壳、玉米芯、秸秆等表面粗糙、内部多孔,含有羟基、酚羟基、羧基、氨基等基团,有利于对重金属的吸附;废弃物中的H+、Ca2+、Mg2+等有利于与污染物离子发生离子交换,且农林废弃物中含有高活性的化学基团,对其进行改性和化学修饰可提高官能团的数量或增加新的官能团。章明奎等研究发现非活体生物质对重金属都有较高吸附能力,5种生物质吸附重金属的能力依次为:花生壳>松树树皮>玉米芯>水稻谷壳>茶叶。用碱、柠檬酸和磷酸对生物质进行改性可显著增强其对重金属的去除能力,通过化学改性不仅可在农林废弃物中引入羧基,还可将巯基、磷酸根、硫酸根、胺基等其他吸附金属能力强的活性基团引入农林废弃物中,从而提高其对重金属的吸附能力,笔者的研究结果也证实了这一点。
花生壳混合粉煤灰能显著提高对重金属的去除率,可能是因为粉煤灰表面积大,同时含有大量Al、Si等氧化物及少量Fe、Ca等氧化物,具有活性基团,因而具有很好的吸附性能。花生壳和粉煤灰各自都有一定吸附能力,混合投加后吸附性能得到一定程度的改善,因此可增强其对重金属的去除效果。试验结果表明,废水经石灰中和处理后,再用花生壳+粉煤灰吸附,对As、Cd、Pb、Zn的去除率分别达到96.5%、44.9%、85.4%、97.2%,当投加量适宜时,能使废水中的Pb、Zn等达到地表水Ⅲ类标准限值,且材料来源比较广泛,价格低廉,以废治废,具有良好的环境效益。。
3 结论
(1)该矿区废水呈强酸性,重金属As、Cd、Pb、Zn均不同程度地超过地表水Ⅲ类标准(GB 3838— 2002)要求,As最高超标倍数达到50.2倍。(2)采用石灰中和处理后,废水pH显著升高,同时石灰对As、Cd、Pb、Zn都有一定的去除效果。(3)当投加量为20 g/L时,不同吸附剂对As、Cd、Zn的去除效果为花生壳+粉煤灰>改性花生壳>花生壳>玉米芯;对Pb的去除效果为花生壳+粉煤灰>玉米芯>改性花生壳>花生壳。可见花生壳+粉煤灰对重金属的去除效果最好,花生壳经改性能一定程度地提高对重金属的吸附。(4)矿区废水经石灰中和处理后,再用花生壳+粉煤灰吸附,废水pH升高至6.63,重金属As、Cd、Pb、Zn的去除率达到96.5%、44.9%、85.4%、97.2%。粉煤灰、花生壳为工农业废弃物,来源较广泛,价格低廉,具有良好的经济效益和环境效益。














